Kontaktformular
Whatsapp
Warenkorb
Hamburger Icon

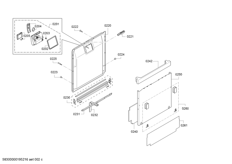
Ersatzteile für Siemens SN558S16PE/35

Marke
Siemens
Modell
Modellnummer
SN558S16PE/35
Modellreihe
Kategorie
Geschirrspüler
  • Diagnose
  • Fehlercodes

Diagnose

Fehlercodes

Position data Position number Product category ids
Türdichtung 1-seitig unten 00668079 668079 Bosch, Siemens, Neff, Küppersbusch
156141

Türdichtung unten BOSCH 00668079 für Geschirrspüler

Untere 1-seitige Schürzendichtung inklusive Dichtkappen und 2 Halteklammern.
Diese schwarze Gummidichtung für die Spülmaschine ist u.a. auch passend wie Küppersbusch 436645

Türdichtung
5be304e4b1264abb899df2e434e01a2c,436592444c584ad1b5a679fc5ac3ef73,275b77c77344470ea771c19b8b2780c9,916ee1c443ef40e4851d064c573dca26
Heizpumpe BOSCH 00755078 730.60010.09 für Geschirrspüler
172830

Heizpumpe BOSCH 00755078 730.60010.09 für Geschirrspüler

Heizpumpe inklusive Schlauchschelle
Sie wurde z.T. in die gleichen Geräte wie Heizpumpe 12019637 eingebaut - bitte Muster bzw. Aufschrift vergleichen.

Heizelement
5be304e4b1264abb899df2e434e01a2c,436592444c584ad1b5a679fc5ac3ef73,275b77c77344470ea771c19b8b2780c9,1c35d1dd9f3c49b5a64535a632fbcdf9
Ablaufpumpe Bosch 00631200 Copreci Pumpenmotor für Geschirrspüler 441851
191258

Ablaufpumpe BOSCH 00631200 Copreci Pumpenmotor für Geschirrspüler

Magnettechnikpumpe mit Bajonettbefestigung. Passend u.a. auch wie Küppersbusch 441851

Pumpe
5be304e4b1264abb899df2e434e01a2c,436592444c584ad1b5a679fc5ac3ef73,275b77c77344470ea771c19b8b2780c9,a6fc36f119c94834891177d39aebb5e1
Dichtung für Pumpentopf BOSCH 12005744 182mmØ in Geschirrspüler
157777

Dichtung für Pumpentopf BOSCH 12005744 182mmØ in Geschirrspüler

Reparatursatz Pumpentopfdichtung inklusive 4 x Schrauben (19 x 8 mm) und Draht zur Montage der Dichtung.

Dichtungen,Pumpentopf
5be304e4b1264abb899df2e434e01a2c,436592444c584ad1b5a679fc5ac3ef73,275b77c77344470ea771c19b8b2780c9,3e9cf2ee74bd425fac13ec3e5bed7e89,52b45f6243cc407d9ed0adb1c879be11
Türscharnierfedern SIEMENS 00754869 Reparatursatz mit Seilzügen für Geschirrspüler
157846

Türscharnierfedern und Seilzüge -Reparatursatz 00754869
Bestehend aus 2 x Feder Farbcode schwarz, 2 x Seilzug, 1 x Montageanleitung und 1 x Aufkleber ("R").

► Original Reparatursatz für Türen von Spülmaschinen aus dem Hause BSH: Kompatibel mit Spülmaschinen von BOSCH/ SIEMENS/ NEFF. Vertrauen Sie der Herstellerqualität.

► Maße Federn (L/B/T): 128 x 34 x 30 mm

► Maße Seilzüge (L/B/H): 315 x 20 x 8 mm

► Bitte beachten: Zwingend beide Bauteile: Seilzug und Feder tauschen, nicht nur eines der Bauteile ersetzen. Nur so kann garantiert werden dass die Reparatur langfristig besteht.

► Bitte prüfen Sie anhand der Typennummer Ihres Gerätes, ob dieser Reparatursatz kompatibel ist. Ermitteln Sie dazu zunächst die Typennummer Ihres Geschirrspülers und geben Sie diese ohne Leerzeichen unten in die Suchleiste unter "Geräte für welches dieses Ersatzteil passt", ein. Sollten Sie sich nicht sicher sein, nutzen Sie bitte unsere Chatfunktion oder schreiben Sie uns eine Nachricht. Unsere Experten beraten Sie gern!

► Dieser Reparatursatz enthält alle notwendigen Bauteile um eine herunterfallende Spülmaschinentür zu reparieren. Führen Sie eine Fehlerdiagnose anhand des Videos durch. Wir zeigen Ihnen wo sich die defekten Seilzüge und Federn befinden und wie diese getauscht werden.

Türscharnier
5be304e4b1264abb899df2e434e01a2c,436592444c584ad1b5a679fc5ac3ef73,275b77c77344470ea771c19b8b2780c9,8c476ac1fee2492eac0ace43254db03a
Ventil für Wassertasche unten BOSCH 11033896 in Geschirrspüler 00631199
407888

Ventil für Wassertasche unten BOSCH 11033896 in Geschirrspüler

Elektroventil bzw. Ablaufventil mit Folie für den Wärmetauscher bzw. die seitliche Wassertasche.
Passend u.a. auch wie Küppersbusch 441849

Dieses Ersatzteil passt exakt wie das Vorgänger-Teil mit der Herstellernummer 00631199

Magnetventil
5be304e4b1264abb899df2e434e01a2c,436592444c584ad1b5a679fc5ac3ef73,275b77c77344470ea771c19b8b2780c9,5e7747f201f9403da8ffbb5186d3c28b
ersatzteilshop basics Reparatursatz Pumpentopf für Spülmaschinen - 182mmØ wie 12005744
368289

Reparatursatz Pumpentopfdichtung für Bosch/ Siemens/ Neff Geschirrspüler unserer Hausmarke ersatzteilshop basics

Der Fehler E15 bei BOSCH/ SIEMENS/ NEFF und Constructa Geschirrspülern kommt leider bei einer Vielzahl an Geräten vor. Dieser Fehler bedeutet, dass sich Wasser in der Bodenwanne befindet. Selbstverständlich reicht es nicht aus das Wasser aus dem Gerät zu entfernen, sondern man sollte auch die Ursache beseitigen.

Sehr oft ist der Pumpensumpf des Gerätes für den Fehler verantwortlich. Dieser kann sich bei sehr hohen Temperaturen verziehen und dadurch kommt es zum Wasseraustritt. Um dieses Problem zu lösen, bieten wir Ihnen einen Reparatursatz in 100%iger Erstausrüster Qualität an.

  • Reparaturset Pumpensumpf 182mmØ wie Teilenummer BSH: 12005744, 12026667
  • 100% Erstausrüsterqualität
  • Lieferumfang: 2x Pumpentopfdichtung inklusive 4 x Schrauben (19 x 8 mm) und Draht zur Montage der Dichtung und einer bebilderten Anleitung
  • Bitte achten Sie auf die unten verfügbare Kompatibilitätsliste um zu erfahren ob dieser Reparatursatz für Ihre Spülmaschine geeignet ist.
Dichtungen,Pumpentopf
5be304e4b1264abb899df2e434e01a2c,436592444c584ad1b5a679fc5ac3ef73,275b77c77344470ea771c19b8b2780c9,3e9cf2ee74bd425fac13ec3e5bed7e89,52b45f6243cc407d9ed0adb1c879be11
Ablaufschlauch 19/19mmØ 2,29m BOSCH 00668114 für Geschirrspüler
156143
Ablaufschlauch 19/19mmØ 2,29m BOSCH 00668114 für Geschirrspüler

Entleerungsschlauch mit Gummi-Endstücken gerade/gerade. Inklusive Schlauchschelle.
Info: Es ist besonders auf den Durchmesser des Endstücks zu achten, das im Geräteinneren angeschlossen wird. Schlauch
5be304e4b1264abb899df2e434e01a2c,436592444c584ad1b5a679fc5ac3ef73,275b77c77344470ea771c19b8b2780c9,40ee0815bd1042dfa6b07fc66864eca1
Türdichtung 3-seitig 00263096 263096 Bauknecht, Whirlpool, Ikea, Bosch, Siemens,
153327
Türdichtung BOSCH 00263096 dreiseitig für Geschirrspüler

Türdichtung
5be304e4b1264abb899df2e434e01a2c,436592444c584ad1b5a679fc5ac3ef73,275b77c77344470ea771c19b8b2780c9,916ee1c443ef40e4851d064c573dca26
Verriegelung 10006917 Siemens Bosch
328630
Türschloss Bosch 10006917 Türverriegelung emz für Geschirrspüler

Passend u.a. auch wie Küppersbusch 443046 Türschloss
5be304e4b1264abb899df2e434e01a2c,436592444c584ad1b5a679fc5ac3ef73,275b77c77344470ea771c19b8b2780c9,56ef51792b4f42aab29cae33f433612e
Besteckkorb für Unterkorb universal teilbar für 45cm 60cm Geschirrspüler
339200
Besteckkorb für Unterkorb universal teilbar für 45cm 60cm Geschirrspüler

Universal: Universell einsetzbarer Alternativartikel. Bitte Maße vergleichen.
Da der Korb teilbar ist, ist er für fast alle Spülmaschinen mit 45cm sowie 60cm Gerätebreite verwendbar.
Zum Lösen der 2 Körbe schieben sie diese einfach horizontal auseinander.
Der Griff kann umgeklappt werden. Besteckkorb
5be304e4b1264abb899df2e434e01a2c,436592444c584ad1b5a679fc5ac3ef73,275b77c77344470ea771c19b8b2780c9,95f1235cef6842fd8204f1fb4ca40fa1
Klarspülkammerdeckel rechteckig 00611575 611575 Bosch, Siemens, Neff
156107

Klarspülkammerdeckel BOSCH 00611575 rechteckig für Dosierkombination Geschirrspüler

Deckel mit Dichtung.

Dosierkammer
5be304e4b1264abb899df2e434e01a2c,436592444c584ad1b5a679fc5ac3ef73,275b77c77344470ea771c19b8b2780c9,51d1adca2c4b4c208fb873979695daf0
Ablaufpumpe wie BOSCH 00631200 Copreci für Geschirrspüler
10102924

Ablaufpumpe wie BOSCH 00631200 Copreci für Geschirrspüler

AlternativTeil passend u.a. wie BSH-Gruppe/Bosch.. 00631200 , Küppersbusch 441851
Die Abwasserpumpe der Spülmaschine ist unten am Pumpentopf eingebaut.

Pumpe
5be304e4b1264abb899df2e434e01a2c,436592444c584ad1b5a679fc5ac3ef73,275b77c77344470ea771c19b8b2780c9,a6fc36f119c94834891177d39aebb5e1
Pumpentopf 00668102 668102 Bosch, Siemens, Neff 11002716
155438

Pumpentopf BOSCH 00668102 für Geschirrspüler

OT: OriginalTeil BSH-Gruppe/Bosch/Siemens.. 00668102
Pumpentopf komplett mit Dichtung und Rückschlagventil.

Dieses Ersatzteil passt exakt wie das Vorgänger-Teil mit der Herstellernummer 11002716

Pumpentopf
5be304e4b1264abb899df2e434e01a2c,436592444c584ad1b5a679fc5ac3ef73,275b77c77344470ea771c19b8b2780c9,52b45f6243cc407d9ed0adb1c879be11
Türschloss BOSCH 10006917 Türverriegelung emz für Geschirrspüler
336886
Türverriegelung
5be304e4b1264abb899df2e434e01a2c,47067e90b5dc4b1d9f40bc3cdd7c85c3,3017057ce80b4d85aae42a1e4928e81a,0b590cb971884215b595b6ce022dd676
Korbablagen-Lagerset für Oberkorb , 2 Stück 00611474 611474 Bosch, Siemens, Neff
155843

Korbablagen-Lager für Oberkorb für Geschirrspüler 2 Stück

OT: OriginalTeil BSH-Gruppe/Bosch/Siemens.. 00611474.
2 Klammern für die Klappstachelreihen im Oberkorb. Inklusive Montageanleitung.
Passend auch wie Küppersbusch 436754.

Geschirrkorb
5be304e4b1264abb899df2e434e01a2c,436592444c584ad1b5a679fc5ac3ef73,275b77c77344470ea771c19b8b2780c9,dc70c27085934cb5acc4cd088fc0a361
Sprüharm oben BOSCH 11010054 mit Rohr für Geschirrspüler
215589
Sprüharm oben komplett
Bosch, Siemens, Neff 11010054 - Original Ersatzteil für Geschirrspüler
mit Sprüharmrohr, eingesetzt in Spülmaschinen

Originalteil: BSH-Gruppe/Bosch 11010054

Sprüharm
5be304e4b1264abb899df2e434e01a2c,436592444c584ad1b5a679fc5ac3ef73,275b77c77344470ea771c19b8b2780c9,8a26d46fbdc34633b4fe038be27b486c
Drehschieber BOSCH 00644996 Stellventil für Heizpumpe Geschirrspüler
157770
Drehschieber BOSCH 00644996 Stellventil für Heizpumpe Geschirrspüler

Mit Dichtung (Außen-Ø: 96 mm x Innen-Ø 93 mm x Höhe 3 mm) und Schlauchschelle (28 - 39 mm, 5 mm Bandbreite).
Passend u.a. auch wie Küppersbusch 436680. Pumpe
5be304e4b1264abb899df2e434e01a2c,436592444c584ad1b5a679fc5ac3ef73,275b77c77344470ea771c19b8b2780c9,a6fc36f119c94834891177d39aebb5e1
Seilzugführung, Set rechts / links 00623536 623536 Bosch, Siemens, Neff
157312

Seilzugführung, Set rechts / links eingesetzt in Spülmaschinen

Originalteil BSH-Gruppe/Bosch/Siemens 00623536

Türscharnier
5be304e4b1264abb899df2e434e01a2c,436592444c584ad1b5a679fc5ac3ef73,275b77c77344470ea771c19b8b2780c9,8c476ac1fee2492eac0ace43254db03a
Sieb Set wie BOSCH 00645038 für Geschirrspüler
10103384

Sieb Set wie BOSCH 00645038 für Geschirrspüler

AlternativTeil passend u.a. wie BSH-Gruppe/Bosch.. 00645038 , Küppersbusch 436716
Das graue Grobsieb aus Kunststoff und der graue äußere Mikrofilter bzw. das Feinsieb sind unten im Innenraumboden in der Spülmaschine eingesetzt.

Sieb
5be304e4b1264abb899df2e434e01a2c,436592444c584ad1b5a679fc5ac3ef73,275b77c77344470ea771c19b8b2780c9,6203423ecb63427694d641813b307aa8
Sieb Set BOSCH 00645038 2-teilig für Geschirrspüler
156850

Sieb Set BOSCH 00645038 2-teilig für Geschirrspüler

Grobsieb + Mikrofilter

Sieb
5be304e4b1264abb899df2e434e01a2c,436592444c584ad1b5a679fc5ac3ef73,275b77c77344470ea771c19b8b2780c9,6203423ecb63427694d641813b307aa8
Kabel Spülmaschinen-Anschlusskabel grau, OT! 00645033 645033 Bosch, Siemens, Nef
156122
Anschlusskabel 1750mm BOSCH 00645033 für Geschirrspüler

Diese graue Zuleitung ist u.a. auch passend wie Küppersbusch 436707
Länge: 1750 mm Anschluss
5be304e4b1264abb899df2e434e01a2c,436592444c584ad1b5a679fc5ac3ef73,275b77c77344470ea771c19b8b2780c9,ccde26b0e22a400c890604807c43a7da
Gerätefuß BOSCH 00631221 weiß vorne 105mm für Geschirrspüler
302066

Gerätefuß BOSCH 00631221 weiß vorne 105mm für Geschirrspüler

Nur vorne montieren!
Schlüsselweite 13. Passend auch wie Küppersbusch 441853

Sockel
5be304e4b1264abb899df2e434e01a2c,436592444c584ad1b5a679fc5ac3ef73,275b77c77344470ea771c19b8b2780c9,6f6cb264a587449d8d5189e2be8578e3
Schwimmer für Auffangschale Bosch 00622036 für Geschirrspüler
172949
Schwimmer für Auffangschale Bosch 00622036 für Geschirrspüler

OT: OriginalTeil BSH-Gruppe/Bosch/Siemens.. 00622036.
Passend auch wie Küppersbusch 436696. Schwimmerschalter
5be304e4b1264abb899df2e434e01a2c,436592444c584ad1b5a679fc5ac3ef73,275b77c77344470ea771c19b8b2780c9,191694f1018047a6a51c5a9e8a38268b
Wasserschmutzsensor optisch 00611323 611323 Bosch, Siemens, Neff
156848

Wasserschmutzsensor Bosch 00611323 für Geschirrspüler

BSH-Gruppe/Bosch/Siemens.. 00611323.
Inklusive O-Ring. Dieser optische Wasserindikator befindet sich am Pumpentopf (Ablaufschacht , Sammeltopf. Der innenliegende Lichtsensor misst den Schmutzgrad des Wassers und stellt die Spültemperatur zwischen 40°C und 70°C ein. (Manche Geräte regeln auch den Wasserstand über einen solchen Sensor; dies geschieht aber nur optisch.)

Steuerung
5be304e4b1264abb899df2e434e01a2c,436592444c584ad1b5a679fc5ac3ef73,275b77c77344470ea771c19b8b2780c9,a0310176b38b40b4be1c70508f25f455
Oberkorbeinsatz BOSCH 00701353 Messerablage für Geschirrkorb oben Geschirrspüler
212063

Oberkorbeinsatz BOSCH 00701353 Messerablage für Geschirrkorb oben Geschirrspüler

Passend auch u.a. wie Küppersbusch 437789

Geschirrkorb
5be304e4b1264abb899df2e434e01a2c,436592444c584ad1b5a679fc5ac3ef73,275b77c77344470ea771c19b8b2780c9,dc70c27085934cb5acc4cd088fc0a361
Ausgleichsleiste SIEMENS 00749705 3erSet für integrierte Geschirrspüler
240448
Ausgleichsleiste SIEMENS 00749705 3erSet für integrierte Geschirrspüler

Gehäuseteile
5be304e4b1264abb899df2e434e01a2c,436592444c584ad1b5a679fc5ac3ef73,275b77c77344470ea771c19b8b2780c9,6f364c83e8954316926998e24fee04f5
Türmontagesatz BOSCH 00618833 für integrierte Geschirrspüler
157004

Türmontagesatz BOSCH 00618833 für integrierte Geschirrspüler

Dieser Einbausatz für die Außentüre an integrierten und vollintegrierten Spülmaschinen ist u.a. auch passend wie Küppersbusch 436650

Tür
5be304e4b1264abb899df2e434e01a2c,436592444c584ad1b5a679fc5ac3ef73,275b77c77344470ea771c19b8b2780c9,b3a18cc8734147fcaa878cba5c92088e
Türdichtung unten wie BOSCH 00668079 für Geschirrspüler
10102199

Türdichtung unten wie BOSCH 00668079 für Geschirrspüler

AlternativTeil passend u.a. wie BSH-Gruppe/Bosch.. 00668079 , Küppersbusch 436645
Untere 1-seitige schwarze Schürzendichtung inklusive grauen Dichtkappen für links und rechts.
Dieser Dichtstreifen dichtet die Spülmaschinen-Türe unten ab.

Türdichtung
5be304e4b1264abb899df2e434e01a2c,436592444c584ad1b5a679fc5ac3ef73,275b77c77344470ea771c19b8b2780c9,916ee1c443ef40e4851d064c573dca26
Pumpendeckel für Ablaufpumpe 00611322 611322 Bosch, Siemens, Neff
155609

Pumpendeckel für Ablaufpumpe Bosch 00611322 für Geschirrspüler

OT: OriginalTeil BSH-Gruppe/Bosch/Siemens.. 00611322
Befindet sich zwischen der Ablaufpumpe (z.B. BSH-Nr. 00620774) und dem Pumpentopf (z.B. BSH-Nr. 00702507). Passend auch wie Küppersbusch 436676.

Pumpe
5be304e4b1264abb899df2e434e01a2c,436592444c584ad1b5a679fc5ac3ef73,275b77c77344470ea771c19b8b2780c9,a6fc36f119c94834891177d39aebb5e1
Sprüharm oben 11012631 für Bosch und Siemens Geschirrspüler
215762
Sprüharm
5be304e4b1264abb899df2e434e01a2c,436592444c584ad1b5a679fc5ac3ef73,275b77c77344470ea771c19b8b2780c9,8a26d46fbdc34633b4fe038be27b486c
Lagerbuchse für Spannrolle für Zugseil 00165296 165296 Bosch, Siemens, Neff
155945

Lagerbuchse BOSCH 00165296 für Spannrolle für Zugseil in Geschirrspüler

Passend u.a. auch wie Küppersbusch 426479

Türscharnier
5be304e4b1264abb899df2e434e01a2c,436592444c584ad1b5a679fc5ac3ef73,275b77c77344470ea771c19b8b2780c9,8c476ac1fee2492eac0ace43254db03a
Ablaufschlauch wie BOSCH 00668114 2,29m 19/19mmØ für Geschirrspüler
399465
Ablaufschlauch wie BOSCH 00668114 2,29m 19/19mmØ für Geschirrspüler

Alternativteil: passend u.a. wie BSH-Gruppe/Bosch 00668114 , Küppersbusch.
Entleerungsschlauch mit Gummi-Endstücken gerade/gerade.
Passende Schlauchschelle bzw. Klemme BSH-Nr. 00417499 bitte ggfs. separat dazu bestellen.
Info: Es ist besonders auf den Durchmesser des Endstücks zu achten, das im Geräteinneren angeschlossen wird.

Schlauch
5be304e4b1264abb899df2e434e01a2c,436592444c584ad1b5a679fc5ac3ef73,275b77c77344470ea771c19b8b2780c9,40ee0815bd1042dfa6b07fc66864eca1
Zulaufschlauch Aquastop 1,68m wie BOSCH 00668113 für Geschirrspüler
10100686
Zulaufschlauch Aquastop 1,68m wie BOSCH 00668113 für Geschirrspüler

AlternativTeil passend u.a. wie BSH-Gruppe/Bosch/Siemens.. 00668113 Küppersbusch 436687
Sicherheitszulaufschlauch mit elektrischem Anschluss speziell für Spülmaschinen.
HINWEIS: Bei dieser Alternative verwenden Sie bitte die Befestigungsplatte Ihres Original-Schlauchs - beachten Sie hierzu die Reparaturanleitung.
- Länge transparenter Kunststoffschlauch: 1,68 m
- Gesamtlänge: 2 m
- Anschlussverschraubung: 3/4"
- Werte: 220/240V, 50/60Hz Schlauch
5be304e4b1264abb899df2e434e01a2c,436592444c584ad1b5a679fc5ac3ef73,275b77c77344470ea771c19b8b2780c9,40ee0815bd1042dfa6b07fc66864eca1
Abdeckung für Pumpentopf 12038407
10021830

Abdeckung 12038407 Originalersatzteil von Bosch

Originalteil von Bosch Abdeckung 12038407

Gehäuseteile
5be304e4b1264abb899df2e434e01a2c,436592444c584ad1b5a679fc5ac3ef73,275b77c77344470ea771c19b8b2780c9,6f364c83e8954316926998e24fee04f5
Pumpendeckel für Ablaufpumpe wie Bosch 00611322 BLUPARTS in Geschirrspüler
11030048
Pumpendeckel für Ablaufpumpe wie Bosch 00611322 BLUPARTS in Geschirrspüler

AlternativTeil BLUPARTS passend u.a. wie BSH-Gruppe/Bosch.. 00611322 , Küppersbusch 436676
Der Kunststoffdeckel befindet sich zwischen der Ablaufpumpe und dem Pumpentopf (auch Sumpfboden genannt) in der Spülmaschine.
Diese weiße Ausführung ist passend als Ersatz für die ggfs. eingebaute graue Version. Pumpe
5be304e4b1264abb899df2e434e01a2c,436592444c584ad1b5a679fc5ac3ef73,275b77c77344470ea771c19b8b2780c9,a6fc36f119c94834891177d39aebb5e1
Salzbehälterdeckel BOSCH 00611319 für Geschirrspüler
172950
Salzbehälterdeckel BOSCH 00611319 für Geschirrspüler

Diese Salzverschlusskappe ist auch passend wie Küppersbusch 436672. Salzbehälter
5be304e4b1264abb899df2e434e01a2c,436592444c584ad1b5a679fc5ac3ef73,275b77c77344470ea771c19b8b2780c9,e3df607a8730419d92d273dd5fd68b86
Türdichtung wie BOSCH 00263096 dreiseitig für Geschirrspüler
340731

Türdichtung wie BOSCH 00263096 dreiseitig für Geschirrspüler

Alternativteil: passend wie BSH-Gruppe/Bosch/Siemens 00263096 , Küppersbusch 426559 , Whirlpool-Gruppe 481246668665 , Gorenje 793381.

Türdichtung
5be304e4b1264abb899df2e434e01a2c,436592444c584ad1b5a679fc5ac3ef73,275b77c77344470ea771c19b8b2780c9,916ee1c443ef40e4851d064c573dca26
Gewindebolzen BOSCH 00622267 für Wassertasche Regenerierdosierung Geschirrspüler
207595

Gewindebolzen BOSCH 00622267 für Wassertasche Regenerierdosierung Geschirrspüler

Für freien Einlauf. Inklusive Gummidichtung 28/14x8mm.
Passend u.a. auch wie Küppersbusch 439826

Wassertasche
5be304e4b1264abb899df2e434e01a2c,436592444c584ad1b5a679fc5ac3ef73,275b77c77344470ea771c19b8b2780c9,606a3c15c7764c98b27b232dc083839d
Türscharnierhebel rechts 12005775 Bosch, Siemens, Neff, Küppersbusch
156121
Türscharnierhebel rechts Bosch 12005775 für Geschirrspüler

OT: OriginalTeil BSH-Gruppe/Bosch/Siemens.. 12005775.
Passend auch wie Küppersbusch 436704. Passender Scharnierhebel für links: BSH-Gruppe-Nr. 12005776. Türscharnier
5be304e4b1264abb899df2e434e01a2c,436592444c584ad1b5a679fc5ac3ef73,275b77c77344470ea771c19b8b2780c9,8c476ac1fee2492eac0ace43254db03a
Türscharnierhebel links 12005776 Bosch, Siemens, Neff, Küppersbusch
157253
Türscharnierhebel links Bosch 12005776 für Geschirrspüler

OT: OriginalTeil BSH-Gruppe/Bosch/Siemens.. 12005776.
Passend auch wie Küppersbusch 436700. Passender Scharnierhebel für rechts: BSH-Gruppe-Nr. 12005775. Türscharnier
5be304e4b1264abb899df2e434e01a2c,436592444c584ad1b5a679fc5ac3ef73,275b77c77344470ea771c19b8b2780c9,8c476ac1fee2492eac0ace43254db03a
Besteckkorb BOSCH 00743503 für Geschirrspüler
311411
Besteckkorb BOSCH 00743503 für Geschirrspüler

Dieser graue Kunststoffkorb ist im unteren Geschirrkorb der Spülmaschine eingesetzt.
Breite: 230 mm
Höhe inklusive Griff: 235 mm
Höhe ohne Griff: 124 mm
Tiefe: 158 mm Besteckkorb
5be304e4b1264abb899df2e434e01a2c,436592444c584ad1b5a679fc5ac3ef73,275b77c77344470ea771c19b8b2780c9,95f1235cef6842fd8204f1fb4ca40fa1
Drehschiebermotor an Heizpumpe 00611329 611329 Bosch, Siemens, Neff, Küppersbusc
191073
Drehschiebermotor Bosch 00611329 Stellventilmotor für Heizpumpe Geschirrspüler

Passend u.a. auch wie Küppersbusch 436681 Pumpe
5be304e4b1264abb899df2e434e01a2c,436592444c584ad1b5a679fc5ac3ef73,275b77c77344470ea771c19b8b2780c9,a6fc36f119c94834891177d39aebb5e1
Dichtung für Pumpentopf BOSCH 12026667 182mmØ in Geschirrspüler
10005735

Dichtung für Pumpentopf BOSCH 12026667 182mmØ in Geschirrspüler

Reparatursatz Pumpentopfdichtung inklusive 4 x Schrauben (19 x 8 mm).
Pumpentopf-Abdicht-Set OHNE Werkzeug und Montageanleitung ideal für BSH Kundendienst-Techniker.

Dichtungen
5be304e4b1264abb899df2e434e01a2c,436592444c584ad1b5a679fc5ac3ef73,275b77c77344470ea771c19b8b2780c9,3e9cf2ee74bd425fac13ec3e5bed7e89
Seilzug Set für Türscharnier wie BOSCH 00636603 in Geschirrspüler 2Stk
10104200
Seilzug Set für Türscharnier wie BOSCH 00636603 in Geschirrspüler 2Stk

AlternativTeil BLUPARTS passend u.a. wie BSH-Gruppe/Bosch.. 00636603 , Küppersbusch 442512
Die Seile (auch Bowdenzug genannt) sind links und rechts jeweils 1 mal in der Spülmaschine eingebaut. Türscharnier
5be304e4b1264abb899df2e434e01a2c,436592444c584ad1b5a679fc5ac3ef73,275b77c77344470ea771c19b8b2780c9,8c476ac1fee2492eac0ace43254db03a
Zulaufschlauch Aquastopschlauch 1,68m, OT! 00668113 668113 Bosch, Siemens, Neff
156142

Zulaufschlauch Aquastop 1,68m BOSCH 00668113 für Geschirrspüler

Sicherheitszulaufschlauch mit elektrischem Anschluss speziell für Spülmaschinen.
Länge (bis Befestigungsplatte): 1,68 m
Anschlussverschraubung: 3/4"

Schlauch
5be304e4b1264abb899df2e434e01a2c,436592444c584ad1b5a679fc5ac3ef73,275b77c77344470ea771c19b8b2780c9,40ee0815bd1042dfa6b07fc66864eca1
Pflegetücher für Edelstahloberflächen BOSCH 00312007 für Hausgeräte 5Stk 00311944 00311134
10005336

Pflegetücher für Edelstahloberflächen BOSCH 00312007 für Hausgeräte 5Stk

Dieses mit Spezialöl getränkten Tücher sind für die Pflege von Edelstahloberflächen von Hausgeräten besonders geeignet.
Lebensmittelunbedenklich. Inhaltsstoffe: Spezialöle.

Dieses Ersatzteil passt exakt wie das Vorgänger-Teil mit der Herstellernummer 00311944

Dieses Ersatzteil passt exakt wie das Vorgänger-Teil mit der Herstellernummer 00311134

Ofenreiniger,Ofen Reinigung,Reinigung,Kaffeemaschinen Reiniger,Spülmaschinenreiniger,Kühlschrankreiniger,Reinigung,Küchen Reinigung,Dunstabzugshaube Reinigung,Gefrierschrankreiniger,Mikrowelle Reinigung,Bügeleisenreiniger,Reinigung
5be304e4b1264abb899df2e434e01a2c,436592444c584ad1b5a679fc5ac3ef73,c8bd5292fffa461fbdc2765102d152ff,af5efa7a40c24e01be97f78cf69e215f,3e8b1c099cf3413990e68a2e635f7678,b88c45f1bc514c349708415ab0637de4,229beb38379c427bb0eba70033835818,d91042d00d574521a7aac81a167afebf,b78a4fd07db244319a0e959320868b6f,88e9f4ced7c24e0b9e8ccb452ca93f44,05578e9684de4547a38cefdca7ac4db0,12d0b8c47d4d4748bd3125c220f78354,22ec0ec558d0428f9748b1d3bf6501fc,2a96860c64ad4ae99057fa89ab490591,2d8e210fc016451e98b7e68394588b42,4efb6ad5d6874f40b2f1e161de1950b5,61fa3fd281894e6c934fb52c05323330,8c0aac3d35df4997a6ceda949b825299,919833c05fba406b8b594a3c9bd3ee8a,92b8eabc47cc4989aca22e0847d3a651,ab1b62e70e6c4dd89ecffdbbe69a8ab0,b3f1d72f09e64660950e46fb8a5d9ed4,f0dfba8c15ca474f91edd5253fae6838
Korbeinsatzklammern SIEMENS 00632374 für Unterkorb Geschirrspüler
208009
Korbeinsatzklammern SIEMENS 00632374 für Unterkorb Geschirrspüler

12-teiliges Klammerset für die Klappstachelreihen im unteren Geschirrkorb.
Passend u.a. auch wie Küppersbusch 442740 Gehäuseteile
5be304e4b1264abb899df2e434e01a2c,436592444c584ad1b5a679fc5ac3ef73,275b77c77344470ea771c19b8b2780c9,6f364c83e8954316926998e24fee04f5
Seilzug für Türscharnier BOSCH 00636603 in Geschirrspüler
208250

Seilzug für Türscharnier BOSCH 00636603 in Geschirrspüler

Dieses Seil befindet sich links sowie rechts in der Spülmaschine.

Türscharnier
5be304e4b1264abb899df2e434e01a2c,436592444c584ad1b5a679fc5ac3ef73,275b77c77344470ea771c19b8b2780c9,8c476ac1fee2492eac0ace43254db03a
Magnetventil für Sicherheitszulaufschlauch wie BOSCH 00645701 an Geschirrspüler
172574
Magnetventil für Sicherheitszulaufschlauch wie BOSCH 00645701 an Geschirrspüler

AlternativTeil passend u.a. wie BSH-Gruppe/Bosch/Siemens.. 00645701 , Küppersbusch 436688
Reparatursatz für den Sicherheitszulaufschlauch wie z.B. BSH-Nr. 00668113 Magnetventil
5be304e4b1264abb899df2e434e01a2c,436592444c584ad1b5a679fc5ac3ef73,275b77c77344470ea771c19b8b2780c9,5e7747f201f9403da8ffbb5186d3c28b
Pflegeöl für Edelstahloberflächen BOSCH 00311945 100ml 00311567 00311135
377204
Pflegeöl für Edelstahloberflächen BOSCH 00311945 100ml

Dieses Ersatzteil passt exakt wie das Vorgänger-Teil mit der Herstellernummer 00311567

Dieses Ersatzteil passt exakt wie das Vorgänger-Teil mit der Herstellernummer 00311135

Spülmaschinenreiniger
5be304e4b1264abb899df2e434e01a2c,436592444c584ad1b5a679fc5ac3ef73,275b77c77344470ea771c19b8b2780c9,e04f850016cb4b58bdde2847db9b5c59
Klarspülkammerdeckel für Dosierkombination wie Bosch 00611575 BLUPARTS in
11007372
Klarspülkammerdeckel für Dosierkombination wie Bosch 00611575 BLUPARTS in

AlternativTeil passend u.a. wie BSH-Gruppe/Siemens/Bosch.. 00611575 , Küppersbusch 436641
Die graue rechteckige Abdeckung für die Klarspülerzugabe in der Zugabevorrichtung (auch Dosierkombi genannt) ist innen in der Türe der Spülmaschine eingebaut. Dosierkammer
5be304e4b1264abb899df2e434e01a2c,436592444c584ad1b5a679fc5ac3ef73,275b77c77344470ea771c19b8b2780c9,51d1adca2c4b4c208fb873979695daf0
Dosierkombination BOSCH 00755073 für Geschirrspüler
191631

Dosierkombination BOSCH 00755073 für Geschirrspüler

Dosierkammer
5be304e4b1264abb899df2e434e01a2c,436592444c584ad1b5a679fc5ac3ef73,275b77c77344470ea771c19b8b2780c9,51d1adca2c4b4c208fb873979695daf0
Reedplatine für Wassertasche passend für Bosch 00611317 in Geschirrspüler
11032103
Reedplatine für Wassertasche passend für Bosch 00611317 in Geschirrspüler

Wassertasche
5be304e4b1264abb899df2e434e01a2c,436592444c584ad1b5a679fc5ac3ef73,275b77c77344470ea771c19b8b2780c9,606a3c15c7764c98b27b232dc083839d
Seilzugführung links rechts passend für Bosch 00623536 für Geschirrspüler
11032096
Seilzugführung links rechts passend für Bosch 00623536 für Geschirrspüler

Diese weißen Führungsstücke für die linke sowie rechte Seite sind u.a. auch passend wie Küppersbusch 441285 Sondersortiment
5be304e4b1264abb899df2e434e01a2c,436592444c584ad1b5a679fc5ac3ef73,275b77c77344470ea771c19b8b2780c9,c8777649a8d244adbf3354e7205bc8a8
Sprüharm unten, Kunststoff 00668148 668148 Bosch, Siemens, Neff, Küppersbusch
157606
Sprüharm BOSCH 00668148 unten grau für Geschirrspüler

Passend auch wie Küppersbusch 436713
Sprüharm
5be304e4b1264abb899df2e434e01a2c,436592444c584ad1b5a679fc5ac3ef73,275b77c77344470ea771c19b8b2780c9,8a26d46fbdc34633b4fe038be27b486c
Reedplatine für Wassertasche BOSCH 00611317 in Geschirrspüler
155437

Reedplatine für Wassertasche BOSCH 00611317 in Geschirrspüler

Dieser Reedschalter für den Flügelradzähler befindet sich an der seitlichen Wassertasche bzw. der Regenerierdosierung der Spülmaschine. Passend u.a. auch wie Küppersbusch 436666

Steuerung
5be304e4b1264abb899df2e434e01a2c,436592444c584ad1b5a679fc5ac3ef73,275b77c77344470ea771c19b8b2780c9,a0310176b38b40b4be1c70508f25f455
Profilleisten BOSCH 00706407 Set rechts links für Seitenwand Geschirrspüler
212515
Profilleisten BOSCH 00706407 Set rechts links für Seitenwand Geschirrspüler

Dieses senkrecht anzubringende Leistenset für die langen Seitenwände wird festgeschraubt.
Passend u.a. auch wie Küppersbusch 440653 Sockel
5be304e4b1264abb899df2e434e01a2c,436592444c584ad1b5a679fc5ac3ef73,275b77c77344470ea771c19b8b2780c9,6f6cb264a587449d8d5189e2be8578e3
Wassertasche BOSCH 00770952 Regenerierdosierung für Geschirrspüler
241427
Wassertasche BOSCH 00770952 Regenerierdosierung für Geschirrspüler

Inklusive Ventil, Reedkontakt, Gewindebolzen und Abdeckung für Expansionsöffnung.
Wassertasche
5be304e4b1264abb899df2e434e01a2c,436592444c584ad1b5a679fc5ac3ef73,275b77c77344470ea771c19b8b2780c9,606a3c15c7764c98b27b232dc083839d
Besteckkorb Bosch 11057829 für Geschirrspüler
613863
Besteckkorb Bosch 11057829 für Geschirrspüler

Dieser graue Kunststoffkorb mit 2 Klappdeckeln für größeres Besteck ist im Unterkorb der Spülmaschine eingesetzt. Besteckkorb
5be304e4b1264abb899df2e434e01a2c,436592444c584ad1b5a679fc5ac3ef73,275b77c77344470ea771c19b8b2780c9,95f1235cef6842fd8204f1fb4ca40fa1
Lager BOSCH 00632373 Set für Stachelreihen Geschirrkorb unten Geschirrspüler
208008
Lager Set für Stachelreihen im Unterkorb BOSCH 00632373 für Geschirrspüler

Graue Kunststoffhalter bzw. Lagerungen für die Kappstacheleinsätze für Teller im Geschirrkorb unten.
Dieses Set für die Spülmaschine ist u.a. auch passend wie Küppersbusch 441915 Geschirrkorb
5be304e4b1264abb899df2e434e01a2c,436592444c584ad1b5a679fc5ac3ef73,275b77c77344470ea771c19b8b2780c9,dc70c27085934cb5acc4cd088fc0a361
Dampfschutzblech Bosch 00114294 für Geschirrspüler
157875

Dampfschutzblech Bosch 00114294 für Geschirrspüler

Inklusive 8 Schrauben.

Gehäuseteile
5be304e4b1264abb899df2e434e01a2c,436592444c584ad1b5a679fc5ac3ef73,275b77c77344470ea771c19b8b2780c9,6f364c83e8954316926998e24fee04f5
Reparatursatz gebrochener Basisträger Dom 12039064
10028519

Reparatursatz 12039064 Originalersatzteil von Bosch

Originalteil von Bosch Reparatursatz 12039064

Zubehör
5be304e4b1264abb899df2e434e01a2c,436592444c584ad1b5a679fc5ac3ef73,275b77c77344470ea771c19b8b2780c9,5ae60379a8ad4940a07e4c25cb127c70
Deckendusche BOSCH 00611388 Brause oben für Geschirrspüler
206829
Deckendusche BOSCH 00611388 53mmØ für Geschirrspüler

Diese runde weiße Brause bzw. dieser Dachkreisel befindet sich oben im Innenraum der Spülmaschine. Sie ist u.a. auch passend wie Küppersbusch 436711 Sprüharm
5be304e4b1264abb899df2e434e01a2c,436592444c584ad1b5a679fc5ac3ef73,275b77c77344470ea771c19b8b2780c9,8a26d46fbdc34633b4fe038be27b486c
Zulaufschlauch BOSCH 00299756 Aquastop 1,7m für Geschirrspüler
153253

Zulaufschlauch BOSCH 00299756 Aquastop 1,7m für Geschirrspüler

Dieser Sicherheitszulaufschlauch mit elektrischem Anschluss ist u.a. auch passend wie gorenje 793459 , Küppersbusch 426618 , Whirlpool-Gruppe/Bauknecht.. 481253029151

Schlauch
5be304e4b1264abb899df2e434e01a2c,436592444c584ad1b5a679fc5ac3ef73,275b77c77344470ea771c19b8b2780c9,40ee0815bd1042dfa6b07fc66864eca1
Magnetventil-Reparatursatz, OT! 00645701 645701 Bosch, Siemens, Neff
190883
Magnetventil für Sicherheitszulaufschlauch BOSCH 00645701 an Geschirrspüler

Dieser Reparatursatz für den Sicherheitszulaufschlauch ist z.B. enthalten in Schlauch BSH-Nr. 00668113
Passend u.a. auch wie Küppersbusch 436688 Magnetventil
5be304e4b1264abb899df2e434e01a2c,436592444c584ad1b5a679fc5ac3ef73,275b77c77344470ea771c19b8b2780c9,5e7747f201f9403da8ffbb5186d3c28b
Dichtring für Salzbehälter BOSCH 00611915 76mmØ in Geschirrspüler
158331
Dichtring für Salzbehälter BOSCH 00611915 76mmØ in Geschirrspüler

Diese schwarze O-Ring Gummidichtung befindet sich zwischen der Enthärtungsanlage bzw. dem Salzbehälter und der Mutter für den Schraubverschluss. Sie ist u.a. auch passend wie Küppersbusch 436670 Dichtungen,Salzbehälter
5be304e4b1264abb899df2e434e01a2c,436592444c584ad1b5a679fc5ac3ef73,275b77c77344470ea771c19b8b2780c9,3e9cf2ee74bd425fac13ec3e5bed7e89,e3df607a8730419d92d273dd5fd68b86
Lüfter BOSCH 12009748 für Geschirrspüler mit Zeolith® Trocknung
277166
Lüfter BOSCH 12009748 für Geschirrspüler mit Zeolith® Trocknung

Dieser weiße Ventilator bzw. dieses Gebläse ebmpapst RLZ75/2500-1912-192 ist in Zeolith® Standspülmaschinen sowie integrierten Spülmaschinen eingebaut. Zeolith,Lüfter
5be304e4b1264abb899df2e434e01a2c,436592444c584ad1b5a679fc5ac3ef73,275b77c77344470ea771c19b8b2780c9,4d18a078c2a447dbb7efe57de2d7dbbd,dac416cdc8844e1ba6cec7a4dc467add
Lagerbuchse passend für Bosch 00165296 für Spannrolle für Zugseil
11031057

Lagerbuchse passend für Bosch 00165296 für Spannrolle für Zugseil 

Sondersortiment
5be304e4b1264abb899df2e434e01a2c,436592444c584ad1b5a679fc5ac3ef73,275b77c77344470ea771c19b8b2780c9,c8777649a8d244adbf3354e7205bc8a8
Einsatz 12005570
275932
Klappstachelreihe Oberkorb Bosch 12005570 für Geschirrspüler 2Stk

Geschirrkorb
5be304e4b1264abb899df2e434e01a2c,436592444c584ad1b5a679fc5ac3ef73,275b77c77344470ea771c19b8b2780c9,dc70c27085934cb5acc4cd088fc0a361
Oberkorbeinsatz vorne BOSCH 12005549 für Geschirrspüler
384166
Oberkorbeinsatz vorne BOSCH 12005549 für Geschirrspüler

Diese graue kurze Tassenetagere befindet sich links oder rechts vorne im oberen Geschirrkorb der Spülmaschine.
Sie ist absenkbar bzw. abklappbar um statt Tassen übereinander z.B. hohe Gläser im Oberkorb unterzubringen. Geschirrkorb
5be304e4b1264abb899df2e434e01a2c,436592444c584ad1b5a679fc5ac3ef73,275b77c77344470ea771c19b8b2780c9,dc70c27085934cb5acc4cd088fc0a361
Oberkorbeinsatz BOSCH 12005548 Tassenetagere lang für Geschirrkorb oben Geschirrspüler
340495
Oberkorbeinsatz BOSCH 12005548 Tassenetagere lang für Geschirrkorb oben Geschirrspüler

Absenkbar. Befindet sich meist rechts hinten im Korb.

Geschirrkorb
5be304e4b1264abb899df2e434e01a2c,436592444c584ad1b5a679fc5ac3ef73,275b77c77344470ea771c19b8b2780c9,dc70c27085934cb5acc4cd088fc0a361
Zusatzsieb für Grobschmutz BOSCH 00428216 in Geschirrspüler
290081
Zusatzsieb für Grobschmutz BOSCH 00428216 in Geschirrspüler

Dieses Microsieb gegen Grobschmutzverschleppung der Spülmaschine ist u.a. passend auch wie Küppersbusch 436014
Es wird von oben in das vorhandene Mikrofiltersystem gesetzt und dient der zusätzlichen Ausfilterung von Grobschmutz. Sieb
5be304e4b1264abb899df2e434e01a2c,436592444c584ad1b5a679fc5ac3ef73,275b77c77344470ea771c19b8b2780c9,6203423ecb63427694d641813b307aa8
Schutzkappen für Geschirrkorb BOSCH 00633942 in Geschirrspüler 28Stk
302660
Schutzkappen für Geschirrkorb BOSCH 00633942 in Geschirrspüler 28Stk

Diese Kappen werden einfach über die Stabenden bzw. Stacheln im Geschirrkorb gestülpt. Geschirrkorb
5be304e4b1264abb899df2e434e01a2c,436592444c584ad1b5a679fc5ac3ef73,275b77c77344470ea771c19b8b2780c9,dc70c27085934cb5acc4cd088fc0a361
Salzeinfülltrichter BOSCH 00645000 für Geschirrspüler
208770
Salzeinfülltrichter BOSCH 00645000 für Geschirrspüler

Passend u.a. auch wie Küppersbusch 436686 Zubehör
5be304e4b1264abb899df2e434e01a2c,436592444c584ad1b5a679fc5ac3ef73,275b77c77344470ea771c19b8b2780c9,5ae60379a8ad4940a07e4c25cb127c70
Sprüharmrohr BOSCH 11003118 senkrechtes Steigrohr für Geschirrspüler
214233
Sprüharmrohr BOSCH 11003118 senkrechtes Steigrohr für Geschirrspüler

Zurführrohr mit Dachbrause bzw. Deckendusche für 81,5 cm Geräte. Schlauch
5be304e4b1264abb899df2e434e01a2c,436592444c584ad1b5a679fc5ac3ef73,275b77c77344470ea771c19b8b2780c9,40ee0815bd1042dfa6b07fc66864eca1
Türe innen BOSCH 00680311 für Geschirrspüler
211332
Tür innen BOSCH 00680311
Original für Geschirrspüler - eingesetzt in 81cm Spülmaschinen

Originalteil: BSH-Gruppe/Bosch/Siemens 00680311
Mit Schlauch.
Baugleich mit Küppersbusch 436643.

Tür
5be304e4b1264abb899df2e434e01a2c,436592444c584ad1b5a679fc5ac3ef73,275b77c77344470ea771c19b8b2780c9,b3a18cc8734147fcaa878cba5c92088e
Verbindungsschlauch BOSCH 00668104 580mm für Geschirrspüler
307269

Verbindungsschlauch BOSCH 00668104 580mm für Geschirrspüler

Führt vom Wärmetauscher zum Pumpentopf. Inklusive 2 O-Ringen BSH-Nr. 00611324
Passend u.a. auch wie Küppersbusch 436678

Schlauch
5be304e4b1264abb899df2e434e01a2c,436592444c584ad1b5a679fc5ac3ef73,275b77c77344470ea771c19b8b2780c9,40ee0815bd1042dfa6b07fc66864eca1
Gehäuse-Befestigungssatz Haltewinkel rechts / links BOSCH 00622456 für Geschirrspüler
155708

Gehäuse-Befestigungssatz Haltewinkel rechts / links

OT: OriginalTeil BSH-Gruppe/Bosch/Siemens.. 00622456.
Zur Befestigung des Einbau-Geschirrspülers an der Arbeitsplatte (Holz oder Stein) in der Küche.
Besteht aus 2 Haltewinkeln, 2 Schrauben und Montageanleitung.

Gehäuseteile
5be304e4b1264abb899df2e434e01a2c,436592444c584ad1b5a679fc5ac3ef73,275b77c77344470ea771c19b8b2780c9,6f364c83e8954316926998e24fee04f5
Regenerierventil für Salzbehälter BOSCH 00611916 in Geschirrspüler
206853
Regenerierventil für Salzbehälter BOSCH 00611916 in Geschirrspüler

Dieses Ventil befindet sich an der Enthärtungsanlage bzw. dem Salzbehälter in der Spülmaschine.
Es ist u.a. auch passend wie Küppersbusch 436742 Salzbehälter
5be304e4b1264abb899df2e434e01a2c,436592444c584ad1b5a679fc5ac3ef73,275b77c77344470ea771c19b8b2780c9,e3df607a8730419d92d273dd5fd68b86
Leiste BOSCH 00668095 Behälter oben Türdichtung Behälter für Geschirrspüler
210561
Leiste BOSCH 00668095 Behälter oben Türdichtung Behälter für Geschirrspüler

Passend auch wie Küppersbusch 436655 Türdichtung
5be304e4b1264abb899df2e434e01a2c,436592444c584ad1b5a679fc5ac3ef73,275b77c77344470ea771c19b8b2780c9,916ee1c443ef40e4851d064c573dca26
Türscharnierfeder Bosch 00611338 für Geschirrspüler
158330
Türscharnierfeder Bosch 00611338 für Geschirrspüler

OT: OriginalTeil BSH-Gruppe/Bosch/Siemens.. 00611338
Passend auch wie Küppersbusch 436694
Feder mit Farbcode schwarz, ersetzt Ausführung mit Farbcode violett. Türscharnier
5be304e4b1264abb899df2e434e01a2c,436592444c584ad1b5a679fc5ac3ef73,275b77c77344470ea771c19b8b2780c9,8c476ac1fee2492eac0ace43254db03a
Dämmplatte für Tür SIEMENS 00645606 in Geschirrspüler
208810
Dämmplatte für Tür SIEMENS 00645606 in Geschirrspüler

Diese Gummischürze dient zur Geräuschdämmung und befindet sich vorne unten an der Außentüre.
Passend u.a. auch wie Küppersbusch 436737 Dämmplatte
5be304e4b1264abb899df2e434e01a2c,436592444c584ad1b5a679fc5ac3ef73,275b77c77344470ea771c19b8b2780c9,41255922a93c4308811ac6462215ea55
Mutter für Salzbehälterdeckel BOSCH 00611318 in Geschirrspüler
206820
Mutter für Salzbehälterdeckel BOSCH 00611318 in Geschirrspüler

Diese graue Kunststoffmutter befindet sich zwischen der Enthärtungsanlage und der Salzverschlusskappe.
Passend u.a. auch wie Küppersbusch 436671 Salzbehälter
5be304e4b1264abb899df2e434e01a2c,436592444c584ad1b5a679fc5ac3ef73,275b77c77344470ea771c19b8b2780c9,e3df607a8730419d92d273dd5fd68b86
Mutter für Zeolith® Behälter BOSCH 00636865 in Geschirrspüler
303368
Mutter für Zeolith® Behälter BOSCH 00636865 in Geschirrspüler

Dieser metallische runde Gewindering ist an der Einheit bzw. dem Behälter für die Zeolith® Trockung der Spülmaschine eingesetzt.
Er befindet sich unter der dreieckigen Kappe, dem Deckel des Metallbehälters. Zeolith
5be304e4b1264abb899df2e434e01a2c,436592444c584ad1b5a679fc5ac3ef73,275b77c77344470ea771c19b8b2780c9,4d18a078c2a447dbb7efe57de2d7dbbd
Türmontagesatz passend für Bosch 00618833 für integrierte Geschirrspüler
11032098
Türmontagesatz passend für Bosch 00618833 für integrierte Geschirrspüler

Dieser Einbausatz für die Außentüre an integrierten und vollintegrierten Spülmaschinen ist u.a. auch passend wie Küppersbusch 436650 Sondersortiment
5be304e4b1264abb899df2e434e01a2c,436592444c584ad1b5a679fc5ac3ef73,275b77c77344470ea771c19b8b2780c9,c8777649a8d244adbf3354e7205bc8a8
Geschirrkorb 00772113
265136
Geschirrkorb
5be304e4b1264abb899df2e434e01a2c,436592444c584ad1b5a679fc5ac3ef73,275b77c77344470ea771c19b8b2780c9,dc70c27085934cb5acc4cd088fc0a361
Gerätefuß passend für Bosch 00631221 weiß vorne 105mm für Geschirrspüler
11031069
Gerätefuß passend für Bosch 00631221 weiß vorne 105mm für Geschirrspüler

Sockel
5be304e4b1264abb899df2e434e01a2c,436592444c584ad1b5a679fc5ac3ef73,275b77c77344470ea771c19b8b2780c9,6f6cb264a587449d8d5189e2be8578e3
Dichtung für Zugabevorrichtung BOSCH 00645144 für Geschirrspüler
304433
Dichtung für Zugabevorrichtung BOSCH 00645144 für Geschirrspüler

komplett Innentür Dichtungen,Dosierkammer
5be304e4b1264abb899df2e434e01a2c,436592444c584ad1b5a679fc5ac3ef73,275b77c77344470ea771c19b8b2780c9,3e9cf2ee74bd425fac13ec3e5bed7e89,51d1adca2c4b4c208fb873979695daf0
Deckel 10009014
381591
Deckel 10009014

Gehäuseteile
5be304e4b1264abb899df2e434e01a2c,436592444c584ad1b5a679fc5ac3ef73,275b77c77344470ea771c19b8b2780c9,6f364c83e8954316926998e24fee04f5
Enthärtungsanlage komplett, mit Rohwasserventil 12041720
609213
Enthärtungsanlage komplett, mit Rohwasserventil 12041720

Salzbehälter
5be304e4b1264abb899df2e434e01a2c,436592444c584ad1b5a679fc5ac3ef73,275b77c77344470ea771c19b8b2780c9,e3df607a8730419d92d273dd5fd68b86
Sprühkopf oben passend für Bosch 00611388 BLUPARTS in Geschirrspüler 10104365
11007438
Sprühkopf oben passend für Bosch 00611388 BLUPARTS in Geschirrspüler 10104365

AlternativTeil BLUPARTS u.a. passend für BSH-Gruppe/Bosch.. 00611388
Die weiße Deckendusche ist oben im Innenraum der Spülmaschine eingebaut. Sprüharm
5be304e4b1264abb899df2e434e01a2c,436592444c584ad1b5a679fc5ac3ef73,275b77c77344470ea771c19b8b2780c9,8a26d46fbdc34633b4fe038be27b486c
Maschinenentkalker PADOMA für Geschirrspüler Waschmaschine 2x100g 10108528
11051877
Maschinenentkalker PADOMA für Geschirrspüler Waschmaschine 2x100g 10108528

Zubehör,Waschmaschinenreiniger
5be304e4b1264abb899df2e434e01a2c,436592444c584ad1b5a679fc5ac3ef73,275b77c77344470ea771c19b8b2780c9,47067e90b5dc4b1d9f40bc3cdd7c85c3,3017057ce80b4d85aae42a1e4928e81a,5ae60379a8ad4940a07e4c25cb127c70,a8b34b01dd7f4c159d4bd94f9c5b47ae
Teleskopschiene für Oberkorb BOSCH 11014677 für Geschirrspüler
215823
Teleskopschiene für Oberkorb BOSCH 11014677 für Geschirrspüler

Laufschienen
5be304e4b1264abb899df2e434e01a2c,436592444c584ad1b5a679fc5ac3ef73,275b77c77344470ea771c19b8b2780c9,57744a862ec54b4d9831aa184f6b9a81
Halter für Teleskopschiene, Unterkorb 00633887
208096
Halter für Teleskopschiene, Unterkorb 00633887

Gehäuseteile
5be304e4b1264abb899df2e434e01a2c,436592444c584ad1b5a679fc5ac3ef73,275b77c77344470ea771c19b8b2780c9,6f364c83e8954316926998e24fee04f5
Holzschraube BOSCH 00612562 für Geschirrspüler 2Stk
296652
Holzschraube BOSCH 00612562 für Geschirrspüler 2Stk

Zubehör
5be304e4b1264abb899df2e434e01a2c,436592444c584ad1b5a679fc5ac3ef73,275b77c77344470ea771c19b8b2780c9,5ae60379a8ad4940a07e4c25cb127c70
Sprüharm unten für Geschirrspüler Küppersbusch 441436 Unterkorb
11004144
Sprüharm
5be304e4b1264abb899df2e434e01a2c,436592444c584ad1b5a679fc5ac3ef73,275b77c77344470ea771c19b8b2780c9,8a26d46fbdc34633b4fe038be27b486c
Anschlusskabel 5m SIEMENS SZ73051EU 12022522 für Geschirrspüler
10028525

Anschlusskabel 12022522 Originalersatzteil von Bosch

Originalteil von Bosch Anschlusskabel 12022522

Anschluss
5be304e4b1264abb899df2e434e01a2c,436592444c584ad1b5a679fc5ac3ef73,275b77c77344470ea771c19b8b2780c9,ccde26b0e22a400c890604807c43a7da
Oberer Sprüharm für Küppersbusch Geschirrspüler 436712 mit Einlaufrohr
11002040
Sprüharm
5be304e4b1264abb899df2e434e01a2c,436592444c584ad1b5a679fc5ac3ef73,275b77c77344470ea771c19b8b2780c9,8a26d46fbdc34633b4fe038be27b486c
Lüftungskanal für Geschirrspüler BSH-Gruppe 11010222 Luftführung
269684
Luftfallen
5be304e4b1264abb899df2e434e01a2c,436592444c584ad1b5a679fc5ac3ef73,275b77c77344470ea771c19b8b2780c9,aa67424d945e471986da8ac740d8bbb1
Türverriegelung für Geschirrspüler Com 10006917 Spülmaschine
11028441
Türschloss
5be304e4b1264abb899df2e434e01a2c,436592444c584ad1b5a679fc5ac3ef73,275b77c77344470ea771c19b8b2780c9,56ef51792b4f42aab29cae33f433612e
Klarspülkammerdeckel für Geschirrspüler Bosch 00611575 grau Kunststoff
11028205
Sondersortiment
5be304e4b1264abb899df2e434e01a2c,436592444c584ad1b5a679fc5ac3ef73,275b77c77344470ea771c19b8b2780c9,c8777649a8d244adbf3354e7205bc8a8
Scharnierplatte links Bosch 00741883 für Geschirrspüler
158153
Scharnierplatte links Bosch 00741883 für Geschirrspüler

OT: OriginalTeil BSH-Gruppe/Bosch.. 00741883.
Passende Platte für die rechte Seite: BSHG00741885 Türscharnier
5be304e4b1264abb899df2e434e01a2c,436592444c584ad1b5a679fc5ac3ef73,275b77c77344470ea771c19b8b2780c9,8c476ac1fee2492eac0ace43254db03a
Dichtung für Ofen Küppersbusch 436679 Abdichtung Tür
11055415
Dichtungen,Dichtung,Dichtung,Dichtung,Dichtung,Tür,Tür,Tür,Tür
5be304e4b1264abb899df2e434e01a2c,436592444c584ad1b5a679fc5ac3ef73,af6babb93db042e7b7fb7a417eca6410,47067e90b5dc4b1d9f40bc3cdd7c85c3,57c17f77121745b58646dcdad368fdda,3017057ce80b4d85aae42a1e4928e81a,275b77c77344470ea771c19b8b2780c9,6d0b034684f448a88e441e35d5a01b2b,06d81baa854849889a4cd139590da1f5,2353766a7ce242259683c2a5c22a7de2,2a09b99a39c84203807b53a2581aa8b0,3e9cf2ee74bd425fac13ec3e5bed7e89,562f19f39d104ef7a0b6759997cfc3cf,7fb5fe01d042406485abe3286fe2c91a,8ef690f0cd54489baa7da8a0e19ec3db,b3a18cc8734147fcaa878cba5c92088e,e540d4381df343cba4e74651917d54fb
Gehäuseseitenteil rechts, verzinkt, 81 cm, integriert, rastbar, V2 00688087
211827
Gehäuseseitenteil rechts, verzinkt, 81 cm, integriert, rastbar, V2 00688087

Gehäuseteile
5be304e4b1264abb899df2e434e01a2c,436592444c584ad1b5a679fc5ac3ef73,275b77c77344470ea771c19b8b2780c9,6f364c83e8954316926998e24fee04f5
Einsatz für Unterkorb BOSCH 00657862 für Geschirrspüler
209953
Einsatz für Unterkorb BOSCH 00657862 für Geschirrspüler

Geschirrkorb
5be304e4b1264abb899df2e434e01a2c,436592444c584ad1b5a679fc5ac3ef73,275b77c77344470ea771c19b8b2780c9,dc70c27085934cb5acc4cd088fc0a361
Türdichtung für Geschirrspüler Com 00298534 Spülbehälter
11008656
Dichtungen
5be304e4b1264abb899df2e434e01a2c,436592444c584ad1b5a679fc5ac3ef73,275b77c77344470ea771c19b8b2780c9,3e9cf2ee74bd425fac13ec3e5bed7e89
Aquastopventil für Geschirrspüler Bitron 645701 Wasserstop
11017051
Schlauch
5be304e4b1264abb899df2e434e01a2c,436592444c584ad1b5a679fc5ac3ef73,275b77c77344470ea771c19b8b2780c9,40ee0815bd1042dfa6b07fc66864eca1
Schlauchhalter für Geschirrspüler Bosch Siemens 12042905 Ablauf/Zulauf
11027711
Sondersortiment
5be304e4b1264abb899df2e434e01a2c,436592444c584ad1b5a679fc5ac3ef73,275b77c77344470ea771c19b8b2780c9,c8777649a8d244adbf3354e7205bc8a8
Microsieb-Set für Geschirrspüler Com 00645038 Grob- & Feinsieb
11009435
Sieb
5be304e4b1264abb899df2e434e01a2c,436592444c584ad1b5a679fc5ac3ef73,275b77c77344470ea771c19b8b2780c9,6203423ecb63427694d641813b307aa8
Seilzugführung links/rechts für Geschirrspüler Bosch/Siemens COM
11042462
Laufschienen,Sonstige Gehäuseteile
5be304e4b1264abb899df2e434e01a2c,436592444c584ad1b5a679fc5ac3ef73,275b77c77344470ea771c19b8b2780c9,6d0b034684f448a88e441e35d5a01b2b,57744a862ec54b4d9831aa184f6b9a81,efdfc43389f84879837099e9544f7336
Behälter Zeolith® 3 BOSCH 12009751 für Geschirrspüler
277167
Behälter Zeolith® 3 BOSCH 12009751 für Geschirrspüler

Zeolith
5be304e4b1264abb899df2e434e01a2c,436592444c584ad1b5a679fc5ac3ef73,275b77c77344470ea771c19b8b2780c9,4d18a078c2a447dbb7efe57de2d7dbbd
Kappe BOSCH 00633943 für Geschirrspüler 28Stk
10028835

Kappe 00633943 Originalersatzteil von Bosch

Originalteil von Bosch Kappe 00633943

Sondersortiment
5be304e4b1264abb899df2e434e01a2c,436592444c584ad1b5a679fc5ac3ef73,275b77c77344470ea771c19b8b2780c9,c8777649a8d244adbf3354e7205bc8a8
Einsatz silber, Klappstachelreihe Oberkorb, hinten 12005569
275931
Einsatz silber, Klappstachelreihe Oberkorb, hinten 12005569

Geschirrkorb
5be304e4b1264abb899df2e434e01a2c,436592444c584ad1b5a679fc5ac3ef73,275b77c77344470ea771c19b8b2780c9,dc70c27085934cb5acc4cd088fc0a361
Zulaufschlauch Aquastop 1,68m passend für Bosch 00668113 BLUPARTS in
11038892
Zulaufschlauch Aquastop 1,68m passend für Bosch 00668113 BLUPARTS in

AlternativTeil BLUPARTS u.a. passend für BOSCH 00668113 Schlauch
5be304e4b1264abb899df2e434e01a2c,436592444c584ad1b5a679fc5ac3ef73,275b77c77344470ea771c19b8b2780c9,40ee0815bd1042dfa6b07fc66864eca1
Mikroschalter BOSCH 00622035 Niveauschalter für Geschirrspüler
207574
Mikroschalter BOSCH 00622035 Niveauschalter für Geschirrspüler

Dieser Sicherheitsniveauschalter befindet sich unten am Boden neben dem Schwimmer.
Passend u.a. auch wie Küppersbusch 441259 Schalter
5be304e4b1264abb899df2e434e01a2c,436592444c584ad1b5a679fc5ac3ef73,275b77c77344470ea771c19b8b2780c9,a093451999a4484290e5b99d6ab41327
Halter hinten, rechts und links verwendbar vercrimpt 00623534
207656
Halter BOSCH 00623534 für Geschirrspüler

hinten, rechts und links verwendbar vercrimpt Gehäuseteile
5be304e4b1264abb899df2e434e01a2c,436592444c584ad1b5a679fc5ac3ef73,275b77c77344470ea771c19b8b2780c9,6f364c83e8954316926998e24fee04f5
Achse für Standfuß hinten BOSCH 00669859 für Geschirrspüler
210685
Achse für Standfuß hinten BOSCH 00669859 für Geschirrspüler

Set aus Welle bzw. Achse und Schneckenrad für die Fußverstellung hinten. Sockel
5be304e4b1264abb899df2e434e01a2c,436592444c584ad1b5a679fc5ac3ef73,275b77c77344470ea771c19b8b2780c9,6f6cb264a587449d8d5189e2be8578e3
Dichtung BOSCH 00611324 ORing 28mmØ für Schlauch Geschirrspüler
296349

Dichtung BOSCH 00611324 ORing 28mmØ für Schlauch Geschirrspüler

Dieser O-Ring befindet sich an dem Verbindungsschlauch, der von der seitlichen Wassertasche zum Pumpentopf führt.

Dichtungen
5be304e4b1264abb899df2e434e01a2c,436592444c584ad1b5a679fc5ac3ef73,275b77c77344470ea771c19b8b2780c9,3e9cf2ee74bd425fac13ec3e5bed7e89
Schlauchklemme für Ablaufschlauch BOSCH 00417499 an Geschirrspüler
288263
Schlauchklemme für Ablaufschlauch BOSCH 00417499 an Geschirrspüler

Diese metallische Drahtklemme ist u.a. auch passend wie Küppersbusch 436690 Schlauch
5be304e4b1264abb899df2e434e01a2c,436592444c584ad1b5a679fc5ac3ef73,275b77c77344470ea771c19b8b2780c9,40ee0815bd1042dfa6b07fc66864eca1
Schraube 00633945
302662
Schraube Innentür - Scharnier 00633945

Zubehör
5be304e4b1264abb899df2e434e01a2c,436592444c584ad1b5a679fc5ac3ef73,275b77c77344470ea771c19b8b2780c9,5ae60379a8ad4940a07e4c25cb127c70
Dichtung für Bedienblende BOSCH 00668073 für Geschirrspüler
307263
Dichtung für Bedienblende BOSCH 00668073 für Geschirrspüler

Gehäuseteile,Dichtungen
5be304e4b1264abb899df2e434e01a2c,436592444c584ad1b5a679fc5ac3ef73,275b77c77344470ea771c19b8b2780c9,3e9cf2ee74bd425fac13ec3e5bed7e89,6f364c83e8954316926998e24fee04f5
Ausgleichsleiste SIEMENS 00749708 silbern an Bedienblende für Geschirrspüler
240450
Ausgleichsleiste SIEMENS 00749708 silbern an Bedienblende für Geschirrspüler

Die Leiste ist quer unter der Blende an z.B. integrierten Unterbau-Spülmaschinen eingesetzt. Sockel
5be304e4b1264abb899df2e434e01a2c,436592444c584ad1b5a679fc5ac3ef73,275b77c77344470ea771c19b8b2780c9,6f6cb264a587449d8d5189e2be8578e3
Schiene 11004798
268291
Laufschienen
5be304e4b1264abb899df2e434e01a2c,436592444c584ad1b5a679fc5ac3ef73,275b77c77344470ea771c19b8b2780c9,57744a862ec54b4d9831aa184f6b9a81
Gehäuse-Unterteil 00775737
241865
Gehäuse-Unterteil 00775737

Gehäuseteile
5be304e4b1264abb899df2e434e01a2c,436592444c584ad1b5a679fc5ac3ef73,275b77c77344470ea771c19b8b2780c9,6f364c83e8954316926998e24fee04f5
Schnellentkalker Bosch Siemens 00312330 für Waschmaschine Geschirrspüler 250g
612456
Schnellentkalker Bosch Siemens 00312330 für Waschmaschine Geschirrspüler 250g

Waschmaschinenreiniger
5be304e4b1264abb899df2e434e01a2c,47067e90b5dc4b1d9f40bc3cdd7c85c3,3017057ce80b4d85aae42a1e4928e81a,a8b34b01dd7f4c159d4bd94f9c5b47ae
Ventil Rohwasserventil, für Enthärtungsanlage 10024697
612867
Ventil Rohwasserventil, für Enthärtungsanlage 10024697

Magnetventil
5be304e4b1264abb899df2e434e01a2c,436592444c584ad1b5a679fc5ac3ef73,275b77c77344470ea771c19b8b2780c9,5e7747f201f9403da8ffbb5186d3c28b
Pumpentopf-Reparaturset für Küppersbusch Ofen 442303 Dichtung, Pumpe
11045743
Dichtungen,Pumpentopf,Dichtung,Dichtung,Dichtungen,Sonstiges,Dichtung,Pumpe,Dichtung,Pumpe,Laugenpumpe
5be304e4b1264abb899df2e434e01a2c,436592444c584ad1b5a679fc5ac3ef73,af6babb93db042e7b7fb7a417eca6410,47067e90b5dc4b1d9f40bc3cdd7c85c3,57c17f77121745b58646dcdad368fdda,97d818b5e800459db7da7b19753718c2,275b77c77344470ea771c19b8b2780c9,6d0b034684f448a88e441e35d5a01b2b,3017057ce80b4d85aae42a1e4928e81a,06d81baa854849889a4cd139590da1f5,2353766a7ce242259683c2a5c22a7de2,3b7ef0ad5f344d089415c7fd9a140633,3e9cf2ee74bd425fac13ec3e5bed7e89,496e809a5a0645bcb6ff60ff5b4ac760,52b45f6243cc407d9ed0adb1c879be11,562f19f39d104ef7a0b6759997cfc3cf,5f99698af141498785329998418aeff5,8ef690f0cd54489baa7da8a0e19ec3db,a6fc36f119c94834891177d39aebb5e1,f7c85175f6ae467f97c29a3ac25b679a
Reedkontakt für Geschirrspüler COM 00611317 Flügelradzähler
11028335
Sondersortiment
5be304e4b1264abb899df2e434e01a2c,436592444c584ad1b5a679fc5ac3ef73,275b77c77344470ea771c19b8b2780c9,c8777649a8d244adbf3354e7205bc8a8
Pumpendeckel für Bosch Geschirrspüler 00611322 Ablaufpumpe
11028270
Pumpe
5be304e4b1264abb899df2e434e01a2c,436592444c584ad1b5a679fc5ac3ef73,275b77c77344470ea771c19b8b2780c9,a6fc36f119c94834891177d39aebb5e1
Oberer Sprühkopf für Com Ofen
11050254
Geschirrspüler
5be304e4b1264abb899df2e434e01a2c,436592444c584ad1b5a679fc5ac3ef73,275b77c77344470ea771c19b8b2780c9
Pumpentopf Bosch 11024647 Geschirrspüler Fass
10028828

Pumpentopf 11024647 Originalersatzteil von Bosch

Originalteil von Bosch Pumpentopf 11024647

Pumpentopf
5be304e4b1264abb899df2e434e01a2c,436592444c584ad1b5a679fc5ac3ef73,275b77c77344470ea771c19b8b2780c9,52b45f6243cc407d9ed0adb1c879be11
Gehäuseseitenteil links, verzinkt, 81 cm, integriert, rastbar, V2 00688086
211826
Gehäuseseitenteil links, verzinkt, 81 cm, integriert, rastbar, V2 00688086

Gehäuseteile
5be304e4b1264abb899df2e434e01a2c,436592444c584ad1b5a679fc5ac3ef73,275b77c77344470ea771c19b8b2780c9,6f364c83e8954316926998e24fee04f5
Abdeckung BOSCH 00611321 für Ansaugkappe Umwälzpumpe Geschirrspüler
206821
Abdeckung BOSCH 00611321 für Ansaugkappe Umwälzpumpe Geschirrspüler

Passend auch wie Küppersbusch 436675 Gehäuseteile
5be304e4b1264abb899df2e434e01a2c,436592444c584ad1b5a679fc5ac3ef73,275b77c77344470ea771c19b8b2780c9,6f364c83e8954316926998e24fee04f5
Dichtung 00636867
208286
Dichtung Bosch 00636867 für Geschirrspüler

Zubehör
5be304e4b1264abb899df2e434e01a2c,436592444c584ad1b5a679fc5ac3ef73,275b77c77344470ea771c19b8b2780c9,5ae60379a8ad4940a07e4c25cb127c70
Fuss BOSCH 00614939 für Geschirrspüler
207085
Fuss BOSCH 00614939 für Geschirrspüler

Gehäuseteile
5be304e4b1264abb899df2e434e01a2c,436592444c584ad1b5a679fc5ac3ef73,275b77c77344470ea771c19b8b2780c9,6f364c83e8954316926998e24fee04f5
Innentür mit Zeolithprägung BOSCH 20001870 für Geschirrspüler
10016409

Innentür 20001870 Originalersatzteil von Bosch

Originalteil von Bosch Innentür 20001870

Tür
5be304e4b1264abb899df2e434e01a2c,436592444c584ad1b5a679fc5ac3ef73,275b77c77344470ea771c19b8b2780c9,b3a18cc8734147fcaa878cba5c92088e
Klappstachel Oberkorb, rechts, hinten, silber 12033295
10017006

Klappstachel 12033295 Originalersatzteil von Bosch

Originalteil von Bosch Klappstachel 12033295

Glashalter
5be304e4b1264abb899df2e434e01a2c,436592444c584ad1b5a679fc5ac3ef73,275b77c77344470ea771c19b8b2780c9,059a2ba79ae34d8e9a3e8003af9d2e0c
Lüftungskanal 12009749
384721
Luftfallen
5be304e4b1264abb899df2e434e01a2c,436592444c584ad1b5a679fc5ac3ef73,275b77c77344470ea771c19b8b2780c9,aa67424d945e471986da8ac740d8bbb1
Ablaufventil Wärmetauscher für Geschirrspüler Com ART4711 für Bosch Siemens Spüler
11053362
Magnetventil
5be304e4b1264abb899df2e434e01a2c,436592444c584ad1b5a679fc5ac3ef73,275b77c77344470ea771c19b8b2780c9,5e7747f201f9403da8ffbb5186d3c28b
TÜRSCHLOSS Küppersbusch 443046
603549
TÜRSCHLOSS Küppersbusch 443046

Türschloss
5be304e4b1264abb899df2e434e01a2c,436592444c584ad1b5a679fc5ac3ef73,275b77c77344470ea771c19b8b2780c9,56ef51792b4f42aab29cae33f433612e
Schlauchschelle für Geschirrspüler COM 5415828 25/40mm inox
11011778
Schlauch
5be304e4b1264abb899df2e434e01a2c,436592444c584ad1b5a679fc5ac3ef73,275b77c77344470ea771c19b8b2780c9,40ee0815bd1042dfa6b07fc66864eca1
Sieb BOSCH 00645037 für Geschirrspüler
208777
Sieb BOSCH 00645037 für Geschirrspüler

Dieses Tellersieb ist u.a. auch passend wie Küppersbusch 436715 Sieb
5be304e4b1264abb899df2e434e01a2c,436592444c584ad1b5a679fc5ac3ef73,275b77c77344470ea771c19b8b2780c9,6203423ecb63427694d641813b307aa8
Reparatur-Set passend für Bosch 00645701 Bitron/ Elbi 10112091
11051306
Reparatur-Set passend für Bosch 00645701 Bitron/ Elbi 10112091

Magnetventil
5be304e4b1264abb899df2e434e01a2c,436592444c584ad1b5a679fc5ac3ef73,275b77c77344470ea771c19b8b2780c9,5e7747f201f9403da8ffbb5186d3c28b
Geschirrkorb oben Bosch 00778371 RackMatic
10017011

Geschirrkorb oben 00778371 Originalersatzteil von Bosch

Originalteil von Bosch Geschirrkorb oben 00778371

Geschirrkorb
5be304e4b1264abb899df2e434e01a2c,436592444c584ad1b5a679fc5ac3ef73,275b77c77344470ea771c19b8b2780c9,dc70c27085934cb5acc4cd088fc0a361
Einsatz silber, Klappstachelreihe Unterkorb LL, hinten 12005607
275950
Einsatz silber, Klappstachelreihe Unterkorb LL, hinten 12005607

Geschirrkorb
5be304e4b1264abb899df2e434e01a2c,436592444c584ad1b5a679fc5ac3ef73,275b77c77344470ea771c19b8b2780c9,dc70c27085934cb5acc4cd088fc0a361
Einsatz silber, Klappstachelreihe Oberkorb, vorne 12005568
275930
Einsatz silber, Klappstachelreihe Oberkorb, vorne 12005568

Geschirrkorb
5be304e4b1264abb899df2e434e01a2c,436592444c584ad1b5a679fc5ac3ef73,275b77c77344470ea771c19b8b2780c9,dc70c27085934cb5acc4cd088fc0a361
Aquastop-Reparaturset für Geschirrspüler Bitron e-4700540 Schlauch, Ventil
11011468
Magnetventil,Schlauch
5be304e4b1264abb899df2e434e01a2c,436592444c584ad1b5a679fc5ac3ef73,275b77c77344470ea771c19b8b2780c9,40ee0815bd1042dfa6b07fc66864eca1,5e7747f201f9403da8ffbb5186d3c28b
Aquastop-Schlauch für Geschirrspüler Küppersbusch 436687 1,68m
11011532
Schlauch
5be304e4b1264abb899df2e434e01a2c,436592444c584ad1b5a679fc5ac3ef73,275b77c77344470ea771c19b8b2780c9,40ee0815bd1042dfa6b07fc66864eca1
Scharnier links für Geschirrspüler Küppersbusch 436700 Links, Geschirrspüler
11011528
Türscharnier
5be304e4b1264abb899df2e434e01a2c,436592444c584ad1b5a679fc5ac3ef73,275b77c77344470ea771c19b8b2780c9,8c476ac1fee2492eac0ace43254db03a
Türdichtung für Geschirrspüler Bosch 00668079 unten
11009287
Dichtungen
5be304e4b1264abb899df2e434e01a2c,436592444c584ad1b5a679fc5ac3ef73,275b77c77344470ea771c19b8b2780c9,3e9cf2ee74bd425fac13ec3e5bed7e89
Aquastopschlauch Bitron Type88 Geschirrspüler Bosch Siemens 00668113 Wasserzulauf
11023263
Schlauch
5be304e4b1264abb899df2e434e01a2c,436592444c584ad1b5a679fc5ac3ef73,275b77c77344470ea771c19b8b2780c9,40ee0815bd1042dfa6b07fc66864eca1
Reedkontakt für Geschirrspüler COM 00611317 Flügelradzähler
11028043
Sondersortiment
5be304e4b1264abb899df2e434e01a2c,436592444c584ad1b5a679fc5ac3ef73,275b77c77344470ea771c19b8b2780c9,c8777649a8d244adbf3354e7205bc8a8
Wasserstopventil mit Schlauch für Geschirrspüler Bitron 39020171K ohne Fixierplatte
11027006
Schlauch
5be304e4b1264abb899df2e434e01a2c,436592444c584ad1b5a679fc5ac3ef73,275b77c77344470ea771c19b8b2780c9,40ee0815bd1042dfa6b07fc66864eca1
Korbablagen-Lager für Geschirrspüler Bosch 00611474 Oberkorb-Klammern
11027102
Geschirrkorb
5be304e4b1264abb899df2e434e01a2c,436592444c584ad1b5a679fc5ac3ef73,275b77c77344470ea771c19b8b2780c9,dc70c27085934cb5acc4cd088fc0a361
Federsatz für Geschirrspüler Bosch 00754869 Türfedern, Seilzüge
11026232
Sondersortiment
5be304e4b1264abb899df2e434e01a2c,436592444c584ad1b5a679fc5ac3ef73,275b77c77344470ea771c19b8b2780c9,c8777649a8d244adbf3354e7205bc8a8
Gerätefuß vorne für Geschirrspüler Com 00631221 105mm
11028514
Sockel
5be304e4b1264abb899df2e434e01a2c,436592444c584ad1b5a679fc5ac3ef73,275b77c77344470ea771c19b8b2780c9,6f6cb264a587449d8d5189e2be8578e3
Zulaufdichtung mit Sieb für Geschirrspüler BSH 00166671 Wasserstop
11026674
Sieb,Schlauch
5be304e4b1264abb899df2e434e01a2c,436592444c584ad1b5a679fc5ac3ef73,275b77c77344470ea771c19b8b2780c9,40ee0815bd1042dfa6b07fc66864eca1,6203423ecb63427694d641813b307aa8
Bosch Backofenreiniger 4er Pack Ofenreinigung
11045714
Sondersortiment,Sondersortiment
5be304e4b1264abb899df2e434e01a2c,436592444c584ad1b5a679fc5ac3ef73,af6babb93db042e7b7fb7a417eca6410,c8ad32137fb34e3c899397ddeb15abcf,7428559e53954afe8bfd9fdcea3001b0,c0a154dbe66642a7808704c9bd59e0a5
Dichtung 00166671
202450
Gummidichtung mit Sieb Bosch 00166671 für 3/4" Zulaufschlauchverschraubung

Dichtung für die 3/4 Zoll Verschraubung zwischen Aqua-Stop-Ventil und Wasserhahn. Diese Zulaufdichtung ist auch in Kühlschränken und Gefrierschränken mit Aquastopschlauch eingesetzt.
Passend u.a. auch wie gorenje 793458 , Küppersbusch 426515 , Whirlpool-Gruppe/Bauknecht.. 481246668673 Indesit-Company C00498464 Zubehör
5be304e4b1264abb899df2e434e01a2c,436592444c584ad1b5a679fc5ac3ef73,275b77c77344470ea771c19b8b2780c9,5ae60379a8ad4940a07e4c25cb127c70
Scharnierplatte rechts Siemens Bosch 00741885 für Geschirrspüler
158154
Scharnierplatte rechts Siemens Bosch 00741885 für Geschirrspüler

OT: OriginalTeil BSH-Gruppe/Bosch.. 00741885
Passende Platte für die linke Seite: BSHG00741883 Türscharnier
5be304e4b1264abb899df2e434e01a2c,436592444c584ad1b5a679fc5ac3ef73,275b77c77344470ea771c19b8b2780c9,8c476ac1fee2492eac0ace43254db03a
Verlängerung für Aquastop und Ablaufschlauch BOSCH 00673684 für Geschirrspüler
210971
Verlängerung für Aquastop und Ablaufschlauch BOSCH 00673684 für Geschirrspüler

Bestehend aus 2 Verlängerungen (Zulauf- und Ablaufschlauch), 2 Schlauchschellen und einer Dichtung. Schlauch
5be304e4b1264abb899df2e434e01a2c,436592444c584ad1b5a679fc5ac3ef73,275b77c77344470ea771c19b8b2780c9,40ee0815bd1042dfa6b07fc66864eca1
Sockel Sockel-Bodenwanne 00668096
210562
Sockel Sockel-Bodenwanne 00668096

Sockel
5be304e4b1264abb899df2e434e01a2c,436592444c584ad1b5a679fc5ac3ef73,275b77c77344470ea771c19b8b2780c9,6f6cb264a587449d8d5189e2be8578e3
Schiene Teleskopschiene für Unterkorb 11014679
271489
Schiene Teleskopschiene für Unterkorb 11014679

Laufschienen
5be304e4b1264abb899df2e434e01a2c,436592444c584ad1b5a679fc5ac3ef73,275b77c77344470ea771c19b8b2780c9,57744a862ec54b4d9831aa184f6b9a81
Dichtung 00633979
302671
Dichtung O-Ring Bosch 00633979 für Geschirrspüler

Dichtungen
5be304e4b1264abb899df2e434e01a2c,436592444c584ad1b5a679fc5ac3ef73,275b77c77344470ea771c19b8b2780c9,3e9cf2ee74bd425fac13ec3e5bed7e89
Klappstachel Oberkorb, rechts, vorn, silber 12033294
10017005

Klappstachel 12033294 Originalersatzteil von Bosch

Originalteil von Bosch Klappstachel 12033294

Glashalter
5be304e4b1264abb899df2e434e01a2c,436592444c584ad1b5a679fc5ac3ef73,275b77c77344470ea771c19b8b2780c9,059a2ba79ae34d8e9a3e8003af9d2e0c
Klappstachelreihen Unterkorb BOSCH 11004956 für Geschirrspüler
268320
Klappstachelreihen Unterkorb BOSCH 11004956 für Geschirrspüler

vorne Geschirrkorb
5be304e4b1264abb899df2e434e01a2c,436592444c584ad1b5a679fc5ac3ef73,275b77c77344470ea771c19b8b2780c9,dc70c27085934cb5acc4cd088fc0a361
Fuß BOSCH 00614938 für Geschirrspüler
207084
Fuß BOSCH 00614938 für Geschirrspüler

Gehäuseteile
5be304e4b1264abb899df2e434e01a2c,436592444c584ad1b5a679fc5ac3ef73,275b77c77344470ea771c19b8b2780c9,6f364c83e8954316926998e24fee04f5
Kappe 00636862
208285
Sondersortiment
5be304e4b1264abb899df2e434e01a2c,436592444c584ad1b5a679fc5ac3ef73,275b77c77344470ea771c19b8b2780c9,c8777649a8d244adbf3354e7205bc8a8
Maschinenreiniger Bosch 00312478 für Geschirrspüler 4 x 45 g
11001132
Maschinenreiniger Bosch 00312478 für Geschirrspüler 4 x 45 g

Bequeme Anwendung: Ein Beutel des Reinigungspulvers passt perfekt in den Spender Ihrer Spülmaschine.
Formel frei von Mikroplastik.
Gründliche Reinigung: Dringt tief in die internen Bauteile, Filter und Sprüharme ein und hinterlässt sie perfekt gereinigt und optimal funktionierend.
Ihre Spülmaschine wird strahlend sauber sein: Entfernt effektiv Fett, Gerüche und Schmutzablagerungen.
Anzahl der Anwendungen: Ein Beutel pro Reinigungsvorgang. Abhängig von den individuellen Nutzungsgewohnheiten empfehlen wir eine Anwendung alle 1 bis 2 Monate. Spülmaschinenreiniger
5be304e4b1264abb899df2e434e01a2c,436592444c584ad1b5a679fc5ac3ef73,275b77c77344470ea771c19b8b2780c9,e04f850016cb4b58bdde2847db9b5c59
Abdeckung 00626400
207793
Abdeckung Für Expansionsöffnung am Ansaugkanal mit Dichtung 00626400

Pumpentopf
5be304e4b1264abb899df2e434e01a2c,436592444c584ad1b5a679fc5ac3ef73,275b77c77344470ea771c19b8b2780c9,52b45f6243cc407d9ed0adb1c879be11
Lager für Klappstachelreihen Unterkorbeinsatz BOSCH 00625281 für Geschirrspüler
207740
Lager für Klappstachelreihen Unterkorbeinsatz BOSCH 00625281 für Geschirrspüler

Lager f.Klappstachelreihen Unterk. K8 Geschirrkorb
5be304e4b1264abb899df2e434e01a2c,436592444c584ad1b5a679fc5ac3ef73,275b77c77344470ea771c19b8b2780c9,dc70c27085934cb5acc4cd088fc0a361
Dichtung 00611913
206852
Dichtsatz für Salzbehälter Bosch 00611913 in Geschirrspüler

Dieses Set für die Enthärtungsanlage bzw. Salzanlage besteht aus 2 O-Ring Gummidichtungen und 2 Kunststoffringen bzw. Stützringen für die Spülmaschine.
Es ist u.a. auch passend wie Küppersbusch 436669
- 2 x transparente Kunststoffringe: 22 mm Ø, 7mm hoch
- 2 x schwarze O-Ringe: 21 mm Außen-Ø, 5 mm hoch Zubehör
5be304e4b1264abb899df2e434e01a2c,436592444c584ad1b5a679fc5ac3ef73,275b77c77344470ea771c19b8b2780c9,5ae60379a8ad4940a07e4c25cb127c70
Halter vorne, Set aus rechts und links 00622874
207629
Halter BOSCH 00622874 für Geschirrspüler 2Stk

vorne, Set aus rechts und links Gehäuseteile
5be304e4b1264abb899df2e434e01a2c,436592444c584ad1b5a679fc5ac3ef73,275b77c77344470ea771c19b8b2780c9,6f364c83e8954316926998e24fee04f5
Außentür Verzinkt, I, 81cm, 640 00681320
211410
Außentür Verzinkt, I, 81cm, 640 00681320

Tür
5be304e4b1264abb899df2e434e01a2c,436592444c584ad1b5a679fc5ac3ef73,275b77c77344470ea771c19b8b2780c9,b3a18cc8734147fcaa878cba5c92088e
Schraube 4,0 x 11, TX20 00151703
283216
Schraube 4,0 x 11, TX20 00151703

Zubehör
5be304e4b1264abb899df2e434e01a2c,436592444c584ad1b5a679fc5ac3ef73,275b77c77344470ea771c19b8b2780c9,5ae60379a8ad4940a07e4c25cb127c70
Aufhängung für Heizpumpe BOSCH 00611330 für Geschirrspüler
296350
Aufhängung für Heizpumpe BOSCH 00611330 für Geschirrspüler

Pumpe
5be304e4b1264abb899df2e434e01a2c,436592444c584ad1b5a679fc5ac3ef73,275b77c77344470ea771c19b8b2780c9,a6fc36f119c94834891177d39aebb5e1
Abdeckung Ablenkklammer Zufuhrrohr für Geschirrspüler Bosch 12042749 Zuführung, Klammer
11027689
Gehäuseteile
5be304e4b1264abb899df2e434e01a2c,436592444c584ad1b5a679fc5ac3ef73,275b77c77344470ea771c19b8b2780c9,6f364c83e8954316926998e24fee04f5
Waschmaschinenreiniger BOSCH SIEMENS 00311926 für eine Anwendung 200g
339696
Waschmaschinenreiniger BOSCH SIEMENS 00311926 für eine Anwendung 200g

Geeignet, um organische Ablagerungen wie z.B. Waschmittelrückstände zu entfernen. Es verhindert die Entstehung unangenehmer Gerüche und sorgt für einen sauberen Waschmaschineninnenraum.
- Sorgt für einen sauberen, hygienischen Innenbereich der Waschmaschine, was die Waschergebnisse verbessern kann.
- Geeignet um Rückstände, wie z.B Waschmittel, aus dem Gerät zu entfernen.
- Verhindert das Entstehen unangenehmer Gerüche.
- Zur Anwendung alle 3 Monate (1 Packung ist eine Dosis).
Anwendung:
Den gesamten Inhalt dieser Packung in die leere Trommel der Waschmaschine geben und das Hauptwaschprogramm mit 90° C bzw. 95° C (ohne Vorwäsche / siehe Gerätegebrauchsanweisung) komplett durchlaufen lassen.

Inhaltsstoffe gemäß VO (EG) Nr. 648/2004: 5-15% Bleichmittel auf Sauerstoffbasis.

Waschmaschinenreiniger
5be304e4b1264abb899df2e434e01a2c,47067e90b5dc4b1d9f40bc3cdd7c85c3,3017057ce80b4d85aae42a1e4928e81a,a8b34b01dd7f4c159d4bd94f9c5b47ae
Sensor Türmuldeneinsatz BOSCH 00630627 für Geschirrspüler
207958
Sensor Türmuldeneinsatz BOSCH 00630627 für Geschirrspüler

Steuerung
5be304e4b1264abb899df2e434e01a2c,436592444c584ad1b5a679fc5ac3ef73,275b77c77344470ea771c19b8b2780c9,a0310176b38b40b4be1c70508f25f455
Maschinenentkalker EUROPART für Waschmaschine Geschirrspüler 200g
10102198

Maschinenentkalker EUROPART für Waschmaschine Geschirrspüler 200g

1 Beutel Entkalkungspulver mit 200 g - für eine Anwendung - zur Pflege und Werterhaltung von Wasch- und Spülmaschinen.
Durch die Anwendung von EUROPART Entkalker lösen Sie bereits verkrustete Kalkablagerungen an den Heizstäben bzw. der Heizung Ihres Gerätes.
Dies hat zur Folge, dass die Heizleistung wieder optimiert und unnötiger Energieverlust verhindert wird. Dadurch kann sich der Programmablauf spürbar verkürzen und Energie eingespart werden.
Vor der Anwendung bitte grobe Verunreinigungen aus dem Sieb bzw. Filter der Maschine entfernen.
Empfohlene Anwendung: alle 6 Monate.
ANWENDUNG BEI GESCHIRRSPÜLERN:
Beim Entkalken sollte sich kein Geschirr in der Spülmaschine befinden. Maschine ohne Geschirrreiniger im 65°C-Programm in Betrieb setzen. Den Inhalt dieser Packung im Hauptspülgang großflächig in die Maschine einstreuen und das Programm vollständig ablaufen lassen.
ANWENDUNG BEI WASCHMASCHINEN WASCHTROCKNERN:
Beim Entkalken sollte keine Wäsche in der Mascchine sein. Inhalt dieser Packung direkt in die Trommel der Waschmaschine oder in die Einspülkammer geben. Sofort das Programm für die Hauptwäsche mit 60°C starten und vollständig ablaufen lassen.
HINWEIS: Bei Waschmaschinen, die nach dem Jet-Verfahren waschen, nur die Hälfte der Packung verwenden und den Entkalkungsvorgang ggfs. 2 mal durchführen.
Bei sehr starker Verkalkung Vorgang ggfs. wiederholen.
Enthält 40 - 60 % Zitronensäure, Hilfsmittel.
Bitte beachten Sie die Anwendungshinweise in der Bedienungsanleitung Ihrer Geräte.
TIPP: Empfohlen wird eine abwechselnde Anwendung von Maschinenentkalker und Maschinenentkalker.
Entkalker bzw. Entkalkerlösung nicht auf säureempfindliches Material (Emaille, Marmor, Aluminium) geben, da sonst die Oberfläche beschädigt werden kann.
Wenn die Geschirrspülmaschine sehr stark verkalkt ist, ist u.U. die Enthärtungsanlage nicht in Ordnung und sollte überprüft werden.

Waschmaschinenreiniger,Waschmaschinenentkalker
5be304e4b1264abb899df2e434e01a2c,47067e90b5dc4b1d9f40bc3cdd7c85c3,3017057ce80b4d85aae42a1e4928e81a,af5efa7a40c24e01be97f78cf69e215f,1d77ee82fcea4ffcb6bfa7f4884f919d,a8b34b01dd7f4c159d4bd94f9c5b47ae,ae27b8bd54364994a020f5de606d1ef9
Überlauf für Geschirrspüler Bosch 11033884 Ablauf, Wasser
10028820

Überlauf 11033884 Originalersatzteil von Bosch

Originalteil von Bosch Überlauf 11033884

Sondersortiment
5be304e4b1264abb899df2e434e01a2c,436592444c584ad1b5a679fc5ac3ef73,275b77c77344470ea771c19b8b2780c9,c8777649a8d244adbf3354e7205bc8a8
Kabelschuh für Geschirrspüler Bosch 00067776 Aquastopventil, Stoßverbinder
282548
Sondersortiment
5be304e4b1264abb899df2e434e01a2c,436592444c584ad1b5a679fc5ac3ef73,275b77c77344470ea771c19b8b2780c9,c8777649a8d244adbf3354e7205bc8a8
Verschraubung BOSCH 00623541 Abdeckung für Expansionsöffnung Wassertasche Geschirrspüler
207657
Verschraubung BOSCH 00623541 Abdeckung für Expansionsöffnung Wassertasche Geschirrspüler

Inklusive Dichtung. Z.B. enthalten in Regenerierdosierung BSH-Nr. 00770952
Passend u.a. auch wie Küppersbusch 440662 Wassertasche
5be304e4b1264abb899df2e434e01a2c,436592444c584ad1b5a679fc5ac3ef73,275b77c77344470ea771c19b8b2780c9,606a3c15c7764c98b27b232dc083839d
Rückschlagventil für Sammeltopf Bosch 00611320 für Geschirrspüler
157761
Rückschlagventil für Sammeltopf Bosch 00611320

OT: OriginalTeil BSH-Gruppe/Bosch/Siemens.. 00611320.
Befindet sich zwischen dem Sammeltopf (Pumpentopf) und dem Schlauch der zum Wärmetauscher führt. Pumpentopf
5be304e4b1264abb899df2e434e01a2c,436592444c584ad1b5a679fc5ac3ef73,275b77c77344470ea771c19b8b2780c9,52b45f6243cc407d9ed0adb1c879be11
Schlauchschelle 28-39mmØ für Auslaufstutzen Heizpumpe 00172272 172272 Bosch, Sie
172507
Schlauchschelle 28-39mmØ für Auslaufstutzen Heizpumpe 5 mm Breite, eingesetzt in Spülmaschinen

Originalteil: BSH-Gruppe/Bosch/Siemens 00172272
Passend auch wie Küppersbusch 427078. Enthalten z.B. in Heizpumpen komplett BSH-Nr. 00755078, 00651956.
  • Durchmesser: 28 - 39 mm
  • Höhe: 5 mm
Zubehör
5be304e4b1264abb899df2e434e01a2c,436592444c584ad1b5a679fc5ac3ef73,275b77c77344470ea771c19b8b2780c9,5ae60379a8ad4940a07e4c25cb127c70
Blechschraube BOSCH 00167241 Torx® T20 4mm-16mm für Geschirrspüler
283884
Blechschraube BOSCH 00167241 Torx® T20 4mm-16mm für Geschirrspüler

Passend u.a. auch wie Küppersbusch 426529 , Whirlpool-Gruppe 481250218511 481250218527 Indesit-Company C00332079 C00332082 , Gorenje 793419 , Küppersbusch 434793
Rundkopfschraube Torx® Innensechsrund T20 Gehäuseteile
5be304e4b1264abb899df2e434e01a2c,436592444c584ad1b5a679fc5ac3ef73,275b77c77344470ea771c19b8b2780c9,6f364c83e8954316926998e24fee04f5
Dichtung Bosch 10008524 für Geschirrspüler
381588
Dichtung Bosch 10008524 für Geschirrspüler

Dichtungen
5be304e4b1264abb899df2e434e01a2c,436592444c584ad1b5a679fc5ac3ef73,275b77c77344470ea771c19b8b2780c9,3e9cf2ee74bd425fac13ec3e5bed7e89
Maschinenreiniger Bosch 00312477 für Geschirrspüler 4Stck
11000660
Maschinenreiniger Bosch 00312477 für Geschirrspüler 4Stck

Entfernt kraftvoll Fett-, Stärke- und Eiweißrückstände
Maschinenreiniger für Geschirrspülmaschinen (West, East Version)
Entfernt kraftvoll Fett-, Stärke- und Eiweißrückstände Spülmaschinenreiniger
5be304e4b1264abb899df2e434e01a2c,436592444c584ad1b5a679fc5ac3ef73,275b77c77344470ea771c19b8b2780c9,e04f850016cb4b58bdde2847db9b5c59
Gehäuse-Befestigungssatz rechts / links 00622861 622861 Bosch, Siemens, Neff
156117

Gehäusebefestigung BOSCH 00622861 Set rechts links für Geschirrspüler

Mit diesem Befestigungssatz wird das Gerät am Schrank verschraubt.

Gehäuseteile
5be304e4b1264abb899df2e434e01a2c,436592444c584ad1b5a679fc5ac3ef73,275b77c77344470ea771c19b8b2780c9,6f364c83e8954316926998e24fee04f5
Maschinenpfleger BOSCH 00311994 für Geschirrspüler 250ml 00311580
10003159
Maschinenpfleger BOSCH 00311994 für Geschirrspüler 250ml

Geeignet zur regelmäßigen Pflege von Geschirrspülmaschinen
Regelmäßige Anwendung sorgt für einwandfreie Spülergebnisse und ein langes Geräteleben
Inhalt: 250 ml, ausreichend für eine Anwendung
Auch im 4er Pack unter Materialnummer BSH-Gruppe 00311997 erhältlich

Dieses Ersatzteil passt exakt wie das Vorgänger-Teil mit der Herstellernummer 00311580

Spülmaschinenreiniger
5be304e4b1264abb899df2e434e01a2c,436592444c584ad1b5a679fc5ac3ef73,275b77c77344470ea771c19b8b2780c9,e04f850016cb4b58bdde2847db9b5c59
Schlüsselwerkzeug BOSCH 00342189 InnensechskantSchlüssel für Geschirrspüler
157823

Schlüsselwerkzeug BOSCH 00342189 InnensechskantSchlüssel für Geschirrspüler

Passend für den Salzbehälter-Gewindering, die Regenerierdosierungsverschraubung, Wassereinlaufbolzen und -schraube.

Salzbehälter
5be304e4b1264abb899df2e434e01a2c,436592444c584ad1b5a679fc5ac3ef73,275b77c77344470ea771c19b8b2780c9,e3df607a8730419d92d273dd5fd68b86
Kabelbaum 12029073 Originalersatzteil von Bosch
10017383

Kabelbaum 12029073 Originalersatzteil von Bosch

Originalteil von Bosch Kabelbaum 12029073

Bosch/Siemens/Neff Ersatzteil
5be304e4b1264abb899df2e434e01a2c,2191fbdc920b4a25af306eb17d62adc0,947dbb1918d449d28062fae2df77aee5
Kabelbaum 00757732
241273
Steuerung
5be304e4b1264abb899df2e434e01a2c,436592444c584ad1b5a679fc5ac3ef73,275b77c77344470ea771c19b8b2780c9,a0310176b38b40b4be1c70508f25f455
Connectivitymodul 10014475 Originalersatzteil von Bosch
10017010

Connectivitymodul 10014475 Originalersatzteil von Bosch

Originalteil von Bosch Connectivitymodul 10014475

Bosch/Siemens/Neff Ersatzteil
5be304e4b1264abb899df2e434e01a2c,2191fbdc920b4a25af306eb17d62adc0,947dbb1918d449d28062fae2df77aee5
Bedienmodul unprogrammiert 11027991 Originalersatzteil von Bosch
10017043

Bedienmodul unprogrammiert 11027991 Originalersatzteil von Bosch

Originalteil von Bosch Bedienmodul unprogrammiert 11027991

Bosch/Siemens/Neff Ersatzteil
5be304e4b1264abb899df2e434e01a2c,2191fbdc920b4a25af306eb17d62adc0,947dbb1918d449d28062fae2df77aee5
Deckel 12004867
216036
Gehäuseteile
5be304e4b1264abb899df2e434e01a2c,436592444c584ad1b5a679fc5ac3ef73,275b77c77344470ea771c19b8b2780c9,6f364c83e8954316926998e24fee04f5
Isolierteil 11004894
214677
Gehäuseteile
5be304e4b1264abb899df2e434e01a2c,436592444c584ad1b5a679fc5ac3ef73,275b77c77344470ea771c19b8b2780c9,6f364c83e8954316926998e24fee04f5
Kabel 10001567
266866
Anschluss
5be304e4b1264abb899df2e434e01a2c,436592444c584ad1b5a679fc5ac3ef73,275b77c77344470ea771c19b8b2780c9,ccde26b0e22a400c890604807c43a7da
Reparatursatz-Kondensat 11046662 Originalersatzteil von Bosch
10028518

Reparatursatz-Kondensat 11046662 Originalersatzteil von Bosch

Originalteil von Bosch Reparatursatz-Kondensat 11046662

Bosch/Siemens/Neff Ersatzteil
5be304e4b1264abb899df2e434e01a2c,2191fbdc920b4a25af306eb17d62adc0,947dbb1918d449d28062fae2df77aee5
Deckel BOSCH 00611576 für Reinigerfach Dosierkombination Geschirrspüler
206841
Deckel BOSCH 00611576 für Reinigerfach Dosierkombination Geschirrspüler

Inklusive Feder.
Passend auch wie Küppersbusch 436642 Dosierkammer
5be304e4b1264abb899df2e434e01a2c,436592444c584ad1b5a679fc5ac3ef73,275b77c77344470ea771c19b8b2780c9,51d1adca2c4b4c208fb873979695daf0
Türscharnierfedern Küppersbusch 441281 für Geschirrspüler 2Stk
605389
Türscharnierfedern Küppersbusch 441281 für Geschirrspüler 2Stk

Bestehend aus 2 x Feder Farbcode schwarz, 2 x Seilzug, 1 x Montageanleitung und 1 x Aufkleber ("R"). Türfeder
5be304e4b1264abb899df2e434e01a2c,436592444c584ad1b5a679fc5ac3ef73,275b77c77344470ea771c19b8b2780c9,583b7157222f4fd4a1a8d58d676ddcec
Sensor für Salzbehälter BOSCH 10007258 in Geschirrspüler
10028522

Sensor 10007258 Originalersatzteil von Bosch

Originalteil von Bosch Sensor 10007258

Türschloss
5be304e4b1264abb899df2e434e01a2c,436592444c584ad1b5a679fc5ac3ef73,275b77c77344470ea771c19b8b2780c9,56ef51792b4f42aab29cae33f433612e
Reiniger 00311946 00311774
377205

Dieses Ersatzteil passt exakt wie das Vorgänger-Teil mit der Herstellernummer 00311774

Wartung & Pflege,Zubehör,Ofenreiniger,Ofen Reinigung
5be304e4b1264abb899df2e434e01a2c,436592444c584ad1b5a679fc5ac3ef73,af6babb93db042e7b7fb7a417eca6410,c8ad32137fb34e3c899397ddeb15abcf,b78a4fd07db244319a0e959320868b6f,af5efa7a40c24e01be97f78cf69e215f,0238f69612e948ae9b7f882258d470e4,52d83cad17c04c488ddaa3268a657bd4,92b8eabc47cc4989aca22e0847d3a651,ab1b62e70e6c4dd89ecffdbbe69a8ab0
Maschinenreiniger Set Bosch Siemens 00312258 für Geschirrspüler 4x3Beutel
617451
Maschinenreiniger Set Bosch Siemens 00312258 für Geschirrspüler 4x3Beutel

Entfernt effektiv Fett-, Stärke- und Eiweißrückstände im gesamten Innenraum des Geräts
Interne Geräteteile, Schläuche und Pumpen werden perfekt gereinigt
Passt perfekt in Ihren Spender
Inhalt: 4 Packungen. Jede Packung enthält 3 Beutel à 45 g. Ausreichend für 12 Behandlungen. Spülmaschinenreiniger
5be304e4b1264abb899df2e434e01a2c,436592444c584ad1b5a679fc5ac3ef73,275b77c77344470ea771c19b8b2780c9,e04f850016cb4b58bdde2847db9b5c59
Sensor optische Klarspüler-Mangelanzeige 00611574
206840
Steuerung
5be304e4b1264abb899df2e434e01a2c,436592444c584ad1b5a679fc5ac3ef73,275b77c77344470ea771c19b8b2780c9,a0310176b38b40b4be1c70508f25f455
Dämmplatte Daemmvlies Dach u.Seite re., Stand, 81 cm, Zeolith 00773661
213892
Dämmplatte Daemmvlies Dach u.Seite re., Stand, 81 cm, Zeolith 00773661

Zeolith,Dämmplatte
5be304e4b1264abb899df2e434e01a2c,436592444c584ad1b5a679fc5ac3ef73,275b77c77344470ea771c19b8b2780c9,41255922a93c4308811ac6462215ea55,4d18a078c2a447dbb7efe57de2d7dbbd
Schraube Bosch 00611311 für Geschirrspüler
296347
Schraube Bosch 00611311 für Geschirrspüler

Bestehend aus 6 Schrauben Zubehör
5be304e4b1264abb899df2e434e01a2c,436592444c584ad1b5a679fc5ac3ef73,275b77c77344470ea771c19b8b2780c9,5ae60379a8ad4940a07e4c25cb127c70
Abdeckung 00636332
303231
Gehäuseteile
5be304e4b1264abb899df2e434e01a2c,436592444c584ad1b5a679fc5ac3ef73,275b77c77344470ea771c19b8b2780c9,6f364c83e8954316926998e24fee04f5
Halter Für Zu- und Ablaufschlauch 00644991
304414
Halter Für Zu- und Ablaufschlauch 00644991

Gehäuseteile
5be304e4b1264abb899df2e434e01a2c,436592444c584ad1b5a679fc5ac3ef73,275b77c77344470ea771c19b8b2780c9,6f364c83e8954316926998e24fee04f5
Schlauchschelle 20-32mm verzinkt für Geschirrspüler Com [Hersteller-Artikelnummer] Ablaufschlauch
11011777
Schlauch
5be304e4b1264abb899df2e434e01a2c,436592444c584ad1b5a679fc5ac3ef73,275b77c77344470ea771c19b8b2780c9,40ee0815bd1042dfa6b07fc66864eca1
Gummifuss 00614928
207079
Gehäuseteile
5be304e4b1264abb899df2e434e01a2c,436592444c584ad1b5a679fc5ac3ef73,275b77c77344470ea771c19b8b2780c9,6f364c83e8954316926998e24fee04f5
Abdeckung 00633445
208070
Pumpentopf
5be304e4b1264abb899df2e434e01a2c,436592444c584ad1b5a679fc5ac3ef73,275b77c77344470ea771c19b8b2780c9,52b45f6243cc407d9ed0adb1c879be11
Klammer 12005588
384175
Geschirrkorb
5be304e4b1264abb899df2e434e01a2c,436592444c584ad1b5a679fc5ac3ef73,275b77c77344470ea771c19b8b2780c9,dc70c27085934cb5acc4cd088fc0a361
Pumpentopf Küppersbusch 436673 für Geschirrspüler Küppersbusch
11031531
Pumpentopf Küppersbusch 436673 für Geschirrspüler Küppersbusch

Passend u.a. auch wie BSH-Gruppe/Bosch.. 00668102 Pumpentopf
5be304e4b1264abb899df2e434e01a2c,436592444c584ad1b5a679fc5ac3ef73,275b77c77344470ea771c19b8b2780c9,52b45f6243cc407d9ed0adb1c879be11
Türmontagesatz Küppersbusch 437784 für integrierte Geschirrspüler
612333
Türmontagesatz Küppersbusch 437784 für integrierte Geschirrspüler

Dieser Einbausatz für die Außentüre an integrierten und vollintegrierten Spülmaschinen ist u.a. auch passend wie BSH-Gruppe/Bosch.. 00618833 Sondersortiment
5be304e4b1264abb899df2e434e01a2c,436592444c584ad1b5a679fc5ac3ef73,275b77c77344470ea771c19b8b2780c9,c8777649a8d244adbf3354e7205bc8a8
Ausgleichsleiste Edelstahl h=57,5mm 00749707
240449
Ausgleichsleiste Edelstahl h=57,5mm 00749707

Gehäuseteile
5be304e4b1264abb899df2e434e01a2c,436592444c584ad1b5a679fc5ac3ef73,275b77c77344470ea771c19b8b2780c9,6f364c83e8954316926998e24fee04f5
Überlauf für Geschirrspüler Bosch 00655504 Ablauf
229516
Sondersortiment
5be304e4b1264abb899df2e434e01a2c,436592444c584ad1b5a679fc5ac3ef73,275b77c77344470ea771c19b8b2780c9,c8777649a8d244adbf3354e7205bc8a8
Griff 12014004
385458
Türgriff
5be304e4b1264abb899df2e434e01a2c,436592444c584ad1b5a679fc5ac3ef73,275b77c77344470ea771c19b8b2780c9,759b584452764f3ca57b9b37451191e4
Leistungselektronik unprogrammiert BOSCH 12027152 für Geschirrspüler
10016411

Leistungsmodul unprogrammiert 12027152 Originalersatzteil von Bosch

Originalteil von Bosch Leistungsmodul unprogrammiert 12027152

Steuerung
5be304e4b1264abb899df2e434e01a2c,436592444c584ad1b5a679fc5ac3ef73,275b77c77344470ea771c19b8b2780c9,a0310176b38b40b4be1c70508f25f455
Hilfswerkzeug Metallmutter BOSCH 15000364 für Geschirrspüler
10016408

Hilfswerkzeug 15000364 Originalersatzteil von Bosch

Originalteil von Bosch Hilfswerkzeug 15000364

Sondersortiment
5be304e4b1264abb899df2e434e01a2c,436592444c584ad1b5a679fc5ac3ef73,275b77c77344470ea771c19b8b2780c9,c8777649a8d244adbf3354e7205bc8a8
Blech zwischen Zeolithbehälter und Basisträger Hitzeschutzblech zwischen Zeolithbehälter und Basi 12009747
10016410

Blech 12009747 Originalersatzteil von Bosch

Originalteil von Bosch Blech 12009747

Gehäuseteile
5be304e4b1264abb899df2e434e01a2c,436592444c584ad1b5a679fc5ac3ef73,275b77c77344470ea771c19b8b2780c9,6f364c83e8954316926998e24fee04f5
Schnellentkalker BOSCH 00312340 für Waschmaschine Geschirrspüler 250g
10103399
Schnellentkalker BOSCH 00312340 für Waschmaschine Geschirrspüler 250g

Entfernt schnell und kraftvoll Kalkablagerungen
Besonders empfohlen bei hartem Wasser
Für WASCHMASCHINEN:
Nicht bei emailliertem Behälter verwenden. Inhalt der Dose (ohne Wäsche und Waschmittel) in die Waschmaschine geben und 60°C Buntwäsche-Programm ohne Vorwäsche durchlaufen lassen. Anschließend das Programm zur gründlichen Spülung nochmals durchlaufen lassen.
Für SPÜLMASCHINEN:
Darf nicht zusammen mit Geschirrspülmitteln angewandt werden. Gerät ohne Spülgut im Programm mit höchster Temperaturangabe starten. Nach 30 Minuten Gerät vorsichtig öffnen und den Inhalt der Dose zugeben. Ausnahme: Bei vorhandenem Maschinenpflege-Programm (siehe Gerätegebrauchsanweisung) bitte diese Einstellung auswählen und den Entkalker bereits vor Programmstart beigeben. Anschließend das Programm zur gründlichen Spülung nochmals durchlaufen lassen. Waschmaschinenreiniger
5be304e4b1264abb899df2e434e01a2c,47067e90b5dc4b1d9f40bc3cdd7c85c3,3017057ce80b4d85aae42a1e4928e81a,a8b34b01dd7f4c159d4bd94f9c5b47ae
Maschinenpfleger Bosch 00311995 für Geschirrspüler 250ml
618508
Maschinenpfleger Bosch 00311995 für Geschirrspüler 250ml

Maschinenpfleger für Geschirrspülmaschinen (South Version)
Entfernt Fett und Kalk
Inhalt: 1 x 250 ml, ausreichend für eine Anwendungen Spülmaschinenreiniger
5be304e4b1264abb899df2e434e01a2c,436592444c584ad1b5a679fc5ac3ef73,275b77c77344470ea771c19b8b2780c9,e04f850016cb4b58bdde2847db9b5c59
Kabel 00634941
208154
Kabel COM Modul 00634941

Anschluss
5be304e4b1264abb899df2e434e01a2c,436592444c584ad1b5a679fc5ac3ef73,275b77c77344470ea771c19b8b2780c9,ccde26b0e22a400c890604807c43a7da
Griff 12005521
384159
Griff Edelstahl, Set für Unter- und Oberkorb, SE 12005521

Türgriff
5be304e4b1264abb899df2e434e01a2c,436592444c584ad1b5a679fc5ac3ef73,275b77c77344470ea771c19b8b2780c9,759b584452764f3ca57b9b37451191e4
Sensor Küppersbusch 436677 für Geschirrspüler
607071

Sensor Küppersbusch 436677 für Geschirrspüler

Inklusive O-Ring. Dieser optische Wasserindikator befindet sich am Pumpentopf (Ablaufschacht , Sammeltopf. Der innenliegende Lichtsensor misst den Schmutzgrad des Wassers und stellt die Spültemperatur zwischen 40°C und 70°C ein. (Manche Geräte regeln auch den Wasserstand über einen solchen Sensor; dies geschieht aber nur optisch.)

Türschloss
5be304e4b1264abb899df2e434e01a2c,436592444c584ad1b5a679fc5ac3ef73,275b77c77344470ea771c19b8b2780c9,56ef51792b4f42aab29cae33f433612e
Connectivitymodul 10005732
267611
Steuerung
5be304e4b1264abb899df2e434e01a2c,436592444c584ad1b5a679fc5ac3ef73,275b77c77344470ea771c19b8b2780c9,a0310176b38b40b4be1c70508f25f455
Schraube für Bosch Zubehör 00611659 Befestigungselement
10028832

Schraube 00611659 Originalersatzteil von Bosch

Originalteil von Bosch Schraube 00611659

Zubehör
5be304e4b1264abb899df2e434e01a2c,436592444c584ad1b5a679fc5ac3ef73,275b77c77344470ea771c19b8b2780c9,5ae60379a8ad4940a07e4c25cb127c70
Abdeckung 00636331
303230
Gehäuseteile
5be304e4b1264abb899df2e434e01a2c,436592444c584ad1b5a679fc5ac3ef73,275b77c77344470ea771c19b8b2780c9,6f364c83e8954316926998e24fee04f5
Halter 00638191
208360
Gehäuseteile
5be304e4b1264abb899df2e434e01a2c,436592444c584ad1b5a679fc5ac3ef73,275b77c77344470ea771c19b8b2780c9,6f364c83e8954316926998e24fee04f5
Abdeckung 00657927
229838
Abdeckung links und rechts für Türscharnier 00657927

Pumpentopf
5be304e4b1264abb899df2e434e01a2c,436592444c584ad1b5a679fc5ac3ef73,275b77c77344470ea771c19b8b2780c9,52b45f6243cc407d9ed0adb1c879be11
Dämmplatte für Aussentür I/VI 11004977
381879
Dämmplatte für Aussentür I/VI 11004977

Dämmplatte
5be304e4b1264abb899df2e434e01a2c,436592444c584ad1b5a679fc5ac3ef73,275b77c77344470ea771c19b8b2780c9,41255922a93c4308811ac6462215ea55
Türdichtung unten Küppersbusch 436645 für Geschirrspüler
611830
Türdichtung unten Küppersbusch 436645 für Geschirrspüler

Diese untere 1-seitige schwarze Gummidichtung für die Spülmaschine ist u.a. auch passend wie BSH-Gruppe/Bosch.. 00668079 Türdichtung
5be304e4b1264abb899df2e434e01a2c,436592444c584ad1b5a679fc5ac3ef73,275b77c77344470ea771c19b8b2780c9,916ee1c443ef40e4851d064c573dca26
Bügel 11004984
214706
Bügel Bosch 11004984 für Geschirrspüler

silber, Gläseranlage mit Lagerplatten, Gehäuseteile
5be304e4b1264abb899df2e434e01a2c,436592444c584ad1b5a679fc5ac3ef73,275b77c77344470ea771c19b8b2780c9,6f364c83e8954316926998e24fee04f5
Befestigungssatz BOSCH 00612653 Bügel für Sockelblende Geschirrspüler
206908
Befestigungssatz BOSCH 00612653 Bügel für Sockelblende Geschirrspüler

Bestehend aus 2 Schienen bzw. Bügeln, 6 Schrauben und 10 unterschiedlich farbigen Abdeckkappen.
Passend auch wie Küppersbusch 436709 Sockel
5be304e4b1264abb899df2e434e01a2c,436592444c584ad1b5a679fc5ac3ef73,275b77c77344470ea771c19b8b2780c9,6f6cb264a587449d8d5189e2be8578e3
Wasserschlauch für Geschirrspüler Bitron 30880247 ohne Fixierplatte
11027852
Sondersortiment
5be304e4b1264abb899df2e434e01a2c,436592444c584ad1b5a679fc5ac3ef73,275b77c77344470ea771c19b8b2780c9,c8777649a8d244adbf3354e7205bc8a8
EdelstahlPflegeSet BOSCH 00311964 für Backofen Geschirrspüler Kühlschrank
377206

Dieses Ersatzteil passt exakt wie das Vorgänger-Teil mit der Herstellernummer 00311775

Wartung & Pflege
5be304e4b1264abb899df2e434e01a2c,436592444c584ad1b5a679fc5ac3ef73,af6babb93db042e7b7fb7a417eca6410,0238f69612e948ae9b7f882258d470e4
Maschinenpfleger BOSCH 00311997 für Geschirrspüler 4x250ml
377212
Maschinenpfleger BOSCH 00311997 für Geschirrspüler 4x250ml

Dieses Vorteilspack ist geeignet zur regelmäßigen Pflege von Geschirrspülmaschinen
Entfernt Fett und Kalk.
Regelmäßige Anwendung sorgt für einwandfreie Spülergebnisse und ein langes Geräteleben
Inhalt: 4 x 250 ml, ausreichend für vier Anwendungen Spülmaschinenreiniger
5be304e4b1264abb899df2e434e01a2c,436592444c584ad1b5a679fc5ac3ef73,275b77c77344470ea771c19b8b2780c9,e04f850016cb4b58bdde2847db9b5c59
Maschinenpfleger Bosch 00311998 für Geschirrspüler 4x250ml
11029783
Maschinenpfleger Bosch 00311998 für Geschirrspüler 4x250ml

Inhalt: 4 x 250ml, ausreichend für vier Anwendungen
Dieses Vorteilspack ist zur regelmäßigen Pflege von Geschirrspülmaschinen geeignet.
Regelmäßige Anwendung sorgt für einwandfreie Spülergebnisse und ein langes Geräteleben Spülmaschinenreiniger
5be304e4b1264abb899df2e434e01a2c,436592444c584ad1b5a679fc5ac3ef73,275b77c77344470ea771c19b8b2780c9,e04f850016cb4b58bdde2847db9b5c59
Zugabevorrichtung für Ofen Küppersbusch 441846 Dosiermodul
11056746
Dosierkammer,Steuerung
5be304e4b1264abb899df2e434e01a2c,436592444c584ad1b5a679fc5ac3ef73,275b77c77344470ea771c19b8b2780c9,47067e90b5dc4b1d9f40bc3cdd7c85c3,3017057ce80b4d85aae42a1e4928e81a,51d1adca2c4b4c208fb873979695daf0,c9c32be946124357bc1bf3c3c802e6da
Ablaufventil für Ofen Küppersbusch 441849 Wärmetauscher
11057266
Magnetventil,Ventil,Einspülkammer
5be304e4b1264abb899df2e434e01a2c,436592444c584ad1b5a679fc5ac3ef73,6d0b034684f448a88e441e35d5a01b2b,47067e90b5dc4b1d9f40bc3cdd7c85c3,3017057ce80b4d85aae42a1e4928e81a,275b77c77344470ea771c19b8b2780c9,20c1991096f2443485471f7b5d57b3ae,44417ff6a51145f7afbb070133b7521b,5e7747f201f9403da8ffbb5186d3c28b
Mikrofasertuch Set E-CLOTH für Edelstahl Glas Bosch 00312327
11028974
Mikrofasertuch Set E-CLOTH für Edelstahl Glas Bosch 00312327

Jedes E-Cloth besitzt 480.000 Faserstränge pro cm². Durch Kombination dieser einmaligen Fasertechnologie mit Wasser brechen die Fasern auf und nehmen Fett, Schmutz und über 99% der Bakterien auf, die normale Tücher zurücklassen. Das grüne Tuch wird für die allgemeine, gründliche Reinigung verwendet. Die integrierte Tasche mit spezieller Oberflächenstruktur ermöglicht die Reinigung von hartnäckigen Verschmutzungen.
Das blaue Poliertuch wird für die leichte Reinigung und zum Endpolieren verwendet.
Anweisungen zur Verwendung enthält die Gebrausanleitung in der Packung.
Ideale Ergänzung für Edelstahl und Glas: Sicheres und effektives Reinigen, Trocknen und Polieren von Edelstahl, Keramik und Glas.
Vielseitig einsetzbar: Verwenden Sie das Tuch je nach Reinigungsbedarf feucht oder trocken. Kombinieren Sie es bei Bedarf mit einem Oberflächenreiniger für zusätzliche Reinigungskraft. Die Scheuerschwamm-Ecke entfernt effektiv hartnäckigen Schmutz, ohne die Oberfläche zu beschädigen.
Fängt Schmutz ein: Nimmt verteilten Schmutz schnell auf, anstatt ihn auf der Oberfläche herumzuschieben. Der Schmutz wird nicht mehr auf die zu reinigende Oberfläche zurückgeschoben. Fusselfrei.
Keine Chemikalien erforderlich: Die Mikrofasertücher eignen sich perfekt, um Ihre Küche und Ihr Bad mit Wasser blitzsauber zu halten. Ideal für Menschen mit Allergien und Chemikalienempfindlichkeit.
Waschbar und wiederverwendbar: Sparen Sie Geld und reduzieren Sie Abfall, indem Sie das Tuch bei bis zu 60°C erneut waschen. Dieses strapazierfähige Tuch kann mehrfach verwendet werden, ohne seine Wirksamkeit zu verlieren. Herd
5be304e4b1264abb899df2e434e01a2c,436592444c584ad1b5a679fc5ac3ef73,af6babb93db042e7b7fb7a417eca6410
Tassenetagere 12005556
384167
Geschirrkorb
5be304e4b1264abb899df2e434e01a2c,436592444c584ad1b5a679fc5ac3ef73,275b77c77344470ea771c19b8b2780c9,dc70c27085934cb5acc4cd088fc0a361
Bedienmodul für Bedienteil Bosch 11030770 programmiert, Waschmaschine
10018740

Bedienmodul programmiert 11030770 Originalersatzteil von Bosch

Originalteil von Bosch Bedienmodul programmiert 11030770

Bedienteil
5be304e4b1264abb899df2e434e01a2c,436592444c584ad1b5a679fc5ac3ef73,275b77c77344470ea771c19b8b2780c9,6930dd2ea7744e0eaca3dce9b44bb0d4
Spannrollenlager für Geschirrspüler Com 00165296 Zugseil
11028513
Sondersortiment
5be304e4b1264abb899df2e434e01a2c,436592444c584ad1b5a679fc5ac3ef73,275b77c77344470ea771c19b8b2780c9,c8777649a8d244adbf3354e7205bc8a8
Plexiglastür für Geschirrspüler Bosch 00341333 Innentür
10028813

Plexiglastür 00341333 Originalersatzteil von Bosch

Originalteil von Bosch Plexiglastür 00341333

Tür
5be304e4b1264abb899df2e434e01a2c,436592444c584ad1b5a679fc5ac3ef73,275b77c77344470ea771c19b8b2780c9,b3a18cc8734147fcaa878cba5c92088e
Mutter für Geschirrspüler Küppersbusch 436671 Salzbehälterbefestigung
11002028
Salzbehälter
5be304e4b1264abb899df2e434e01a2c,436592444c584ad1b5a679fc5ac3ef73,275b77c77344470ea771c19b8b2780c9,e3df607a8730419d92d273dd5fd68b86
Besteckkorb für Küppersbusch Geschirrspüler 436770 Unterkorb
11002035
Besteckkorb
5be304e4b1264abb899df2e434e01a2c,436592444c584ad1b5a679fc5ac3ef73,275b77c77344470ea771c19b8b2780c9,95f1235cef6842fd8204f1fb4ca40fa1
Microsieb für Küppersbusch Geschirrspüler 436716 Spülmaschine
11002043
Sieb
5be304e4b1264abb899df2e434e01a2c,436592444c584ad1b5a679fc5ac3ef73,275b77c77344470ea771c19b8b2780c9,6203423ecb63427694d641813b307aa8
Feinsieb für Küppersbusch Geschirrspüler 436715 Spülkorb
11002042
Sieb
5be304e4b1264abb899df2e434e01a2c,436592444c584ad1b5a679fc5ac3ef73,275b77c77344470ea771c19b8b2780c9,6203423ecb63427694d641813b307aa8
Anschlusskabel wie BOSCH 00645033 für Geschirrspüler
10005319
Anschlusskabel wie BOSCH 00645033 für Geschirrspüler

AlternativTeil passend u.a. wie BSH-Gruppe/Bosch.. 00645033 , Küppersbusch 436707 Anschluss
5be304e4b1264abb899df2e434e01a2c,436592444c584ad1b5a679fc5ac3ef73,275b77c77344470ea771c19b8b2780c9,ccde26b0e22a400c890604807c43a7da
Anschlusskabel für Geschirrspüler Küppersbusch 436707 1,75m
11011527
Anschluss
5be304e4b1264abb899df2e434e01a2c,436592444c584ad1b5a679fc5ac3ef73,275b77c77344470ea771c19b8b2780c9,ccde26b0e22a400c890604807c43a7da
Klappstachel-Lager für Geschirrspüler Küppersbusch 436754 Halterung
11011522
Zubehör,Geschirrkorb,Glashalter
5be304e4b1264abb899df2e434e01a2c,436592444c584ad1b5a679fc5ac3ef73,275b77c77344470ea771c19b8b2780c9,059a2ba79ae34d8e9a3e8003af9d2e0c,5ae60379a8ad4940a07e4c25cb127c70,dc70c27085934cb5acc4cd088fc0a361
Sensor für Reedkontakt Wassertasche wie BOSCH 00611317 in Geschirrspüler
10100989
Sensor für Reedkontakt Wassertasche wie BOSCH 00611317 in Geschirrspüler

AlternativTeil passend u.a. wie BSH-Gruppe/Bosch.. 00611317 , Küppersbusch 436666
Diese Elektronikplatine für den Flügelradzähler befindet sich an der seitlichen Wassertasche bzw. der Regenerierdosierung der Spülmaschine. Wassertasche
5be304e4b1264abb899df2e434e01a2c,436592444c584ad1b5a679fc5ac3ef73,275b77c77344470ea771c19b8b2780c9,606a3c15c7764c98b27b232dc083839d
Unterer Sprüharm für Küppersbusch Geschirrspüler 436713 Spülmaschine
11002032
Sprüharm
5be304e4b1264abb899df2e434e01a2c,436592444c584ad1b5a679fc5ac3ef73,275b77c77344470ea771c19b8b2780c9,8a26d46fbdc34633b4fe038be27b486c
Besteckkorb wie BOSCH 11018806 für Geschirrspüler
10103546
Besteckkorb wie BOSCH 11057829 für Geschirrspüler

AlternativTeil passend u.a. wie BSH-Gruppe/Bosch.. 11018806 11057829 , Küppersbusch 436770
Der graue Korb mit 2 abnehmbaren Klappdeckeln für größeres Besteck ist im Unterkorb der Spülmaschine eingesetzt. Besteckkorb
5be304e4b1264abb899df2e434e01a2c,436592444c584ad1b5a679fc5ac3ef73,275b77c77344470ea771c19b8b2780c9,95f1235cef6842fd8204f1fb4ca40fa1
Schnellentkalker Set BOSCH 00312351 für Waschmaschine Geschirrspüler 4x250g
10103458
Schnellentkalker Set BOSCH 00312351 für Waschmaschine Geschirrspüler 4x250g

Entfernt Kalk schnell und effektiv.
Ideal in Gebieten mit hartem Wasser.
Inhalt dieses Vorteilspacks: 4 x 250 g Pulver, ausreichend für 4 Anwendungen
Auch einzeln unter BSH-Nr. 00311919 erhältlich
FÜR WASCHMASCHINEN:
Nicht bei emailliertem Behälter verwenden. Inhalt der Dose (ohne Wäsche und Waschmittel) in die Waschmaschine geben und 60°C Buntwäsche-Programm ohne Vorwäsche durchlaufen lassen. Anschließend das Programm zur gründlichen Spülung nochmals durchlaufen lassen.
FÜR SPÜLMASCHINEN
Darf nicht zusammen mit Geschirrspülmitteln angewandt werden. Gerät ohne Spülgut im Programm mit höchster Temperaturangabe starten. Nach 30 Minuten Gerät vorsichtig öffnen und den Inhalt der Dose zugeben. Ausnahme: Bei vorhandenem Maschinenpflege-Programm (siehe Gerätegebrauchsanweisung) bitte diese Einstellung auswählen und den Entkalker bereits vor Programmstart beigeben. Anschließend das Programm zur gründlichen Spülung nochmals durchlaufen lassen. Spülmaschinenreiniger
5be304e4b1264abb899df2e434e01a2c,436592444c584ad1b5a679fc5ac3ef73,275b77c77344470ea771c19b8b2780c9,e04f850016cb4b58bdde2847db9b5c59
Sieb Set wie Bosch 00645038 2-teilig für Geschirrspüler 10101031
11007371
Sieb Set wie Bosch 00645038 2-teilig für Geschirrspüler 10101031

Sieb
5be304e4b1264abb899df2e434e01a2c,436592444c584ad1b5a679fc5ac3ef73,275b77c77344470ea771c19b8b2780c9,6203423ecb63427694d641813b307aa8
Entleerungsschlauch für Küppersbusch Ofen 436689 Ablauf
11050412
Schlauch,Schlauch,Sonstige Gehäuseteile
5be304e4b1264abb899df2e434e01a2c,436592444c584ad1b5a679fc5ac3ef73,275b77c77344470ea771c19b8b2780c9,6d0b034684f448a88e441e35d5a01b2b,40ee0815bd1042dfa6b07fc66864eca1,8fda32d3e84045dd9e213fba97fa8590,efdfc43389f84879837099e9544f7336
Küppersbusch Ofen Scharnier rechts 436704 Türanschlag
11040688
Türscharnier,Tür,Tür,Scharnier,Türscharnier,Scharnier
5be304e4b1264abb899df2e434e01a2c,47067e90b5dc4b1d9f40bc3cdd7c85c3,57c17f77121745b58646dcdad368fdda,436592444c584ad1b5a679fc5ac3ef73,6d0b034684f448a88e441e35d5a01b2b,275b77c77344470ea771c19b8b2780c9,3017057ce80b4d85aae42a1e4928e81a,78416bd269c944e0b5c96161044d9fb5,7fb5fe01d042406485abe3286fe2c91a,8c476ac1fee2492eac0ace43254db03a,8c5eb626d0244a9d99aa45be368bd12b,b3a18cc8734147fcaa878cba5c92088e,ecadc70124ec43f096093cce0b651ce5
Türschloss passend für Bosch 10006917 Türverriegelung emz für Geschirrspüler
11031068

Türschloss passend für Bosch 10006917 Türverriegelung emz für Geschirrspüler

Türschloss
5be304e4b1264abb899df2e434e01a2c,436592444c584ad1b5a679fc5ac3ef73,275b77c77344470ea771c19b8b2780c9,56ef51792b4f42aab29cae33f433612e
Sensor BOSCH 10015609 für Geschirrspüler
10028520

Sensor 10015609 Originalersatzteil von Bosch

Originalteil von Bosch Sensor 10015609

Türschloss
5be304e4b1264abb899df2e434e01a2c,436592444c584ad1b5a679fc5ac3ef73,275b77c77344470ea771c19b8b2780c9,56ef51792b4f42aab29cae33f433612e
Maschinenreiniger Bosch 00312195 für Geschirrspüler 3Stk
615503
Maschinenreiniger Bosch 00312195 für Geschirrspüler 3Stk

- Entfernt effektiv Fett-, Stärke- und Eiweißrückstände im gesamten Innenraum des Geräts
- Interne Geräteteile, Schläuche und Pumpen werden perfekt gereinigt
- Passt perfekt in Ihren Spender - sehr komfortabel da keine Wartezeiten auftreten Spülmaschinenreiniger
5be304e4b1264abb899df2e434e01a2c,436592444c584ad1b5a679fc5ac3ef73,275b77c77344470ea771c19b8b2780c9,e04f850016cb4b58bdde2847db9b5c59
Laugenpumpe passend für Bosch 00631200 Bluparts 10113996 für Geschirrspüler
11059365
Laugenpumpe passend für Bosch 00631200 Bluparts 10113996 für Geschirrspüler

Pumpe
5be304e4b1264abb899df2e434e01a2c,436592444c584ad1b5a679fc5ac3ef73,275b77c77344470ea771c19b8b2780c9,a6fc36f119c94834891177d39aebb5e1
436675 ABDECKUNG
4833409
436675 ABDECKUNG Gehäuseteile,Klappe/Deckel/Türen
3ff1bad0d4ca47bbb8b0066a036a84d2,30373fff7e554d9784a9bf9aa46fb0ca
436686 TRICHTER
4833410
436686 TRICHTER Zubehörteile
97c8d5eb084144cabe0dfd60724c0aa2
436665 GEWINDEBOLZEN MIT DICHTUNG UND KAPPE
4833891
436665 GEWINDEBOLZEN MIT DICHTUNG UND KAPPE
436709 BEFESTIGUNGSSATZ FÜR SOCKEL
4833892
436709 BEFESTIGUNGSSATZ FÜR SOCKEL Befestigungsteile,Halterungen/ Halter
f71f8cec9fb74b7dbf6f3e660a16b372,61253e0b4eb644bfbfeae5eaec6a2d25
436642 DECKEL MIT DICHTUNG UND FEDER FÜR REINIGUNG
4833970
436642 DECKEL MIT DICHTUNG UND FEDER FÜR REINIGUNG Gehäuseteile,Klappe/Deckel/Türen
3ff1bad0d4ca47bbb8b0066a036a84d2,30373fff7e554d9784a9bf9aa46fb0ca
436871 DICHTUNG
4833971
436871 DICHTUNG Dichtungen
8a591e395d7a4bf7bd2c3fca81ae2d8c
436697 ACHSE, SET (WELLE, SCHNECKENRAD)
4834185
436697 ACHSE, SET (WELLE, SCHNECKENRAD) Achsen
0f403b441d5e454e854b225f1dde6454
436714 ABDECKUNG PUMPENTOPF
4834303
436714 ABDECKUNG PUMPENTOPF Gehäuseteile
3ff1bad0d4ca47bbb8b0066a036a84d2
436647 SENSOR FÜR TÜRSCHALTER
4834426
436647 SENSOR FÜR TÜRSCHALTER Schalter / Taster
d14c4d0e1daa4eba95c751e02fbbcdf6
436742 REGENERIERVENTIL
4835093
436742 REGENERIERVENTIL Ventile
5e7747f201f9403da8ffbb5186d3c28b
436656 SOCKELTEIL
4835183
436656 SOCKELTEIL
424261 DAMPFSCHUTZBLECH
7383129
424261 DAMPFSCHUTZBLECH Gehäuseteile
3ff1bad0d4ca47bbb8b0066a036a84d2
426515 DICHTUNG ZULAUF
7384935
426515 DICHTUNG ZULAUF Dichtungen
8a591e395d7a4bf7bd2c3fca81ae2d8c
426529 SCHRAUBE
7384949
426529 SCHRAUBE Befestigungsteile
f71f8cec9fb74b7dbf6f3e660a16b372
426884 VERBINDUNGSTEIL
7385293
426884 VERBINDUNGSTEIL Befestigungsteile
f71f8cec9fb74b7dbf6f3e660a16b372
427158 BLECH
7385552
427158 BLECH Gehäuseteile
3ff1bad0d4ca47bbb8b0066a036a84d2
434859 BESTECKKORB
7389969
434859 BESTECKKORB Gehäuseteile,Korb,Besteckkörbe
3ff1bad0d4ca47bbb8b0066a036a84d2,bf2f260ba7b945469083e5e4a6d63380,95f1235cef6842fd8204f1fb4ca40fa1
SCHLAUCHSCHELLEN-SORTIMENT 100STÜCK
2075084
SCHLAUCHSCHELLEN-SORTIMENT 100STÜCK Befestigungsteile
f71f8cec9fb74b7dbf6f3e660a16b372
12600429 SCHLAUCHSCHELLE 25-40MM B=9MM
333517
12600429 SCHLAUCHSCHELLE 25-40MM B=9MM Befestigungsteile
f71f8cec9fb74b7dbf6f3e660a16b372
12600266 SCHLAUCHSCHELLE 30-45MM B=9MM
333518
12600266 SCHLAUCHSCHELLE 30-45MM B=9MM Befestigungsteile
f71f8cec9fb74b7dbf6f3e660a16b372
436690 SCHLAUCHKLEMME
4831134
436690 SCHLAUCHKLEMME Befestigungsteile
f71f8cec9fb74b7dbf6f3e660a16b372
436644 SCHRAUBE 4X16 FÜR BLENDE
4832248
436644 SCHRAUBE 4X16 FÜR BLENDE Befestigungsteile
f71f8cec9fb74b7dbf6f3e660a16b372
436639 DICHTUNG FÜR ZUGABEVORRICHTUNG
4833458
436639 DICHTUNG FÜR ZUGABEVORRICHTUNG Dichtungen
8a591e395d7a4bf7bd2c3fca81ae2d8c
436669 DICHTUNGSSATZ
4833493
436669 DICHTUNGSSATZ Dichtungen
8a591e395d7a4bf7bd2c3fca81ae2d8c
436670 DICHTUNG
4833494
436670 DICHTUNG Dichtungen
8a591e395d7a4bf7bd2c3fca81ae2d8c
436676 DECKEL LAUGENPUMPE
4833598
436676 DECKEL LAUGENPUMPE Stopfen
6a88cd9891b54414987f53d5e312d300
436711 DACHBRAUSE
4833729
436711 DACHBRAUSE Sprühteile/ Düsen
c47eb86219824e8b8da6447b08695047
436674 RÜCKSCHLAGVENTIL
4834033
436674 RÜCKSCHLAGVENTIL Ventile,Rückschlagventile
5e7747f201f9403da8ffbb5186d3c28b,5e7747f201f9403da8ffbb5186d3c28b
TYJ50-8A7 4/4.8 R/MIN 436681 MOTOR WASSERWEICHE
4834598
TYJ50-8A7 4/4.8 R/MIN 436681 MOTOR WASSERWEICHE Motoren,AC-Motoren
322e0abe034c458f91f7ff18d5b23cbe,ffc00158b82a44ccbe81589b5362a84f
436680 WASSERWEICHE
4835184
436680 WASSERWEICHE Schalter / Taster
d14c4d0e1daa4eba95c751e02fbbcdf6
16700046 EINOHRKLEMME DURCHMESSERBEREICH 32,90-36,10MM
5005268
16700046 EINOHRKLEMME DURCHMESSERBEREICH 32,90-36,10MM Befestigungsteile
f71f8cec9fb74b7dbf6f3e660a16b372
16700053 EINOHRKLEMME, DURCHMESSERBEREICH: 37,80-41,00MM
5007539
16700053 EINOHRKLEMME, DURCHMESSERBEREICH: 37,80-41,00MM Befestigungsteile
f71f8cec9fb74b7dbf6f3e660a16b372
424001 SCHRAUBE
7382904
424001 SCHRAUBE Befestigungsteile
f71f8cec9fb74b7dbf6f3e660a16b372
426479 LAGER
7384899
426479 LAGER Befestigungsteile,Halterungen/ Halter
f71f8cec9fb74b7dbf6f3e660a16b372,61253e0b4eb644bfbfeae5eaec6a2d25
426904 SCHRAUBE
7385311
426904 SCHRAUBE Befestigungsteile
f71f8cec9fb74b7dbf6f3e660a16b372
434809 EINSATZ MESSER
7389932
434809 EINSATZ MESSER Gehäuseteile,Korb
3ff1bad0d4ca47bbb8b0066a036a84d2,bf2f260ba7b945469083e5e4a6d63380
ersatzteilshop.de
4.9
Trustpilot Rating
basierend auf 8760 zertifizierten Bewertungen von zufriedenen Kunden
powered by Google and Trustpilot
Konstantinos Katsaounis
Konstantinos Katsaounis vor 3 Wochen
Ich bin sehr zufrieden mit meiner Bestellung. Der Versand ging super schnell, das Ersatzteil hat perfekt gepasst und meine Spülmaschine läuft endlich wieder einwandfrei. Ich bin wirklich dankbar und werde auf jeden Fall wieder hier bestellen.👌🙏👍✅🔝🔝🔝 Liebe Grüße Konstantinos Katsaounis
Tobias Potocki-Meier
Tobias Potocki-Meier vor 2 Wochen
Ich habe ein neues Heizelement für unseren Beko Backofen bestellt. Der Preis war sehr gut, der Versand erfolgte zügig per DHL. Das Teil war ordentlich verpackt, passt perfekt und der Backofen kann nun seine Dienste wieder perfekt verrichten.
Peter Reske
Peter Reske vor 2 Wochen
Zu den von mir bestellten Produkten läßt sich nichts nachteiliges sagen. Produkte und Lieferzeit waren OK. Allein der Verpackungswahnsinn hat mich irritiert. Für zwei relativ kleine Filter für eine Abzugshaube wurden 3 Kartonagen benötigt, obwohl ein kleinerer Karton völlig ausreichend gewesen wäre. Leider habe ich keine Fotos gemacht, aber für die artgerechte Entsorgung habe ich einige Zeit benötigt.
Heinz-Werner Engels
Heinz-Werner Engels vor 2 Monaten
Super schnelle Lieferung des so viel preisgünstigeren Alternativ-Ersatzteils. Austausch gut geklappt. Das Ventil passt einwandfrei, eine gute und günstige Reparatur unserer alten Waschmaschine. Meine Frau ist wieder happy.
Peggy Emmrich
Peggy Emmrich vor 3 Wochen
Es ist so toll. Endlich kann ich wieder meine Bosch My Moments Kaffeemaschine benutzen. Die Kaffeekanne war sehr sehr gut abgesichert und verpackt. Das war wirklich top. Diesen Service ist zu empfehlen. Der Shop ist nur zu empfehlen wenn man etwas sucht und nicht komplett neu kaufen möchte.
Mehr ansehen >
Trustpilot
Trustpilot Rating
Hervorragend
4.9/5.00