Kontaktformular
Whatsapp
Warenkorb
Hamburger Icon

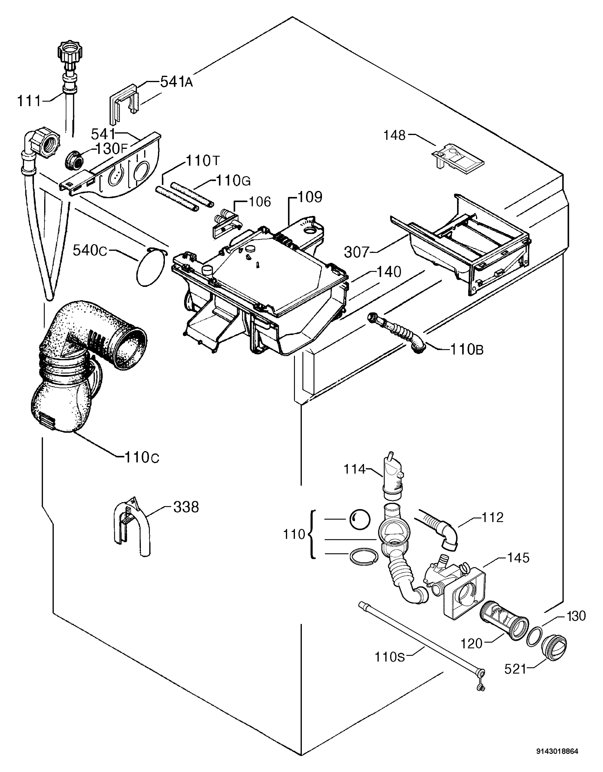
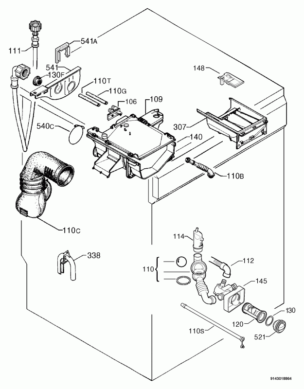
Ersatzteile für Privileg 582.603-7_20225 (91478072200)

Marke
Privileg
Modell
582.603-7_20225
Modellnummer
91478072200
Kategorie
Waschmaschine
  • Diagnose
  • Fehlercodes

Diagnose

Position data Position number Product category ids
Ablaufpumpe wie AEG 132069901/8 Pumpenmotor für Waschmaschine Geschirrspüler
375627
Ablaufpumpe wie AEG 132069901/8 Pumpenmotor für Waschmaschine Geschirrspüler

AlternativTeil passend wie Electrolux-Konzern/AEG... 132069901/8
Magnettechnikpumpe 30 Watt mit Bajonettbefestigung
Solo-Pumpe ohne Pumpenstutzen. Mit Bajonettverschluss und Rast-5-Steckanschluss.
Förderhöhe 1 m.
220-240V / 30W / 50Hz
Anschluss: Rast-5-Stecker Laugenpumpe
5be304e4b1264abb899df2e434e01a2c,47067e90b5dc4b1d9f40bc3cdd7c85c3,3017057ce80b4d85aae42a1e4928e81a,f7c85175f6ae467f97c29a3ac25b679a
Flusensiebdichtung 55mmØ AEG 126061601/4 für Waschmaschine
152595
Flusensiebdichtung 55mmØ Waschmaschine AEG 126061601/4

OT: OriginalTeil Electrolux-Konzern/AEG.. 126061601/4. Flusensieb
5be304e4b1264abb899df2e434e01a2c,47067e90b5dc4b1d9f40bc3cdd7c85c3,3017057ce80b4d85aae42a1e4928e81a,4570b6d68fc14147a89770e2257b7bad
Zulaufschlauch Aquastop 1,5m - Universal anwendbar für Waschmaschine & Geschirrspüler bis 90°C
600500

Wie Sie sich nie wieder um einen Wasserschaden in Ihrem Eigenheim Sorgen müssen

Wer schon einmal einen Wasserschaden in seinem Eigenheim hatte, der weiß, was das für Nerven kosten kann. Die Waschmaschine läuft aus, setzt die ganze Wohnung unter Wasser und alle Möbel sind durchnässt. Was viele nicht wissen ist, dass es einen ganz bestimmten Schlauch gibt, welcher für viele Versicherungen Voraussetzung für Schadensersatz bei einem Wasserschaden ist. 

Dieser Schlauch heißt Aquastopschlauch! Einer der häufigsten Gründe für einen Wasserschaden Deiner Spül- oder Waschmaschine ist die Undichte des Innenschlauches. Platzt dieser Schlauch, fließt das Wasser ungehindert raus und flutet Ihre Wohnung. Bei einem sogenannten Aquastop Schlauch schließt ein mechanischer Lecksensor das Ventil am Schlauchanfang. Somit wird verhindert, dass weiteres Wasser entweichen kann und Ihre Wohnung ist geschützt.  

 

Über das Produkt

  • Qualitativer Sicherheits-Zulaufschlauch / Aquastop-Schlauch
  • Passend für Waschmaschinen von Bosch, AEG, Miele
  • Verfügbare Längen: 1,5m // 2m // 2,5m // 3m // 4m
  • Sicherung vor Schlauchbruch bis 60 bar & 90°C
  • ¾” Zoll Anschluss (26mm)

 

Die Aquastopschläuche vom ersatzteilshop sind absolute Qualitätsprodukte, welche bereits vielen Kunden geholfen haben, Ihre Wohnung vor einem Wasserschaden zu bewahren. 

Anwendung:
Zuerst trennen Sie das Haushaltsgerät vom Netzstecker. Danach schließen Sie den Wasserzulauf an und drehen nun den bisherigen Schlauch am Gewinde gegen den Uhrzeigersinn vorsichtig ab & den neuen Aquastop Schlauch im Uhrzeigersinn fest. Bringen Sie jetzt den neuen Schlauch am Wasserzulauf an und sichern Sie ihn anschließend vorsichtig mit einer Zange. Schließen Sie Ihr Gerät jetzt wieder an den Strom an.

Wenn Sie auch Angst vor einer Überschwemmung in Ihrem Eigenheim haben, sollten Sie jetzt handeln und sich mit einem Aquastopschlauch schützen.

Ran ans Werk!

 
Schlauch,Schlauch
5be304e4b1264abb899df2e434e01a2c,436592444c584ad1b5a679fc5ac3ef73,275b77c77344470ea771c19b8b2780c9,47067e90b5dc4b1d9f40bc3cdd7c85c3,3017057ce80b4d85aae42a1e4928e81a,40ee0815bd1042dfa6b07fc66864eca1,9b40cbb94bff43dabac2f2dd6244b7e4
Stoßdämpfer 80N wie Electrolux 132255301/5 und Küppersbusch für Waschmaschine Waschtrockner
153798

Alternativteil Stoßdämpfer Rosa NW80 mit 11 mm Bohrung, eingesetzt in Waschmaschinen

Ausführung u.a. exakt wie Electrolux-Konzern/Zanker/Zanussi Herstellernummer: 132255301/5, EFS-Gruppe/Seppelfricke Herstellernummer: 615000481 und Küppersbusch Herstellernummer: 428972.

Diesen Stoßdämpfer können Sie in die im Menüpunkt "Passende Geräte" aufgeführten Geräte einsetzen. Auch wenn die Bauform wohlmöglich inzwischen etwas abweicht, ist das Ersatzteil passend.

Geprüfte Qualität, dieses Alternativteil entspricht der Herstellerqualität.

 
Stoßdämpfer
5be304e4b1264abb899df2e434e01a2c,47067e90b5dc4b1d9f40bc3cdd7c85c3,3017057ce80b4d85aae42a1e4928e81a,d168a21829554c57ace9afa89a5a20b4
Ablaufpumpe wie AEG 1320699018 Askoll für Waschmaschine
10102464
Ablaufpumpe wie AEG 1320699018 Askoll für Waschmaschine

AlternativTeil passend u.a. wie Electrolux-Konzern/AEG... 1320699018
Pumpenmotor mit Bajonettverschluss und Rast-5-Steckanschluss.
Diese Enleerungspumpe bzw. Laugenpumpe ist für Waschmaschinen, Waschtrockner sowie Geschirrspüler einsetzbar. Laugenpumpe
5be304e4b1264abb899df2e434e01a2c,47067e90b5dc4b1d9f40bc3cdd7c85c3,3017057ce80b4d85aae42a1e4928e81a,f7c85175f6ae467f97c29a3ac25b679a
Heizstab mit Fühler AEG 8581325347004 für Waschmaschine
610739
Heizstab mit Fühler AEG 8581325347004 für Waschmaschine

Dieses Rohrheizelement bzw. diese Heizung ist u.a. auch passend wie Küppersbusch 435973 Heizstab
5be304e4b1264abb899df2e434e01a2c,47067e90b5dc4b1d9f40bc3cdd7c85c3,3017057ce80b4d85aae42a1e4928e81a,dc188fd68f2d4dd4996b22e98c6c53e9
Bottichdichtung AEG 1240159036 für Waschmaschine Waschtrockner
152450
Bottichdichtung AEG 1240159036 für Waschmaschine Waschtrockner

Diese Laugenbehälterdichtung mit rundem Profil ist u.a. auch passend wie Küppersbusch 429816
Die ggfs. eingebaute graue Ausführung wird durch diese blaue Version ersetzt. Dichtung
5be304e4b1264abb899df2e434e01a2c,47067e90b5dc4b1d9f40bc3cdd7c85c3,3017057ce80b4d85aae42a1e4928e81a,8ef690f0cd54489baa7da8a0e19ec3db
Bolzen Set für Stoßdämpfer wie AEG 1327804017 in Waschmaschine 4Stk
10103463
Bolzen Set für Stoßdämpfer wie AEG 1327804017 in Waschmaschine 4Stk

AlternativTeil passend u.a. wie Arçelik-Gruppe/beko.. 2801430400 , Electrolux-Konzern/AEG.. 1327804017 , Küppersbusch 437331 , Whirlpool-Gruppe/Indesit.. 481202308029 C00326646
Von dem Stift bzw. Bolzen sind jeweils 2 Stück am Stoßdämpfer vom Bottich eingebaut. Diese schwarze Ausführung ist für die ggfs. eingebaute weiße Ausführung passend. Die Kunststoffbolzen sind in der Frontlader- sowie Topladerwaschmaschine oder dem Waschtrockner eingesetzt. Befestigung
5be304e4b1264abb899df2e434e01a2c,47067e90b5dc4b1d9f40bc3cdd7c85c3,3017057ce80b4d85aae42a1e4928e81a,4ed3fb404ba344a1be39c508e74545cb
Flusensiebdeckel AEG 132071100/3 für Waschmaschine
152622
Flusensiebdeckel AEG 132071100/3 für Waschmaschine

Flusensieb
5be304e4b1264abb899df2e434e01a2c,47067e90b5dc4b1d9f40bc3cdd7c85c3,3017057ce80b4d85aae42a1e4928e81a,4570b6d68fc14147a89770e2257b7bad
Trommelrippe ZANUSSI 5025227100/7 für Waschmaschine Waschtrockner
153811
Trommelrippe ZANUSSI 5025227100/7 für Waschmaschine Waschtrockner

Wäschemitnehmer für die Waschtrommel. Trommelrippe
5be304e4b1264abb899df2e434e01a2c,47067e90b5dc4b1d9f40bc3cdd7c85c3,3017057ce80b4d85aae42a1e4928e81a,5e9ad7b5795a4e268414a90fd3c42915
Zulaufschlauch 1,5m 25°C universal Puteus 39510 für Waschmaschine
11007303
Zulaufschlauch 1,5m 25°C universal Puteus 39510 für Waschmaschine

Universal: Universell einsetzbarer Alternativartikel Puteus 39510 . Bitte Maße/Werte vergleichen.
1,5 langer 3/8 Zoll Wasserzulaufschlauch mit verpressten Anschlüssen, einseitig gerade Verschraubung Innengewinde 3/4 Zoll, einseitig Kunststoff-Winkelverschraubung Innengewinde 3/4 Zoll. Beidseitig mit schwarzen Gummidichtungen. Platzdruck 50 bar.
Der Wassereinlaufschlauch ist in der Waschmaschine oder im Waschtrockner am Magnetventil (befindet sich meist oben, links hinten), außerhalb der Maschine am Wasserhahn bzw. am Auslaufventil eingeschraubt. An der Spülmaschine sitzt dieser meist hinten rechts. Schlauch
5be304e4b1264abb899df2e434e01a2c,47067e90b5dc4b1d9f40bc3cdd7c85c3,3017057ce80b4d85aae42a1e4928e81a,9b40cbb94bff43dabac2f2dd6244b7e4
Spannfeder hinten für Türmanschette AEG 1320024001 in Waschmaschine
339177
Spannfeder hinten für Türmanschette AEG 1320024001 in Waschmaschine

Diese größere Befestigungsfeder ist u.a. auch passend wie Küppersbusch 429953 Dichtung
5be304e4b1264abb899df2e434e01a2c,47067e90b5dc4b1d9f40bc3cdd7c85c3,3017057ce80b4d85aae42a1e4928e81a,8ef690f0cd54489baa7da8a0e19ec3db
Keilrippenriemen 1280PJ6E wie ZANUSSI 50680539009 für Waschmaschine Waschtrockner
152141

Keilrippenriemen 1280 PJ 6 E wie ZANUSSI 5068053900/9 für Waschmaschine Waschtrockner

AlternativTeil Hutchinson 1280 PJ 6 E passend u.a. wie Whirlpool-Gruppe/Bauknecht.. 481281728296 Indesit-Company C00377958 Electrolux-Konzern/Zanussi.. 5068053900/9 110878600/3
Hinweis: Bei elastischen Riemen ist die aufgedruckte Länge die durch Dehnung maximal erreichbare Länge.

Keilriemen
5be304e4b1264abb899df2e434e01a2c,47067e90b5dc4b1d9f40bc3cdd7c85c3,3017057ce80b4d85aae42a1e4928e81a,c6973c5c99594665af199b80db1c1ac7
Stoßdämpferbolzen AEG 132780401/7 für Waschmaschine Waschtrockner 1240041242 1327804017
10005106

Stoßdämpferbolzen AEG 132780401/7 für Waschmaschine Waschtrockner

Dieser Befestigungsstift für die Stoßdämpfer ist u.a. passend auch wie Küppersbusch 437331

Dieses Ersatzteil passt exakt wie das Vorgänger-Teil mit der Herstellernummer 1240041242

Dieses Ersatzteil passt exakt wie das Vorgänger-Teil mit der Herstellernummer 1327804017

Stoßdämpfer
5be304e4b1264abb899df2e434e01a2c,47067e90b5dc4b1d9f40bc3cdd7c85c3,3017057ce80b4d85aae42a1e4928e81a,d168a21829554c57ace9afa89a5a20b4
Magnetventil 2-fach wie ZANUSSI 1249471051 180° 11,5mm+14,0mmØ für Waschmaschine Waschtrockner
172387

Magnetventil 2-fach wie ZANUSSI 1249471051 180° 11,5mm+14,0mmØ für Waschmaschine Waschtrockner

AlternativTeil passend u.a. wie Electrolux-Konzern/AEG.. 3792260725 , Küppersbusch 429864
Bauform: 180° gerade, Auslauf-Ø: 1 x 11,5 mm und 1 x 14,0 mm. Eine Seite Zulaufschlauch-Anschluss mit 3/4"-Gewinde.
Diese Ausführung mit grün / weißen Anschlussstutzen ist auch als Ersatz für die Version mit blau / grauen Anschlussstutzen passend.

Einlassventil
5be304e4b1264abb899df2e434e01a2c,47067e90b5dc4b1d9f40bc3cdd7c85c3,3017057ce80b4d85aae42a1e4928e81a,448edcf10e7244f193345c5fac802a16
Magnetventil 2-wege Bitron/ Elbi 33490033 für Waschmaschine Bitron/ Elbi
11050357
Magnetventil 2-wege Bitron/ Elbi 33490033 für Waschmaschine Bitron/ Elbi

Einlassventil
5be304e4b1264abb899df2e434e01a2c,47067e90b5dc4b1d9f40bc3cdd7c85c3,3017057ce80b4d85aae42a1e4928e81a,448edcf10e7244f193345c5fac802a16
Flusensiebeinsatz 132136811 AEG, Electrolux, Juno, Zanussi
152651
Flusensiebeinsatz AEG 132136811/8 für Waschmaschine Waschtrockner

Flusensieb
5be304e4b1264abb899df2e434e01a2c,47067e90b5dc4b1d9f40bc3cdd7c85c3,3017057ce80b4d85aae42a1e4928e81a,4570b6d68fc14147a89770e2257b7bad
Türmanschette, AT! 379020140 AEG, Electrolux, Juno, Zanussi
156659
Türmanschette wie ZANUSSI 379020140/8 Türgummiring für Waschmaschine Frontlader

Bitte auf Geräte-Nummern achten. Dichtung
5be304e4b1264abb899df2e434e01a2c,47067e90b5dc4b1d9f40bc3cdd7c85c3,3017057ce80b4d85aae42a1e4928e81a,8ef690f0cd54489baa7da8a0e19ec3db
Zulaufschlauchverlängerung gerade/gerade 2,5m 25°C, AT! Bauknecht, Whirlpool, Ik
154272
Zulaufschlauchverlängerung 2,5m 25°C universal für Waschmaschine Geschirrspüler

Universal: Universell einsetzbarer Alternativartikel. Bitte Maße vergleichen.
Grauer Gummischlauch zum Verlängern des vorhandenen Zulaufschlauchs. Dieser graue Verlängerungsschlauch für den Wasserzulauf bzw. Wassereinlauf, ist für Frontlader sowie Toplader Waschmaschinen, Waschtrockner sowie Spülmaschinen einsetzbar.
Hierbei wird die Seite mit der weißen 3/4 Zoll AG Kunststoffverschraubung in den bestehenden Wassereinlaufschlauch eingeschraubt. Bitte drauf achten, dass hierbei die Gummidichtung des vorhandenen Schlauchs übernommen oder erneuert werden muss.
- Länge: 2,50 m
- Anschlussverschraubungen: Kunstoff gerade 3/4" Außengewinde / Metall gerade 3/4" Innengewinde
- Metallverschraubung inklusive schwarzer Dichtung bzw. Dichtring
- 25° Kaltwasser
- Betriebsdruck: 20 bar
- Platzdruck: 90 bar Schlauch
5be304e4b1264abb899df2e434e01a2c,436592444c584ad1b5a679fc5ac3ef73,275b77c77344470ea771c19b8b2780c9,40ee0815bd1042dfa6b07fc66864eca1
Motorschraube (1240222016)
342157
Schraube, 5, 5x38 1240222016

Motor
5be304e4b1264abb899df2e434e01a2c,47067e90b5dc4b1d9f40bc3cdd7c85c3,57c17f77121745b58646dcdad368fdda,c4a1ad4d7ffa4fa99af2d701d20ad9cb
Schlauch (1246604126)
342315
Schlauch
5be304e4b1264abb899df2e434e01a2c,47067e90b5dc4b1d9f40bc3cdd7c85c3,3017057ce80b4d85aae42a1e4928e81a,9b40cbb94bff43dabac2f2dd6244b7e4
Kugellager SKF 6204ZZ universal für Waschmaschine Waschtrockner 6204 ZZ
613852
Kugellager SKF 6204ZZ universal für Waschmaschine Waschtrockner 6204 ZZ

AlternativTeil SKF passend für Haushaltsgeräte wie die Waschmaschine, den Trockner, den Waschtrockner, das Speicherheizgerät etc.
Universal: Universell einsetzbarer Artikel. Bitte Maße / Aufschrift vergleichen.
Staubdichtes Rillenkugellager, beidseitig mit Metallabdeckscheibe, passend u.a. auch wie Ausführung BB1-0724B/VK189 Lager
5be304e4b1264abb899df2e434e01a2c,47067e90b5dc4b1d9f40bc3cdd7c85c3,3017057ce80b4d85aae42a1e4928e81a,b1c3f05cfdb341e98ceb5b475e340059
Dichtung für 3/4" Verbindung Waschmaschine Electrolux 124015102/5 für Geschirrspüler
152680
Dichtung für 3/4" Verbindung Waschmaschine Electrolux 124015102/5 für Geschirrspüler

Diese Dichtung befindet sich zwischen Magnetventil und Zulaufschlauch. Dichtung
5be304e4b1264abb899df2e434e01a2c,47067e90b5dc4b1d9f40bc3cdd7c85c3,3017057ce80b4d85aae42a1e4928e81a,8ef690f0cd54489baa7da8a0e19ec3db
Türmanschette ZANUSSI 379020140/8 für Waschmaschine Frontlader
152548
Türmanschette ZANUSSI 379020140/8 für Waschmaschine Frontlader

Wurde bei Geräten des Electrolux-Konzerns im Wechsel mit Europart-Nr. 106678 und 304338 eingebaut, bitte auf Geräte-Nummern achten. Dichtung
5be304e4b1264abb899df2e434e01a2c,47067e90b5dc4b1d9f40bc3cdd7c85c3,3017057ce80b4d85aae42a1e4928e81a,8ef690f0cd54489baa7da8a0e19ec3db
Bottichmantelschraube für Waschmaschinen (1322290105)
342913
Trommel
5be304e4b1264abb899df2e434e01a2c,47067e90b5dc4b1d9f40bc3cdd7c85c3,3017057ce80b4d85aae42a1e4928e81a,d558d6c246a542d8a1833e243fdbeb20
Neuer Strahlfilter für Waschmaschinen 1321368118 Originalersatzteil von AEG
10033201

Neuer Strahlfilter für Waschmaschinen 1321368118 Originalersatzteil von AEG

Originalteil von AEG Neuer Strahlfilter für Waschmaschinen 1321368118

Sondersortiment
5be304e4b1264abb899df2e434e01a2c,47067e90b5dc4b1d9f40bc3cdd7c85c3,3017057ce80b4d85aae42a1e4928e81a,6e12ea5b52844b9fbd0ad93d68f839d0
Stoßdämpfer für Waschmaschinen 1322553015 Originalersatzteil von AEG
10033273

Stoßdämpfer für Waschmaschinen 1322553015 Originalersatzteil von AEG

Originalteil von AEG Stoßdämpfer für Waschmaschinen 1322553015

Stoßdämpfer
5be304e4b1264abb899df2e434e01a2c,47067e90b5dc4b1d9f40bc3cdd7c85c3,3017057ce80b4d85aae42a1e4928e81a,d168a21829554c57ace9afa89a5a20b4
Entstörschutz 0,47µF 124034362 AEG, Electrolux, Juno, Zanussi
156789
Entstörschutz 0,47µF Electrolux 124034362/2 für Waschmaschine

OT: OriginalTeil Electrolux-Konzern/AEG/Zanker/Zanussi.. 124034362/2.
250 VAC, 50/60 Hz, 10 A / 40°C. Entstörfilter
5be304e4b1264abb899df2e434e01a2c,47067e90b5dc4b1d9f40bc3cdd7c85c3,3017057ce80b4d85aae42a1e4928e81a,354c94c26be947c7a4cdf13cf039b3e5
Saugschlauch Electrolux 132072104/4 Ablaufschlauch mit Kugel für Waschmaschine
173652
Saugschlauch Electrolux 132072104/4 Ablaufschlauch mit Kugel für Waschmaschine

Führt vom Ablaufpumpengehäuse zur Luftkammer. Schlauch
5be304e4b1264abb899df2e434e01a2c,47067e90b5dc4b1d9f40bc3cdd7c85c3,3017057ce80b4d85aae42a1e4928e81a,9b40cbb94bff43dabac2f2dd6244b7e4
Haltebogen universal für Ablaufschlauch an Waschmaschine Geschirrspüler Trockner
154290

Haltebogen universal für Ablaufschlauch an Waschmaschine Geschirrspüler Trockner

Universal: Universell einsetzbarer Artikel. Grauer PVC-Bogen zum Einhängen des Entleerungsschlauchs an der Spülmaschine oder Waschmaschine. An Trocknern wird dieser Bogen für den Kondenswasserschlauch genutzt.
Passend u.a. wie Amica 1018644 , Arçelik-Gruppe/beko.. 2828040300 , BSH-Gruppe/Bosch.. 00655300 , Fagor Brandt , Electrolux-Konzern/AEG.. 1242916003 , Gorenje 357373 , Küppersbusch 428117 , Samsung DC62-10278A , Smeg 758971917 , Vestel 40020601 , Whirlpool-Gruppe/Bauknecht.. 482000089806 482000090242

Schlauch
5be304e4b1264abb899df2e434e01a2c,47067e90b5dc4b1d9f40bc3cdd7c85c3,3017057ce80b4d85aae42a1e4928e81a,9b40cbb94bff43dabac2f2dd6244b7e4
Bolzen für Stoßdämpfer AEG 1240041242 in Waschmaschine
155761

Bolzen für Stoßdämpfer AEG 1240041242 in Waschmaschine

Befestigungsstift für Stoßdämpfer wie z.B. Stoßdämpfer 1322553510, 379430301 etc.

Stoßdämpfer
5be304e4b1264abb899df2e434e01a2c,47067e90b5dc4b1d9f40bc3cdd7c85c3,3017057ce80b4d85aae42a1e4928e81a,d168a21829554c57ace9afa89a5a20b4
Türgriffsatz für Waschmaschinen (50277554007)
365079
Griff
5be304e4b1264abb899df2e434e01a2c,47067e90b5dc4b1d9f40bc3cdd7c85c3,3017057ce80b4d85aae42a1e4928e81a,4414c9d8ddf44ae69d18ab12822431b3
Zulaufschlauch wie Candy Hoover 92250869 Bluparts 10101302 für Trockner
614041
Zulaufschlauch wie Candy Hoover 92250869 Bluparts 10101302 für Trockner

Schlauch
5be304e4b1264abb899df2e434e01a2c,47067e90b5dc4b1d9f40bc3cdd7c85c3,3017057ce80b4d85aae42a1e4928e81a,9b40cbb94bff43dabac2f2dd6244b7e4
Ablaufpumpen-Filterdeckel für Waschmaschinen 1320711003 Originalersatzteil von AEG
10033203

Ablaufpumpen-Filterdeckel für Waschmaschinen 1320711003 Originalersatzteil von AEG

Originalteil von AEG Ablaufpumpen-Filterdeckel für Waschmaschinen 1320711003

Sondersortiment
5be304e4b1264abb899df2e434e01a2c,47067e90b5dc4b1d9f40bc3cdd7c85c3,3017057ce80b4d85aae42a1e4928e81a,6e12ea5b52844b9fbd0ad93d68f839d0
Gummi-Türdichtung für Waschmaschinen 3790201408 Originalersatzteil von AEG
10033279

Gummi-Türdichtung für Waschmaschinen 3790201408 Originalersatzteil von AEG

Originalteil von AEG Gummi-Türdichtung für Waschmaschinen 3790201408

Dichtung
5be304e4b1264abb899df2e434e01a2c,47067e90b5dc4b1d9f40bc3cdd7c85c3,3017057ce80b4d85aae42a1e4928e81a,8ef690f0cd54489baa7da8a0e19ec3db
Metallschlüssel für Waschmaschinen (1246874109)
342324
Schlüssel, HEC B.I. 1246874109

Gehäuseteile
5be304e4b1264abb899df2e434e01a2c,47067e90b5dc4b1d9f40bc3cdd7c85c3,3017057ce80b4d85aae42a1e4928e81a,9ce6ec1135bc42c0bda211d7d24a82e1
AEG Waschmaschinenmotor 1325287017 Antriebsmotor
10033138

Waschmaschinenmotor 1325287017 Originalersatzteil von AEG

Originalteil von AEG Waschmaschinenmotor 1325287017

Waschmaschinenmotor
5be304e4b1264abb899df2e434e01a2c,47067e90b5dc4b1d9f40bc3cdd7c85c3,3017057ce80b4d85aae42a1e4928e81a,21899a24f542477a8730ac21379061b0
Kalkschutzvorrichtung Padoma 10099661 universal für Geschirrspüler Waschmaschine
10104314
Kalkschutzvorrichtung Padoma 10099661 universal für Geschirrspüler Waschmaschine

Schlauch
5be304e4b1264abb899df2e434e01a2c,436592444c584ad1b5a679fc5ac3ef73,275b77c77344470ea771c19b8b2780c9,40ee0815bd1042dfa6b07fc66864eca1
Schraube, Trommelstern, M8x25, 5 H
342156
Schraube, Trommelstern, M8x25, 5 H

Trommel,Befestigung
5be304e4b1264abb899df2e434e01a2c,47067e90b5dc4b1d9f40bc3cdd7c85c3,3017057ce80b4d85aae42a1e4928e81a,4ed3fb404ba344a1be39c508e74545cb,d558d6c246a542d8a1833e243fdbeb20
Gabelanschluss Y-Verteiler für Zulaufschlauch BLUPARTS von Geschirrspüler
11038899
Gabelanschluss Y-Verteiler für Zulaufschlauch BLUPARTS von Geschirrspüler

AlternativTeil BLUPARTS Schlauch,Schlauch,Armaturen
5be304e4b1264abb899df2e434e01a2c,436592444c584ad1b5a679fc5ac3ef73,275b77c77344470ea771c19b8b2780c9,47067e90b5dc4b1d9f40bc3cdd7c85c3,3017057ce80b4d85aae42a1e4928e81a,40ee0815bd1042dfa6b07fc66864eca1,9b40cbb94bff43dabac2f2dd6244b7e4,c23fed9ffdcc4969a03af7b793755a00
Stoßdämpfer für Waschmaschinen 3794303010 Originalersatzteil von AEG
10033226

Stoßdämpfer für Waschmaschinen 3794303010 Originalersatzteil von AEG

Originalteil von AEG Stoßdämpfer für Waschmaschinen 3794303010

Stoßdämpfer
5be304e4b1264abb899df2e434e01a2c,47067e90b5dc4b1d9f40bc3cdd7c85c3,3017057ce80b4d85aae42a1e4928e81a,d168a21829554c57ace9afa89a5a20b4
Magnetventil 2-fach Zanussi 1249471051 180° 12,0mm+14,0mmØ für Waschmaschine
605951
Magnetventil 2-fach Zanussi 1249471051 180° 12,0mm+14,0mmØ für Waschmaschine

Bauform: 180° gerade, Auslauf-Ø: 1 x 12,0 mm und 1 x 14,0 mm. Eine Seite Zulaufschlauch-Anschluss mit 3/4"-Gewinde.
Diese Ausführung mit grün / weißen Anschlussstutzen ersetzt ggfs. die Version mit blau / grauen Anschlussstutzen.
Dieses Elektroventil ist u.a. auch passend wie Küppersbusch 429864 Einlassventil
5be304e4b1264abb899df2e434e01a2c,47067e90b5dc4b1d9f40bc3cdd7c85c3,3017057ce80b4d85aae42a1e4928e81a,448edcf10e7244f193345c5fac802a16
Bottichdichtung für Waschmaschinen 1240159036 Originalersatzteil von AEG
10033168

Bottichdichtung für Waschmaschinen 1240159036 Originalersatzteil von AEG

Originalteil von AEG Bottichdichtung für Waschmaschinen 1240159036

Sondersortiment
5be304e4b1264abb899df2e434e01a2c,47067e90b5dc4b1d9f40bc3cdd7c85c3,3017057ce80b4d85aae42a1e4928e81a,6e12ea5b52844b9fbd0ad93d68f839d0
Haltebogen für Ablaufschlauch AEG 1242916003 an Waschmaschine Geschirrspüler Trockner
342256
Haltebogen für Ablaufschlauch AEG 1242916003 an Waschmaschine Geschirrspüler Trockner

Abbildung ggfs. ähnlich Schlauch
5be304e4b1264abb899df2e434e01a2c,47067e90b5dc4b1d9f40bc3cdd7c85c3,3017057ce80b4d85aae42a1e4928e81a,9b40cbb94bff43dabac2f2dd6244b7e4
Pumpenkörper für Waschmaschinen (komplett) 1320715269 Originalersatzteil von AEG
10033277

Pumpenkörper für Waschmaschinen (komplett) 1320715269 Originalersatzteil von AEG

Originalteil von AEG Pumpenkörper für Waschmaschinen (komplett) 1320715269

Sondersortiment
5be304e4b1264abb899df2e434e01a2c,47067e90b5dc4b1d9f40bc3cdd7c85c3,3017057ce80b4d85aae42a1e4928e81a,6e12ea5b52844b9fbd0ad93d68f839d0
Zulaufschlauchverlängerung 3/8"x1,50m 3/4"x3/4" 50bar 39511
11007449
Zulaufschlauchverlängerung 3/8"x1,50m 3/4"x3/4" 50bar 39511

Schlauch
5be304e4b1264abb899df2e434e01a2c,47067e90b5dc4b1d9f40bc3cdd7c85c3,3017057ce80b4d85aae42a1e4928e81a,9b40cbb94bff43dabac2f2dd6244b7e4
Türglas Electrolux 132224500/0 für Waschmaschine
156796
Türglas Electrolux 132224500/0 für Waschmaschine

Tür
5be304e4b1264abb899df2e434e01a2c,47067e90b5dc4b1d9f40bc3cdd7c85c3,3017057ce80b4d85aae42a1e4928e81a,2a09b99a39c84203807b53a2581aa8b0
Dampfentlüftungsschlauch für Waschmaschinen 1322899004 Originalersatzteil von AEG
10033234

Dampfentlüftungsschlauch für Waschmaschinen 1322899004 Originalersatzteil von AEG

Originalteil von AEG Dampfentlüftungsschlauch für Waschmaschinen 1322899004

Sondersortiment
5be304e4b1264abb899df2e434e01a2c,47067e90b5dc4b1d9f40bc3cdd7c85c3,3017057ce80b4d85aae42a1e4928e81a,6e12ea5b52844b9fbd0ad93d68f839d0
Feder für Bottich 124019560 AEG, Electrolux, Juno, Zanussi
173639
Feder ZANUSSI 124019560/0 für Bottich Waschmaschine

Je Gerät sind 2 Stück eingebaut.
Eine Seite ist am Rahmen der Waschmaschine eingehangen, die andere Seite am Bottich.
Macht die Waschmaschine zuviel Lärm oder vibriert unnormal, so kann dies z.B. an diesen Federn liegen. Trommel
5be304e4b1264abb899df2e434e01a2c,47067e90b5dc4b1d9f40bc3cdd7c85c3,3017057ce80b4d85aae42a1e4928e81a,d558d6c246a542d8a1833e243fdbeb20
Türsicherungstaste für Waschmaschinen (1320163007)
342826
Türverriegelung,Schalter
5be304e4b1264abb899df2e434e01a2c,47067e90b5dc4b1d9f40bc3cdd7c85c3,3017057ce80b4d85aae42a1e4928e81a,0b590cb971884215b595b6ce022dd676,cfec0ee819664c928718d0485ee7a09f
Siebwasser-Ablaufschlauch (1320365057)
342832
Rohr, Wasserablauf, Sieb 1320365057

Schlauch
5be304e4b1264abb899df2e434e01a2c,47067e90b5dc4b1d9f40bc3cdd7c85c3,3017057ce80b4d85aae42a1e4928e81a,9b40cbb94bff43dabac2f2dd6244b7e4
Türsicherheitsvorrichtung Electrolux 1321444208 für Waschmaschine
342887
Türsicherheitsvorrichtung Electrolux 1321444208 für Waschmaschine

Türverriegelung
5be304e4b1264abb899df2e434e01a2c,47067e90b5dc4b1d9f40bc3cdd7c85c3,3017057ce80b4d85aae42a1e4928e81a,0b590cb971884215b595b6ce022dd676
Programmwahlschalter-Schaft für Waschmaschinen (1321096016)
342866
Schalter,Programmschalter
5be304e4b1264abb899df2e434e01a2c,47067e90b5dc4b1d9f40bc3cdd7c85c3,3017057ce80b4d85aae42a1e4928e81a,477fa25478de48f597fdc5d49046dfc6,cfec0ee819664c928718d0485ee7a09f
Feder für Bullauge Electrolux 1240673135 für Trockner
342195
Feder für Bullauge Electrolux 1240673135 für Trockner

Tür
5be304e4b1264abb899df2e434e01a2c,47067e90b5dc4b1d9f40bc3cdd7c85c3,57c17f77121745b58646dcdad368fdda,e540d4381df343cba4e74651917d54fb
Einspüldüse an Waschmittelkasten 124947010 AEG, Electrolux, Juno, Zanussi
173982
Einspüldüse Electrolux 124947010/3 an Waschmittelkasten Waschmaschine

Einspülkammer
5be304e4b1264abb899df2e434e01a2c,47067e90b5dc4b1d9f40bc3cdd7c85c3,3017057ce80b4d85aae42a1e4928e81a,44417ff6a51145f7afbb070133b7521b
Einspülkammerschale für Waschmaschinen (1246246423)
342302
Wasserweiche Electrolux 1246246423 für Waschmaschine

Einspülkammer
5be304e4b1264abb899df2e434e01a2c,47067e90b5dc4b1d9f40bc3cdd7c85c3,3017057ce80b4d85aae42a1e4928e81a,44417ff6a51145f7afbb070133b7521b
Kugellager SKF 6204ZZ für Waschmaschine Waschtrockner 6204 ZZ SKF
11056006
Kugellager SKF 6204ZZ für Waschmaschine Waschtrockner 6204 ZZ SKF

AlternativTeil SKF passend für Haushaltsgeräte wie die Waschmaschine, den Trockner, den Waschtrockner, das Speicherheizgerät etc.
Universal: Universell einsetzbarer Artikel. Bitte Maße / Aufschrift vergleichen.
Staubdichtes Rillenkugellager, beidseitig mit Metallabdeckscheibe, passend u.a. auch wie Ausführung BB1-0724B/VK189 Lager
5be304e4b1264abb899df2e434e01a2c,47067e90b5dc4b1d9f40bc3cdd7c85c3,3017057ce80b4d85aae42a1e4928e81a,b1c3f05cfdb341e98ceb5b475e340059
Filterdichtung für Waschmaschinen 1260616014 Originalersatzteil von AEG
10033202

Filterdichtung für Waschmaschinen 1260616014 Originalersatzteil von AEG

Originalteil von AEG Filterdichtung für Waschmaschinen 1260616014

Sondersortiment
5be304e4b1264abb899df2e434e01a2c,47067e90b5dc4b1d9f40bc3cdd7c85c3,3017057ce80b4d85aae42a1e4928e81a,6e12ea5b52844b9fbd0ad93d68f839d0
Hinteres Trommellager für Waschmaschinen (3790800100)
350020
Kugellager 6204ZZ Zanussi 3790800100 für Waschmaschine Waschtrockner

Lager
5be304e4b1264abb899df2e434e01a2c,47067e90b5dc4b1d9f40bc3cdd7c85c3,3017057ce80b4d85aae42a1e4928e81a,b1c3f05cfdb341e98ceb5b475e340059
Keilrippenriemen wie ZANUSSI 124021121/7 1280PJ5 für Waschmaschine
152175
Keilrippenriemen wie ZANUSSI 124021121/7 1280PJ5 für Waschmaschine

AlternativTeil Hutchinson 1280 PJ 5 passend u.a. wie Electrolux-Konzern/AEG.. 124021121/7 Whirlpool-Gruppe/Bauknecht.. 481935810051 Indesit-Company C00375177
Wird Original durch 110878600/3 Riemen 1282 PJ 6 ersetzt. Keilriemen
5be304e4b1264abb899df2e434e01a2c,47067e90b5dc4b1d9f40bc3cdd7c85c3,3017057ce80b4d85aae42a1e4928e81a,c6973c5c99594665af199b80db1c1ac7
nicht konfigurierte Elektronik, EWM1000 1324017712
606267
nicht konfigurierte Elektronik, EWM1000 1324017712

Steuerung
5be304e4b1264abb899df2e434e01a2c,47067e90b5dc4b1d9f40bc3cdd7c85c3,3017057ce80b4d85aae42a1e4928e81a,c9c32be946124357bc1bf3c3c802e6da
Stoßdämpfer 80N Electrolux 132255301/5 für Waschmaschine Waschtrockner
152667

Stoßdämpfer 80N, Originalteil mit 11 mm Bohrung, eingesetzt in Waschmaschinen

Originalteil Electrolux-Konzern/AEG Herstellernummer: 132255301/5

Diesen Stoßdämpfer können Sie in die im Menüpunkt "Passende Geräte" aufgeführten Geräte einsetzen. Auch wenn die Bauform wohlmöglich inzwischen etwas abweicht, ist das Ersatzteil passend.

Stoßdämpfer
5be304e4b1264abb899df2e434e01a2c,47067e90b5dc4b1d9f40bc3cdd7c85c3,3017057ce80b4d85aae42a1e4928e81a,d168a21829554c57ace9afa89a5a20b4
Spannring Electrolux 132055200/1 vorne für Türmanschette Waschmaschine
152791
Spannring Electrolux 132055200/1 vorne für Türmanschette Waschmaschine

Dichtung
5be304e4b1264abb899df2e434e01a2c,47067e90b5dc4b1d9f40bc3cdd7c85c3,3017057ce80b4d85aae42a1e4928e81a,8ef690f0cd54489baa7da8a0e19ec3db
Trommelstern für Waschmaschinen (50239964005)
353613
Trommel
5be304e4b1264abb899df2e434e01a2c,47067e90b5dc4b1d9f40bc3cdd7c85c3,3017057ce80b4d85aae42a1e4928e81a,d558d6c246a542d8a1833e243fdbeb20
Filtertürklappe für Waschmaschinen, weiß (1321060004)
342858
Siebklappe Electrolux 1321060004 für Waschmaschine

Gehäuseteile
5be304e4b1264abb899df2e434e01a2c,47067e90b5dc4b1d9f40bc3cdd7c85c3,3017057ce80b4d85aae42a1e4928e81a,9ce6ec1135bc42c0bda211d7d24a82e1
Waschmaschinenfuß (komplett) (1321364018)
342882
Gehäuseteile
5be304e4b1264abb899df2e434e01a2c,47067e90b5dc4b1d9f40bc3cdd7c85c3,3017057ce80b4d85aae42a1e4928e81a,9ce6ec1135bc42c0bda211d7d24a82e1
Zulaufschlauch für Waschmaschinen - 1500mm (1325115911)
358600
Zulaufschlauch gerade/Winkel 1,5m Electrolux 1325115911 für Geschirrspüler

Schlauch
5be304e4b1264abb899df2e434e01a2c,47067e90b5dc4b1d9f40bc3cdd7c85c3,3017057ce80b4d85aae42a1e4928e81a,9b40cbb94bff43dabac2f2dd6244b7e4
Temperaturschalterring für Waschmaschinen (komplett) (1320581018)
342835
Schalter
5be304e4b1264abb899df2e434e01a2c,47067e90b5dc4b1d9f40bc3cdd7c85c3,3017057ce80b4d85aae42a1e4928e81a,cfec0ee819664c928718d0485ee7a09f
Scharnierdekorplatte für Waschmaschinen (1320160615)
342825
Gehäuseteile
5be304e4b1264abb899df2e434e01a2c,47067e90b5dc4b1d9f40bc3cdd7c85c3,3017057ce80b4d85aae42a1e4928e81a,9ce6ec1135bc42c0bda211d7d24a82e1
Heizelement-Haltefeder für Waschmaschinen (1247825100)
342357
Haltefeder, Heizwiderstand 1247825100

Heizstab
5be304e4b1264abb899df2e434e01a2c,47067e90b5dc4b1d9f40bc3cdd7c85c3,3017057ce80b4d85aae42a1e4928e81a,dc188fd68f2d4dd4996b22e98c6c53e9
Ablaufschlauch Winkel/gerade 21/19mmØ 2,95m für Waschmaschine 124088121/7
338753
Ablaufschlauch Winkel/gerade 21/19mmØ 2,95m für Waschmaschine
speziell für Waschmaschinen - Endstücke: gewinkelt/gerade -

Originalteil: Electrolux-Konzern/AEG 124088121/7
Inklusive Schlauchschelle an dem abgewinkelten Endstück.
Info: Es ist besonders auf den Durchmesser des Endstücks zu achten, das im Geräteinneren angeschlossen wird.

Schlauch
5be304e4b1264abb899df2e434e01a2c,47067e90b5dc4b1d9f40bc3cdd7c85c3,3017057ce80b4d85aae42a1e4928e81a,9b40cbb94bff43dabac2f2dd6244b7e4
Türscharnier für Waschmaschinen (1320044058)
342803
Türscharnier
5be304e4b1264abb899df2e434e01a2c,47067e90b5dc4b1d9f40bc3cdd7c85c3,3017057ce80b4d85aae42a1e4928e81a,8c5eb626d0244a9d99aa45be368bd12b
Hinterer Türrahmen für Waschmaschinen (1320184706)
358513
Türrahmen
5be304e4b1264abb899df2e434e01a2c,47067e90b5dc4b1d9f40bc3cdd7c85c3,3017057ce80b4d85aae42a1e4928e81a,a6c271f8a6a54524b0359755fb20615b
Motor Sole ZANUSSI 1325287017 für Waschmaschine Waschtrockner
153776
Motor Sole ZANUSSI 1325287017 für Waschmaschine Waschtrockner

- Anschlüsse: 9 Stück
- Welle Ø: 21,6 mm
- Welle Länge: 47 mm
Passender Tachogenerator siehe Electrolux-Konzern/AEG.. 50229052001 , Kohlebürsten 50226588007
Hinweis: Bei der Motorkohlenauswahl bitte immer auf den Motorenhersteller achten bzw. Muster vergleichen. Unter einer Ersatzteilnummer können verschiedene Motoren eingesetzt sein. Waschmaschinenmotor
5be304e4b1264abb899df2e434e01a2c,47067e90b5dc4b1d9f40bc3cdd7c85c3,3017057ce80b4d85aae42a1e4928e81a,21899a24f542477a8730ac21379061b0
Flusensiebgehäuse mit Siebeinsatz für Ablaufpumpe 132071526 AEG, Electrolux, Jun
156795
Flusensiebgehäuse Electrolux 132071526/9 Pumpenkopf mit Sieb für Ablaufpumpe Waschmaschine

Siebgehäuse mit Sieb, Dichtung und Deckel. Flusensieb
5be304e4b1264abb899df2e434e01a2c,47067e90b5dc4b1d9f40bc3cdd7c85c3,3017057ce80b4d85aae42a1e4928e81a,4570b6d68fc14147a89770e2257b7bad
Ablaufpumpe Electrolux 4055255451 für Waschmaschine Electrolux
11039071
Ablaufpumpe Electrolux 4055255451 für Waschmaschine Electrolux

Laugenpumpe
5be304e4b1264abb899df2e434e01a2c,47067e90b5dc4b1d9f40bc3cdd7c85c3,3017057ce80b4d85aae42a1e4928e81a,f7c85175f6ae467f97c29a3ac25b679a
Vorderer Waschmaschinenfuß (komplett) (1245264013)
342271
Gehäuseteile
5be304e4b1264abb899df2e434e01a2c,47067e90b5dc4b1d9f40bc3cdd7c85c3,3017057ce80b4d85aae42a1e4928e81a,9ce6ec1135bc42c0bda211d7d24a82e1
Schraubensatz, Scheibe, Riemensc (1322295104)
342915
Gehäuseteile
5be304e4b1264abb899df2e434e01a2c,47067e90b5dc4b1d9f40bc3cdd7c85c3,3017057ce80b4d85aae42a1e4928e81a,9ce6ec1135bc42c0bda211d7d24a82e1
Wasserweiche Electrolux 1246246423 für Waschmaschine
10005175
Wasserweiche Electrolux 1246246423 für Waschmaschine

Zubehör
5be304e4b1264abb899df2e434e01a2c,47067e90b5dc4b1d9f40bc3cdd7c85c3,3017057ce80b4d85aae42a1e4928e81a,9e1f617e755149c9b6b02cca3170f05c
Trommelrippe für Waschmaschinen 50252271007 Originalersatzteil von AEG
10033196

Trommelrippe für Waschmaschinen 50252271007 Originalersatzteil von AEG

Originalteil von AEG Trommelrippe für Waschmaschinen 50252271007

Trommelrippe
5be304e4b1264abb899df2e434e01a2c,47067e90b5dc4b1d9f40bc3cdd7c85c3,3017057ce80b4d85aae42a1e4928e81a,5e9ad7b5795a4e268414a90fd3c42915
HALTER 1245320005 Originalersatzteil von AEG
10033227

HALTER 1245320005 Originalersatzteil von AEG

Originalteil von AEG HALTER 1245320005

Electrolux ungepflegt
5be304e4b1264abb899df2e434e01a2c,2191fbdc920b4a25af306eb17d62adc0,c56d9a32f06b426584727cb2b08a0cf8
Schraube vorderes Gegengewicht für Waschmaschinen (1326589015)
343209
Gehäuseteile
5be304e4b1264abb899df2e434e01a2c,47067e90b5dc4b1d9f40bc3cdd7c85c3,3017057ce80b4d85aae42a1e4928e81a,9ce6ec1135bc42c0bda211d7d24a82e1
Magnetventil 2-fach ZANUSSI 3792260725 180° 11,5mm+14,0mmØ für Waschmaschine
152526

Magnetventil 2-fach ZANUSSI 3792260725 180° 11,5mm+14,0mmØ für Waschmaschine

Bauform: 180° gerade, Auslauf-Ø: 1 x 11,5 mm und 1 x 14,0 mm
Eine Seite Zulaufschlauch-Anschluss mit 3/4"-Gewinde.

Einlassventil
5be304e4b1264abb899df2e434e01a2c,47067e90b5dc4b1d9f40bc3cdd7c85c3,3017057ce80b4d85aae42a1e4928e81a,448edcf10e7244f193345c5fac802a16
Heizelement AEG 132534700/1 IRCA 0081546R mit Fühler für Waschmaschinen
152608
Heizelement AEG 132534700/1 IRCA 0081546R mit Fühler für Waschmaschinen

Mögliche Aufschrift auf NTC (weiß): EPCOS K276 / 4,8k / A5-10 / 100°C 124394000
Passend auch wie Küppersbusch 435973 Heizstab
5be304e4b1264abb899df2e434e01a2c,47067e90b5dc4b1d9f40bc3cdd7c85c3,3017057ce80b4d85aae42a1e4928e81a,dc188fd68f2d4dd4996b22e98c6c53e9
Türverriegelung wie ZANUSSI 124034901/7 OMP für Waschmaschine Waschtrockner
172929
Türverriegelung wie ZANUSSI 124034901/7 OMP für Waschmaschine Waschtrockner

AlternativTeil passend u.a. wie Electrolux-Konzern/AEG/Zanussi.. 124034901/7
Bitte beachten: Gleicher OMP-Type wie Europart-Nr. 304518 aber andere Kontaktanzahl. Türverriegelung
5be304e4b1264abb899df2e434e01a2c,47067e90b5dc4b1d9f40bc3cdd7c85c3,3017057ce80b4d85aae42a1e4928e81a,0b590cb971884215b595b6ce022dd676
Verriegelungsrelais ZANUSSI 124034901/7 OMP für Waschmaschine Waschtrockner
153767
Verriegelungsrelais ZANUSSI 124034901/7 OMP für Waschmaschine Waschtrockner

Bitte beachten: Gleicher OMP-Type wie Europart-Nr. 304518 aber andere Kontaktanzahl. Türverriegelung
5be304e4b1264abb899df2e434e01a2c,47067e90b5dc4b1d9f40bc3cdd7c85c3,3017057ce80b4d85aae42a1e4928e81a,0b590cb971884215b595b6ce022dd676
Spülmittelbehälter/Waschmittel (1246233819)
358314
Einspülkammer
5be304e4b1264abb899df2e434e01a2c,47067e90b5dc4b1d9f40bc3cdd7c85c3,3017057ce80b4d85aae42a1e4928e81a,44417ff6a51145f7afbb070133b7521b
Zulaufschlauch 1,5m 25°C universal für Waschmaschine Geschirrspüler
280634
Zulaufschlauch 1,5m 25°C universal für Waschmaschine Geschirrspüler

Zulaufschlauch gerade/Winkel 1,5m 25°C
Endstücke: gerade/gewinkelt, 25°C Kaltwasser, für Wasch- und Spülmaschinen.
- mit fertig angepressten Verschraubungen, davon 1 abgewinkelt und 1 gerade
- mit 2 Innengewinden 3/4 und Dichtung
- für Kaltwasseranschluss (25°C)
- 1/2 x 1500 mm Schlauch
5be304e4b1264abb899df2e434e01a2c,436592444c584ad1b5a679fc5ac3ef73,275b77c77344470ea771c19b8b2780c9,40ee0815bd1042dfa6b07fc66864eca1
Türmanschette, AT! 126041620 AEG, Electrolux, Juno, Zanussi
156580
Türmanschette wie ZANUSSI 126041620/9 für Waschmaschine

AlternativTeil passend wie Electrolux-Konzern/AEG.. 126041620/9
Dichtung
5be304e4b1264abb899df2e434e01a2c,47067e90b5dc4b1d9f40bc3cdd7c85c3,3017057ce80b4d85aae42a1e4928e81a,8ef690f0cd54489baa7da8a0e19ec3db
Kugellager 6205ZZ universal für Waschmaschine
10104281
Kugellager 6205ZZ universal für Waschmaschine

Universal: Universell einsetzbares BLUPARTS AlternativTeil. Bitte Maße / Aufdrucke vergleichen.
Dieses staubdichte Rillenkugellager, mit beidseitiger Metallabdeckscheibe, ist u.a. auch passend wie Ausführung BB1-0725B/VK189 Zubehör
5be304e4b1264abb899df2e434e01a2c,47067e90b5dc4b1d9f40bc3cdd7c85c3,3017057ce80b4d85aae42a1e4928e81a,9e1f617e755149c9b6b02cca3170f05c
Kugellager 6205ZZ universal 25x52x15mm für Waschmaschine Waschtrockner
154074
Kugellager 6205ZZ universal 25x52x15mm für Waschmaschine Waschtrockner

Universal: Universell einsetzbarer Artikel.Bitte Maße vergleichen.
Dieses staubdichte Rillenkugellager, mit beidseitiger Metallabdeckscheibe, ist u.a. auch passend wie Ausführung BB1-0725B/VK189
Hinweis für Kugellager im Haushaltsgerätebereich:
In der Regel können
beidseitig offene Kugellager (ohne Zusatz, hier erkennt man auf beiden Seiten "Kugeln") und
einseitig geschlossene Kugellager (z. B. Zusatz: ...Z = eine Seite mit staubdichter Metallabdeckscheibe, andere Seite offen)
durch beidseitig geschlossene Kugellager (z. B. Zusatz: ..ZZ,..2Z..,2ZR etc. = beidseitig staubdichte Metallabdeckscheiben) ersetzt werden.
Die staubdichten Standard-Kugellager (z. B. Zusatz: ..ZZ etc. = beidseitig staubdichte Metallabdeckscheiben) können widerrum durch spritzwassergeschützte Kugellager (z. B. Zusatz: ..LLU,..LLB etc. = beidseitig spritzwassergeschütze, rote oder schwarze Kautschukabdichtungen) ausgetauscht werden. Lager
5be304e4b1264abb899df2e434e01a2c,47067e90b5dc4b1d9f40bc3cdd7c85c3,3017057ce80b4d85aae42a1e4928e81a,b1c3f05cfdb341e98ceb5b475e340059
ersatzteilshop.de
4.9
Trustpilot Rating
basierend auf 8788 zertifizierten Bewertungen von zufriedenen Kunden
powered by Google and Trustpilot
Konstantinos Katsaounis
Konstantinos Katsaounis vor einem Monat
Ich bin sehr zufrieden mit meiner Bestellung. Der Versand ging super schnell, das Ersatzteil hat perfekt gepasst und meine Spülmaschine läuft endlich wieder einwandfrei. Ich bin wirklich dankbar und werde auf jeden Fall wieder hier bestellen.👌🙏👍✅🔝🔝🔝 Liebe Grüße Konstantinos Katsaounis
Tobias Potocki-Meier
Tobias Potocki-Meier vor 3 Wochen
Ich habe ein neues Heizelement für unseren Beko Backofen bestellt. Der Preis war sehr gut, der Versand erfolgte zügig per DHL. Das Teil war ordentlich verpackt, passt perfekt und der Backofen kann nun seine Dienste wieder perfekt verrichten.
Peter Reske
Peter Reske vor 3 Wochen
Zu den von mir bestellten Produkten läßt sich nichts nachteiliges sagen. Produkte und Lieferzeit waren OK. Allein der Verpackungswahnsinn hat mich irritiert. Für zwei relativ kleine Filter für eine Abzugshaube wurden 3 Kartonagen benötigt, obwohl ein kleinerer Karton völlig ausreichend gewesen wäre. Leider habe ich keine Fotos gemacht, aber für die artgerechte Entsorgung habe ich einige Zeit benötigt.
Heinz-Werner Engels
Heinz-Werner Engels vor 2 Monaten
Super schnelle Lieferung des so viel preisgünstigeren Alternativ-Ersatzteils. Austausch gut geklappt. Das Ventil passt einwandfrei, eine gute und günstige Reparatur unserer alten Waschmaschine. Meine Frau ist wieder happy.
Peggy Emmrich
Peggy Emmrich vor einem Monat
Es ist so toll. Endlich kann ich wieder meine Bosch My Moments Kaffeemaschine benutzen. Die Kaffeekanne war sehr sehr gut abgesichert und verpackt. Das war wirklich top. Diesen Service ist zu empfehlen. Der Shop ist nur zu empfehlen wenn man etwas sucht und nicht komplett neu kaufen möchte.
Mehr ansehen >
Trustpilot
Trustpilot Rating
Hervorragend
4.9/5.00