Kontaktformular
Whatsapp
Warenkorb
Hamburger Icon

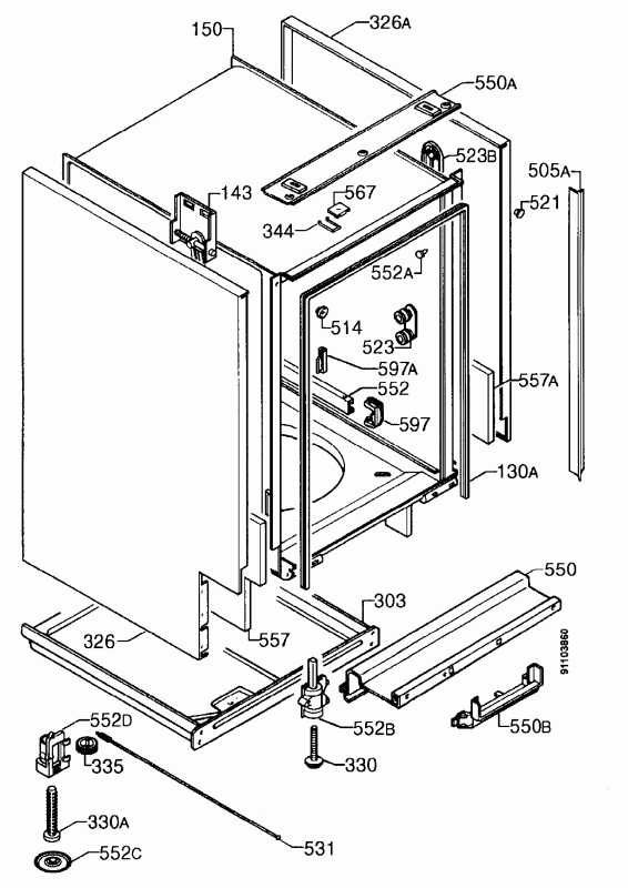
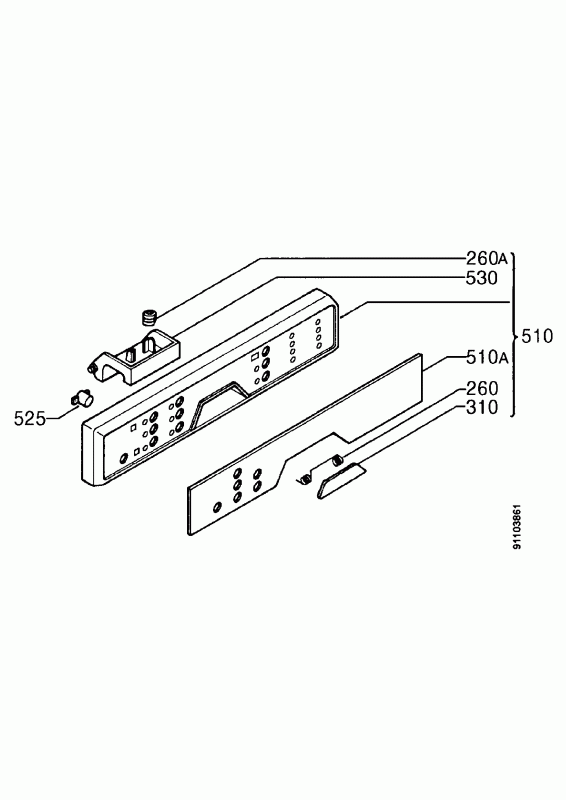
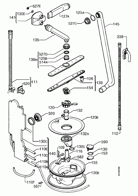
Ersatzteile für AEG FAV5470 (91174600700)

Marke
AEG
Modell
FAV5470
Modellnummer
91174600700
Kategorie
Geschirrspüler
Position data Position number Product category ids
Korbrolle wie Electrolux 5028696700/0 für Oberkorb 8 Stk 50286967000
156932
Korbrolle wie Electrolux 5028696700/0 für Oberkorb 8Stk

AlternativTeil passend wie Electrolux-Konzern/AEG/Zanussi.. 5028696700/0 , Küppersbusch 435856

Dieses Ersatzteil passt exakt wie das Vorgänger-Teil mit der Herstellernummer 50286967000

Korbrollen
5be304e4b1264abb899df2e434e01a2c,436592444c584ad1b5a679fc5ac3ef73,275b77c77344470ea771c19b8b2780c9,450633de653e4f9da61d6353aa2de5a4
Besteckkorb für Unterkorb universal teilbar für 45cm 60cm Geschirrspüler
339200
Besteckkorb für Unterkorb universal teilbar für 45cm 60cm Geschirrspüler

Universal: Universell einsetzbarer Alternativartikel. Bitte Maße vergleichen.
Da der Korb teilbar ist, ist er für fast alle Spülmaschinen mit 45cm sowie 60cm Gerätebreite verwendbar.
Zum Lösen der 2 Körbe schieben sie diese einfach horizontal auseinander.
Der Griff kann umgeklappt werden. Besteckkorb
5be304e4b1264abb899df2e434e01a2c,436592444c584ad1b5a679fc5ac3ef73,275b77c77344470ea771c19b8b2780c9,95f1235cef6842fd8204f1fb4ca40fa1
Dosierkombination, OT! 407135813 AEG, Electrolux, Juno, Zanussi, EFS Gruppe
173543
Dosierkombination AEG 407135813/1 für Geschirrspüler

Für AEG-Geräte ab 1984.
Passender Deckel für Reinigerfach siehe Electrolux-Nr. 400607802/8
Hinweis: Klarspülkammerdeckel Europart-Nr. 106370 ist nur für die alte Ausführung passend, da bei der neuen Ausführung die Dichtung in der Klappe integriert ist. Dosierkammer
5be304e4b1264abb899df2e434e01a2c,436592444c584ad1b5a679fc5ac3ef73,275b77c77344470ea771c19b8b2780c9,51d1adca2c4b4c208fb873979695daf0
Spülmaschinen-Systempflege Hotrega 250ml 110310
154936

Systempflege HOTREGA H110310 für Geschirrspüler 250ml

Spezialprodukt für intensive Sauberkeit und optimalen Werterhalt.
- Wirksam gegen Kalk, Fett und Ablagerungen aller Art
- Schützt vor Funktionsstörungen
- Für perfekte Hygiene und optimalen Werterhalt
Wirksame Systempflege mit innovativer 3-fach-Formel:
1. Hochaktive Reinigungskomponenten ent fernen mühelos und nachhaltig Kalk, Fett, unangenehme Gerüche und Ablagerungen aller Art.
2. Spezielle Korrosionsinhibitoren schützen die Metallteile in der Maschine.
3. Langzeit-Pflegestoffe halten die Gummiteile dauerhaft elastisch.
Regelmäßige Anwendung (alle 1–2 Monate) sichert eine perfekte energiesparende Leistung der Maschine und optimale Spülergebnisse.
Anwendung:
1. Filtersieb der Maschine reinigen.
2. Etikett vom Verschluss der Flasche abziehen, aber Verschluss nicht aufdrehen.
3. Flasche mit Verschluss nach unten standsicher in den Besteckkorb stellen.
4. Spülmaschine ohne Geschirr und Geschirr-Reiniger mit Normalprogramm bei 65 °C in Betrieb nehmen.
Der Inhalt der Flasche ist ausreichend für eine Anwendung.

Spülmaschinenreiniger
5be304e4b1264abb899df2e434e01a2c,436592444c584ad1b5a679fc5ac3ef73,275b77c77344470ea771c19b8b2780c9,e04f850016cb4b58bdde2847db9b5c59
Korbrolle für Oberkorb, 8 Stück, OT 5028696700 AEG, Electr 50269970005
173625
Korbrolle Electrolux 5028696700/0 für Oberkorb Geschirrspüler 8Stk

Dieses Ersatzteil passt exakt wie das Vorgänger-Teil mit der Herstellernummer 50269970005

Korbrollen
5be304e4b1264abb899df2e434e01a2c,436592444c584ad1b5a679fc5ac3ef73,275b77c77344470ea771c19b8b2780c9,450633de653e4f9da61d6353aa2de5a4
Korbrolle für Unterkorb, 8 Stück, AT! 5027905900 AEG, Electrolux, Juno, Zanussi
157098
Korbrolle wie Electrolux 5027905900/5 für Unterkorb Geschirrspüler 8Stk

AT: AlternativTeil passend wie Electrolux-Konzern/AEG.. 5027905900/5.
Korbrollen
5be304e4b1264abb899df2e434e01a2c,436592444c584ad1b5a679fc5ac3ef73,275b77c77344470ea771c19b8b2780c9,450633de653e4f9da61d6353aa2de5a4
Düse für Sprüharm unten, OT! 152317200/3 AEG, Electrolux, Juno, Zanussi
152462

Düse ZANUSSI 152317200/3 für Sprüharm unten Geschirrspüler

Wurde im Wechsel mit einer anderen Düse eingebaut, bitte Geräte-E-Nummer vergleichen.
Bitte auch die Montageanweisung beachten!
Passend auch wie Küppersbusch 426681 und EFS-Gruppe 615012922

Sprüharm
5be304e4b1264abb899df2e434e01a2c,436592444c584ad1b5a679fc5ac3ef73,275b77c77344470ea771c19b8b2780c9,8a26d46fbdc34633b4fe038be27b486c
Korbrolle wie ZANUSSI 5026997000/5 für Oberkorb Geschirrspüler 8Stk
339713
Korbrolle wie ZANUSSI 5026997000/5 für Oberkorb Geschirrspüler 8Stk

AlternativTeil, passend wie Electrolux-Konzern/AEG/Zanussi.. 5026997000/5 in weiß, Küppersbusch 435857
Wurde im Wechsel mit Korbrolle Europart-Nr. 107069 eingebaut, bitte auf Gerätenummern achten. Korbrollen
5be304e4b1264abb899df2e434e01a2c,436592444c584ad1b5a679fc5ac3ef73,275b77c77344470ea771c19b8b2780c9,450633de653e4f9da61d6353aa2de5a4
Dosierkombination für Geschirrspüler Candy Hoover 41038886 Verteiler
11017689
Dosierkammer
5be304e4b1264abb899df2e434e01a2c,436592444c584ad1b5a679fc5ac3ef73,275b77c77344470ea771c19b8b2780c9,51d1adca2c4b4c208fb873979695daf0
Ablaufschlauch 2,5m (19/21mm) für Waschmaschine Com [Hersteller-Artikelnummer] Gerade
11010904
Schlauch
5be304e4b1264abb899df2e434e01a2c,47067e90b5dc4b1d9f40bc3cdd7c85c3,3017057ce80b4d85aae42a1e4928e81a,9b40cbb94bff43dabac2f2dd6244b7e4
Wasserenthärter-Salztrichter für Geschirrspüler (140044295016)
359232
Salzbehälter,Dosierkammer
5be304e4b1264abb899df2e434e01a2c,436592444c584ad1b5a679fc5ac3ef73,275b77c77344470ea771c19b8b2780c9,51d1adca2c4b4c208fb873979695daf0,e3df607a8730419d92d273dd5fd68b86
Oberkorb für Geschirrspüler ATAG 353136 Spülkorb
11002313
Korbrollen
5be304e4b1264abb899df2e434e01a2c,436592444c584ad1b5a679fc5ac3ef73,275b77c77344470ea771c19b8b2780c9,450633de653e4f9da61d6353aa2de5a4
Dosierventil für Whirlpool Ofen 482000028400 Reiniger/Klarspüler
11040064
Spülmaschinenreiniger,Wartung & Pflege,Zubehör
5be304e4b1264abb899df2e434e01a2c,436592444c584ad1b5a679fc5ac3ef73,af6babb93db042e7b7fb7a417eca6410,6d0b034684f448a88e441e35d5a01b2b,275b77c77344470ea771c19b8b2780c9,0238f69612e948ae9b7f882258d470e4,d42e445ccfda4dadbf67aad3e1c3c19d,e04f850016cb4b58bdde2847db9b5c59
Unterkorbrollen für Geschirrspüler Com 50279059005 8 Stück
11005156
Korbrollen
5be304e4b1264abb899df2e434e01a2c,436592444c584ad1b5a679fc5ac3ef73,275b77c77344470ea771c19b8b2780c9,450633de653e4f9da61d6353aa2de5a4
Geschirrspülerheizung für AEG 50248390002 COM 2100W
11003661
Heizelement
5be304e4b1264abb899df2e434e01a2c,436592444c584ad1b5a679fc5ac3ef73,275b77c77344470ea771c19b8b2780c9,1c35d1dd9f3c49b5a64535a632fbcdf9
Dosiereinheit für Geschirrspüler Whirlpool/Indesit 482000026913 Reiniger/Klarspüler
11010926
Spülmaschinenreiniger
5be304e4b1264abb899df2e434e01a2c,436592444c584ad1b5a679fc5ac3ef73,275b77c77344470ea771c19b8b2780c9,e04f850016cb4b58bdde2847db9b5c59
Rollenhalter-Befestigungselement für Geschirrspüler (1521220101)
344828
Halter, oberer Korb, Rolle, 1 pcs.

Geschirrkorb
5be304e4b1264abb899df2e434e01a2c,436592444c584ad1b5a679fc5ac3ef73,275b77c77344470ea771c19b8b2780c9,dc70c27085934cb5acc4cd088fc0a361
Haltebogen universal für Ablaufschlauch an Waschmaschine Geschirrspüler Trockner
154290
Haltebogen universal für Ablaufschlauch an Waschmaschine Geschirrspüler Trockner

Universal: Universell einsetzbarer Artikel. Grauer PVC-Bogen zum Einhängen des Entleerungsschlauchs an der Spülmaschine oder Waschmaschine. An Trocknern wird dieser Bogen für den Kondenswasserschlauch genutzt.
Passend u.a. wie Amica 1018644 , Arçelik-Gruppe/beko.. 2828040300 , BSH-Gruppe/Bosch.. 00655300 , Fagor Brandt , Electrolux-Konzern/AEG.. 1242916003 , Gorenje 357373 , Küppersbusch 428117 , Samsung DC62-10278A , Smeg 758971917 , Vestel 40020601 , Whirlpool-Gruppe/Bauknecht.. 482000089806 482000090242 Schlauch
5be304e4b1264abb899df2e434e01a2c,47067e90b5dc4b1d9f40bc3cdd7c85c3,3017057ce80b4d85aae42a1e4928e81a,9b40cbb94bff43dabac2f2dd6244b7e4
Behälterschalendichtung für Geschirrspüler 50659231000 Originalersatzteil von AEG
10032214

Behälterschalendichtung für Geschirrspüler 50659231000 Originalersatzteil von AEG

Originalteil von AEG Behälterschalendichtung für Geschirrspüler 50659231000

Sondersortiment
5be304e4b1264abb899df2e434e01a2c,436592444c584ad1b5a679fc5ac3ef73,275b77c77344470ea771c19b8b2780c9,c8777649a8d244adbf3354e7205bc8a8
Dosiereinheit für Indesit Ofen C00104789 Ventil
11041642
Ventil,Einlassventil,Magnetventil,Ventil
5be304e4b1264abb899df2e434e01a2c,436592444c584ad1b5a679fc5ac3ef73,6d0b034684f448a88e441e35d5a01b2b,47067e90b5dc4b1d9f40bc3cdd7c85c3,3017057ce80b4d85aae42a1e4928e81a,275b77c77344470ea771c19b8b2780c9,57c17f77121745b58646dcdad368fdda,20c1991096f2443485471f7b5d57b3ae,448edcf10e7244f193345c5fac802a16,5e7747f201f9403da8ffbb5186d3c28b,70a49e4ae7404fa6b1a4e74e7e07a962
Heizelement 2100W 230V Electrolux 50248390002 für Geschirrspüler
173128
Heizelement 2100W 230V Electrolux 50248390002 für Geschirrspüler

Heizelement
5be304e4b1264abb899df2e434e01a2c,436592444c584ad1b5a679fc5ac3ef73,275b77c77344470ea771c19b8b2780c9,1c35d1dd9f3c49b5a64535a632fbcdf9
Kleiner Besteckkorb für Geschirrspüler, grau (1520726405)
344822
Geschirrkorb
5be304e4b1264abb899df2e434e01a2c,436592444c584ad1b5a679fc5ac3ef73,275b77c77344470ea771c19b8b2780c9,dc70c27085934cb5acc4cd088fc0a361
Seitenverkleidung AEG 152222263/5 Fugenabdeckung rechts links für Geschirrspüler
344865
Seitenverkleidung AEG 152222263/5 Fugenabdeckung rechts links für Geschirrspüler

Diese senkrecht einzusetzende Seitenleiste misst 609 mm und ist für die Vorderseite Ihres Geschirrspülers geeignet. Diese Seitenleiste kann links oder rechts verwendet werden.
Ersetzt verschieden lange Ausführungen.
Passend u.a. auch wie Küppersbusch 435554 Gehäuseteile
5be304e4b1264abb899df2e434e01a2c,436592444c584ad1b5a679fc5ac3ef73,275b77c77344470ea771c19b8b2780c9,6f364c83e8954316926998e24fee04f5
RÄDERSATZ (OBEN), 8 STK, DUNKE LGRAU
334546
Korbrollen
5be304e4b1264abb899df2e434e01a2c,436592444c584ad1b5a679fc5ac3ef73,275b77c77344470ea771c19b8b2780c9,450633de653e4f9da61d6353aa2de5a4
Unterkorbrolle für Geschirrspüler Com 50269923004 weiß, 1 Stück
11005155
Korbrollen
5be304e4b1264abb899df2e434e01a2c,436592444c584ad1b5a679fc5ac3ef73,275b77c77344470ea771c19b8b2780c9,450633de653e4f9da61d6353aa2de5a4
Korbrollen-Set für AEG Geschirrspüler COM 50269970005 8 Stück
11004998
Korbrollen
5be304e4b1264abb899df2e434e01a2c,436592444c584ad1b5a679fc5ac3ef73,275b77c77344470ea771c19b8b2780c9,450633de653e4f9da61d6353aa2de5a4
Geschirrkorbrolle grau für Geschirrspüler AEG 50278101006 1 Stück
11005004
Korbrollen
5be304e4b1264abb899df2e434e01a2c,436592444c584ad1b5a679fc5ac3ef73,275b77c77344470ea771c19b8b2780c9,450633de653e4f9da61d6353aa2de5a4
Korbrolle Oberkorb für Geschirrspüler Com 4055039723 Oberkorb
11005331
Korbrollen
5be304e4b1264abb899df2e434e01a2c,436592444c584ad1b5a679fc5ac3ef73,275b77c77344470ea771c19b8b2780c9,450633de653e4f9da61d6353aa2de5a4
Türschloss mit Mikroschalter Electrolux 1529991224 für Geschirrspüler
152558
Türschloss mit Mikroschalter Electrolux 1529991224 für Geschirrspüler

Türschloss
5be304e4b1264abb899df2e434e01a2c,436592444c584ad1b5a679fc5ac3ef73,275b77c77344470ea771c19b8b2780c9,56ef51792b4f42aab29cae33f433612e
Korbrolle wie Zanussi 5026997000/5 für Oberkorb Geschirrspüler 8Stk
157097
Korbrolle wie ZANUSSI 5026997000/5 für Oberkorb Geschirrspüler 8Stk

AlternativTeil passend wie Electrolux-Konzern/AEG/Zanussi.. 5026997000/5
Wurde im Wechsel mit Korbrolle Europart-Nr. 107069 eingebaut, bitte auf Gerätenummern achten.
Korbrollen
5be304e4b1264abb899df2e434e01a2c,436592444c584ad1b5a679fc5ac3ef73,275b77c77344470ea771c19b8b2780c9,450633de653e4f9da61d6353aa2de5a4
Rolle und Halter für unteren Geschirrkorb 50269923004 Originalersatzteil von AEG
10032921

Rolle und Halter für unteren Geschirrkorb 50269923004 Originalersatzteil von AEG

Originalteil von AEG Rolle und Halter für unteren Geschirrkorb 50269923004

Geschirrkorb,Zubehör
5be304e4b1264abb899df2e434e01a2c,436592444c584ad1b5a679fc5ac3ef73,275b77c77344470ea771c19b8b2780c9,5ae60379a8ad4940a07e4c25cb127c70,dc70c27085934cb5acc4cd088fc0a361
Haltebogen für Ablaufschlauch AEG 1242916003 an Waschmaschine Geschirrspüler Trockner
342256
Haltebogen für Ablaufschlauch AEG 1242916003 an Waschmaschine Geschirrspüler Trockner

Abbildung ggfs. ähnlich Schlauch
5be304e4b1264abb899df2e434e01a2c,47067e90b5dc4b1d9f40bc3cdd7c85c3,3017057ce80b4d85aae42a1e4928e81a,9b40cbb94bff43dabac2f2dd6244b7e4
Türverriegelungsfeder für Geschirrspüler 1520446004 Originalersatzteil von AEG
10032722

Türverriegelungsfeder für Geschirrspüler 1520446004 Originalersatzteil von AEG

Originalteil von AEG Türverriegelungsfeder für Geschirrspüler 1520446004

Electrolux ungepflegt
5be304e4b1264abb899df2e434e01a2c,2191fbdc920b4a25af306eb17d62adc0,c56d9a32f06b426584727cb2b08a0cf8
Rolle für oberen Geschirrkorb 50286966002 Originalersatzteil von AEG
10032208

Rolle für oberen Geschirrkorb 50286966002 Originalersatzteil von AEG

Originalteil von AEG Rolle für oberen Geschirrkorb 50286966002

Geschirrkorb
5be304e4b1264abb899df2e434e01a2c,436592444c584ad1b5a679fc5ac3ef73,275b77c77344470ea771c19b8b2780c9,dc70c27085934cb5acc4cd088fc0a361
Korbrolle für Unterkorb, 8 Stück, OT! 5027905900 AEG, Electrolux, Juno, Zanussi
173588
Korbrolle AEG 5027905900/5 für Unterkorb Geschirrspüler 8Stk

Korbrolle einzeln: Europart-Nr. 106371 Korbrollen
5be304e4b1264abb899df2e434e01a2c,436592444c584ad1b5a679fc5ac3ef73,275b77c77344470ea771c19b8b2780c9,450633de653e4f9da61d6353aa2de5a4
Rollensatz oben für Geschirrspüler AEG 50286965004 8 Stück
11004985
Korbrollen
5be304e4b1264abb899df2e434e01a2c,436592444c584ad1b5a679fc5ac3ef73,275b77c77344470ea771c19b8b2780c9,450633de653e4f9da61d6353aa2de5a4
4055039723 ROLLE KPL., OBERER KORB LINKS
330956
Korbrollen
5be304e4b1264abb899df2e434e01a2c,436592444c584ad1b5a679fc5ac3ef73,275b77c77344470ea771c19b8b2780c9,450633de653e4f9da61d6353aa2de5a4
Räderhaltersatz, Dunkelgrau, 4 (4055260790)
352147
Räderhaltersatz, dunkelgrau, 4 Stck.

Geschirrkorb
5be304e4b1264abb899df2e434e01a2c,436592444c584ad1b5a679fc5ac3ef73,275b77c77344470ea771c19b8b2780c9,dc70c27085934cb5acc4cd088fc0a361
Ablaufkrümmer 18mm für TP Reflex Ofen 333220 Schlauchbogen, Ablauf
11040453
Sonstige Gehäuseteile
5be304e4b1264abb899df2e434e01a2c,436592444c584ad1b5a679fc5ac3ef73,6d0b034684f448a88e441e35d5a01b2b,efdfc43389f84879837099e9544f7336
Hinterer Anschlag für Geschirrspüler (1525376206)
344983
Geschirrkorb,Laufschienen
5be304e4b1264abb899df2e434e01a2c,436592444c584ad1b5a679fc5ac3ef73,275b77c77344470ea771c19b8b2780c9,57744a862ec54b4d9831aa184f6b9a81,dc70c27085934cb5acc4cd088fc0a361
Laufschienenanschlag vorne AEG 152047941/9 für Geschirrspüler 1520479302
10003953

Laufschienenanschlag vorne AEG 152047941/9 für Geschirrspüler

Diese Klammer bzw. dieses Endstück vorne für die Korbrollen-Führungsschiene ist u.a. auch passend wie Fagor Brandt 32X0746 , Küppersbusch 442221 , EFS-Gruppe/Foron.. 615015735


Dieses Ersatzteil passt exakt wie das Vorgänger-Teil mit der Herstellernummer 1520479302

Laufschienen
5be304e4b1264abb899df2e434e01a2c,436592444c584ad1b5a679fc5ac3ef73,275b77c77344470ea771c19b8b2780c9,57744a862ec54b4d9831aa184f6b9a81
Anschlag für Geschirrspülerkörbe (1520479419)
344811
Geschirrkorb,Laufschienen
5be304e4b1264abb899df2e434e01a2c,436592444c584ad1b5a679fc5ac3ef73,275b77c77344470ea771c19b8b2780c9,57744a862ec54b4d9831aa184f6b9a81,dc70c27085934cb5acc4cd088fc0a361
BESTECKKORB, GRAU, 265X222X70 1170388233
618701
BESTECKKORB, GRAU, 265X222X70 1170388233

Besteckkorb
5be304e4b1264abb899df2e434e01a2c,436592444c584ad1b5a679fc5ac3ef73,275b77c77344470ea771c19b8b2780c9,95f1235cef6842fd8204f1fb4ca40fa1
Korbrolle für Unterkorb, 1 Stück 5026992300 AEG, Electrolux, Juno, Zanussi
152493
Korbrolle AEG 5026992300/4 für Unterkorb Geschirrkorb unten Geschirrspüler 1Stk

Weiße ersetzt graue Ausführung.
Korbrollenset mit 8 Stück siehe Europart-Nr. 106357 Korbrollen
5be304e4b1264abb899df2e434e01a2c,436592444c584ad1b5a679fc5ac3ef73,275b77c77344470ea771c19b8b2780c9,450633de653e4f9da61d6353aa2de5a4
Korbrolle wie AEG 5026992300/4 für Unterkorb Geschirrkorb unten Geschirrspüler 1Stk
375478
Korbrolle wie AEG 5026992300/4 für Unterkorb Geschirrkorb unten Geschirrspüler 1Stk

AlternativTeil passend u.a. wie Electrolux-Konzern/AEG.. 5026992300/4 , EFS-Gruppe 615007508 , Küppersbusch 426347
Weiße ersetzt graue Ausführung. Korbrollen
5be304e4b1264abb899df2e434e01a2c,436592444c584ad1b5a679fc5ac3ef73,275b77c77344470ea771c19b8b2780c9,450633de653e4f9da61d6353aa2de5a4
Salzeinfülltrichter AEG 14004429501/6 für Geschirrspüler 1172107300
10004170

Salzeinfülltrichter AEG 14004429501/6 für Geschirrspüler

Diese Einfüllhilfe für das Salz ist u.a. auch passend wie Küppersbusch 434959 , Fagor Brandt 31X9840


Dieses Ersatzteil passt exakt wie das Vorgänger-Teil mit der Herstellernummer 1172107300

Zubehör,Salzbehälter
5be304e4b1264abb899df2e434e01a2c,436592444c584ad1b5a679fc5ac3ef73,275b77c77344470ea771c19b8b2780c9,5ae60379a8ad4940a07e4c25cb127c70,e3df607a8730419d92d273dd5fd68b86
Dichtung für Salzbehälter, 70mmØ 152527400 AEG, Electrolux, Juno, Zanussi
156389
Salzbehälterdichtung AEG 152527400/5 70mmØ für Geschirrspüler

Befindet sich unter der Salzverschlusskappe an der Enthärtungsanlage (Salzbehälter). Dichtungen,Salzbehälter
5be304e4b1264abb899df2e434e01a2c,436592444c584ad1b5a679fc5ac3ef73,275b77c77344470ea771c19b8b2780c9,3e9cf2ee74bd425fac13ec3e5bed7e89,e3df607a8730419d92d273dd5fd68b86
Korbrolle unten rechts hinten für Geschirrspüler (1522825106)
344893
STIFT, RECHTS, ROELLCHEN KORB 1522825106

Korbrollen
5be304e4b1264abb899df2e434e01a2c,436592444c584ad1b5a679fc5ac3ef73,275b77c77344470ea771c19b8b2780c9,450633de653e4f9da61d6353aa2de5a4
Dichtung AEG 5065923100/0 78mmØ für Wassertasche Druckwächtergefäß Geschirrspüler
339962
Dichtung AEG 5065923100/0 78mmØ für Wassertasche Druckwächtergefäß Geschirrspüler

Passend auch wie Küppersbusch 425060

Dichtungen,Druckwächter
5be304e4b1264abb899df2e434e01a2c,436592444c584ad1b5a679fc5ac3ef73,275b77c77344470ea771c19b8b2780c9,3e9cf2ee74bd425fac13ec3e5bed7e89,80715576eae74b94b5a81231f463113a
Gerätefußführung für verstellbaren Fuß Mitte Electrolux 152324101/4 für Geschirrspüler
157572
Gerätefußführung für verstellbaren Fuß Mitte Electrolux 152324101/4 für Geschirrspüler

Diese Führung trägt den mittleren verstellbaren Fuß und dient zur waagerechten Ausrichtung und Stabilisierung des Geschirrspülers. Sockel
5be304e4b1264abb899df2e434e01a2c,436592444c584ad1b5a679fc5ac3ef73,275b77c77344470ea771c19b8b2780c9,6f6cb264a587449d8d5189e2be8578e3
Laufschienenanschlag Küppersbusch 442221 für Geschirrspüler
608564
Laufschienenanschlag Küppersbusch 442221 für Geschirrspüler

Klammer bzw. Endstück vorne für die Korbrollen-Führungsschiene.
Passend u.a. auch wie Fagor Brandt 32X0746 , Electrolux-Konzern/AEG.. 1520479419 , EFS-Gruppe/Foron.. 615015735 Laufschienen
5be304e4b1264abb899df2e434e01a2c,436592444c584ad1b5a679fc5ac3ef73,275b77c77344470ea771c19b8b2780c9,57744a862ec54b4d9831aa184f6b9a81
Linker Korbrollenzapfen (1522825007)
344892
STIFT, LINKS, ROELLCHEN KORB 1522825007

Korbrollen
5be304e4b1264abb899df2e434e01a2c,436592444c584ad1b5a679fc5ac3ef73,275b77c77344470ea771c19b8b2780c9,450633de653e4f9da61d6353aa2de5a4
Ablaufschlauch für Geschirrspüler (1523495008)
344914
Ablaufrohr, L=1750 1523495008

Schlauch
5be304e4b1264abb899df2e434e01a2c,436592444c584ad1b5a679fc5ac3ef73,275b77c77344470ea771c19b8b2780c9,40ee0815bd1042dfa6b07fc66864eca1
Türdichtung 1-seitig unten 152089000 AEG, Electrolux, Juno, Zanussi
156171
Türdichtung AEG 152089000/3 Schürzendichtung unten für Geschirrspüler

Türdichtung
5be304e4b1264abb899df2e434e01a2c,436592444c584ad1b5a679fc5ac3ef73,275b77c77344470ea771c19b8b2780c9,916ee1c443ef40e4851d064c573dca26
Türgrifffeder 152044600 AEG, Electrolux, Juno, Zanussi
155770
Türgrifffeder Electrolux 152044600/4 für Geschirrspüler

OT: OriginalTeil Electrolux-Konzern/AEG/Zanussi.. 152044600/4 Türfeder
5be304e4b1264abb899df2e434e01a2c,436592444c584ad1b5a679fc5ac3ef73,275b77c77344470ea771c19b8b2780c9,583b7157222f4fd4a1a8d58d676ddcec
Filter (1521449007)
344831
Sieb
5be304e4b1264abb899df2e434e01a2c,436592444c584ad1b5a679fc5ac3ef73,275b77c77344470ea771c19b8b2780c9,6203423ecb63427694d641813b307aa8
Unterer Geschirrspüler-Sprüharm (50246094002)
353697
Sprüharm
5be304e4b1264abb899df2e434e01a2c,436592444c584ad1b5a679fc5ac3ef73,275b77c77344470ea771c19b8b2780c9,8a26d46fbdc34633b4fe038be27b486c
Einspuelbeh. 482000018729
607576
Einspuelbeh. 482000018729

Sondersortiment
5be304e4b1264abb899df2e434e01a2c,436592444c584ad1b5a679fc5ac3ef73,275b77c77344470ea771c19b8b2780c9,c8777649a8d244adbf3354e7205bc8a8
Verschlussring für oberen Sprüharm, für Geschirrspüler (1522785011)
344890
Sprüharm
5be304e4b1264abb899df2e434e01a2c,436592444c584ad1b5a679fc5ac3ef73,275b77c77344470ea771c19b8b2780c9,8a26d46fbdc34633b4fe038be27b486c
Bedienfeld-Federklappe für Geschirrspüler (1521535029)
344839
Türfeder
5be304e4b1264abb899df2e434e01a2c,436592444c584ad1b5a679fc5ac3ef73,275b77c77344470ea771c19b8b2780c9,583b7157222f4fd4a1a8d58d676ddcec
Steigrohr (1521459022)
344833
Säule, Befestigung, Ablauffilter 1521459022

Schlauch
5be304e4b1264abb899df2e434e01a2c,436592444c584ad1b5a679fc5ac3ef73,275b77c77344470ea771c19b8b2780c9,40ee0815bd1042dfa6b07fc66864eca1
Verteilerdose für Geschirrspüler (1521594000)
344849
Steuerung
5be304e4b1264abb899df2e434e01a2c,436592444c584ad1b5a679fc5ac3ef73,275b77c77344470ea771c19b8b2780c9,a0310176b38b40b4be1c70508f25f455
Kit, Distanzausgleich, Braun (1521798239)
344851
Gehäuseteile
5be304e4b1264abb899df2e434e01a2c,436592444c584ad1b5a679fc5ac3ef73,275b77c77344470ea771c19b8b2780c9,6f364c83e8954316926998e24fee04f5
Wasserverteilermutter für Geschirrspüler (50286080002)
354257
Mutter, Wasserweiche

Zubehör
5be304e4b1264abb899df2e434e01a2c,436592444c584ad1b5a679fc5ac3ef73,275b77c77344470ea771c19b8b2780c9,5ae60379a8ad4940a07e4c25cb127c70
Bremsplatte (50272190005)
353973
Gehäuseteile
5be304e4b1264abb899df2e434e01a2c,436592444c584ad1b5a679fc5ac3ef73,275b77c77344470ea771c19b8b2780c9,6f364c83e8954316926998e24fee04f5
Innere Türführung für Geschirrspüler (1525272108)
344976
Tür
5be304e4b1264abb899df2e434e01a2c,436592444c584ad1b5a679fc5ac3ef73,275b77c77344470ea771c19b8b2780c9,b3a18cc8734147fcaa878cba5c92088e
Quertraeger (50205012003)
353426
Sonstige Gehäuseteile
5be304e4b1264abb899df2e434e01a2c,436592444c584ad1b5a679fc5ac3ef73,6d0b034684f448a88e441e35d5a01b2b,efdfc43389f84879837099e9544f7336
Mutterdichtung für Geschirrspüler (1522802006)
344891
Dichtungsband

Sprüharm,Dichtungen
5be304e4b1264abb899df2e434e01a2c,436592444c584ad1b5a679fc5ac3ef73,275b77c77344470ea771c19b8b2780c9,3e9cf2ee74bd425fac13ec3e5bed7e89,8a26d46fbdc34633b4fe038be27b486c
Vordere Dichtung für Geschirrspülerpumpen (1520292002)
344797
Dichtungen
5be304e4b1264abb899df2e434e01a2c,436592444c584ad1b5a679fc5ac3ef73,275b77c77344470ea771c19b8b2780c9,3e9cf2ee74bd425fac13ec3e5bed7e89
Türscharnierfeder für Geschirrspüler (1520304013)
344799
Türscharnier
5be304e4b1264abb899df2e434e01a2c,436592444c584ad1b5a679fc5ac3ef73,275b77c77344470ea771c19b8b2780c9,8c476ac1fee2492eac0ace43254db03a
Entst@Rkondensator (1521029106)
344823
Kondensator,Entstörfilter
5be304e4b1264abb899df2e434e01a2c,436592444c584ad1b5a679fc5ac3ef73,275b77c77344470ea771c19b8b2780c9,47067e90b5dc4b1d9f40bc3cdd7c85c3,3017057ce80b4d85aae42a1e4928e81a,30aa66097c004838b3a6278bd124e95f,354c94c26be947c7a4cdf13cf039b3e5
Rote Kontrolllampe für Geschirrspüler (50286226001)
354265
Bedienteil
5be304e4b1264abb899df2e434e01a2c,436592444c584ad1b5a679fc5ac3ef73,275b77c77344470ea771c19b8b2780c9,6930dd2ea7744e0eaca3dce9b44bb0d4
Heizelementabdeckung für Geschirrspüler (1523887006)
359552
Heizelement
5be304e4b1264abb899df2e434e01a2c,436592444c584ad1b5a679fc5ac3ef73,275b77c77344470ea771c19b8b2780c9,1c35d1dd9f3c49b5a64535a632fbcdf9
Dichtung Wassersammler 5020191500 AEG, Electrolux, Juno, Zanussi
173525
Dichtung Wassersammler eingesetzt in Spülmaschinen

Originalteil: Electrolux-Konzern/AEG 5020191500/1
Zubehör
5be304e4b1264abb899df2e434e01a2c,436592444c584ad1b5a679fc5ac3ef73,275b77c77344470ea771c19b8b2780c9,5ae60379a8ad4940a07e4c25cb127c70
Zahnrad für Geschirrspüler (1523261004)
344906
Sockel
5be304e4b1264abb899df2e434e01a2c,436592444c584ad1b5a679fc5ac3ef73,275b77c77344470ea771c19b8b2780c9,6f6cb264a587449d8d5189e2be8578e3
Schutz für die obere Front der Geschirrspüler (1522879129)
344894
Gehäuseteile
5be304e4b1264abb899df2e434e01a2c,436592444c584ad1b5a679fc5ac3ef73,275b77c77344470ea771c19b8b2780c9,6f364c83e8954316926998e24fee04f5
Fußgleiter für Geschirrspüler (1523242004)
344904
Sockel
5be304e4b1264abb899df2e434e01a2c,436592444c584ad1b5a679fc5ac3ef73,275b77c77344470ea771c19b8b2780c9,6f6cb264a587449d8d5189e2be8578e3
Buchsenstopfen für Geschirrspüler (50223901005)
353492
Gehäuseteile
5be304e4b1264abb899df2e434e01a2c,436592444c584ad1b5a679fc5ac3ef73,275b77c77344470ea771c19b8b2780c9,6f364c83e8954316926998e24fee04f5
Tastaturhalterung für Geschirrspüler (1520645019)
344814
Bedienteil
5be304e4b1264abb899df2e434e01a2c,436592444c584ad1b5a679fc5ac3ef73,275b77c77344470ea771c19b8b2780c9,6930dd2ea7744e0eaca3dce9b44bb0d4
Geschirrkorb unten Electrolux 140180056115 für Geschirrspüler
10032629

GESCHIRRKORB,BODEN,GRAU,372X51 140180056115 Originalersatzteil von AEG

Originalteil von AEG GESCHIRRKORB,BODEN,GRAU,372X51 140180056115

Geschirrkorb
5be304e4b1264abb899df2e434e01a2c,436592444c584ad1b5a679fc5ac3ef73,275b77c77344470ea771c19b8b2780c9,dc70c27085934cb5acc4cd088fc0a361
Schiene für oberen Geschirrkorb (1520512052)
344813

Korbschiene, oben 1520512052

Laufschienen
5be304e4b1264abb899df2e434e01a2c,436592444c584ad1b5a679fc5ac3ef73,275b77c77344470ea771c19b8b2780c9,57744a862ec54b4d9831aa184f6b9a81
Salzkappe für Geschirrspüler 1520251412 Originalersatzteil von AEG
10032946

Salzkappe für Geschirrspüler 1520251412 Originalersatzteil von AEG

Originalteil von AEG Salzkappe für Geschirrspüler 1520251412

Salzbehälter
5be304e4b1264abb899df2e434e01a2c,436592444c584ad1b5a679fc5ac3ef73,275b77c77344470ea771c19b8b2780c9,e3df607a8730419d92d273dd5fd68b86
Ringmutter für oberen Geschirrspüler-Sprüharm (1522783008)
344889
Sperring/Zwinge, Sprüharm, oben

Sprüharm
5be304e4b1264abb899df2e434e01a2c,436592444c584ad1b5a679fc5ac3ef73,275b77c77344470ea771c19b8b2780c9,8a26d46fbdc34633b4fe038be27b486c
88010668 21307 SCHIENE OBERKORB
6573732
88010668 21307 SCHIENE OBERKORB Befestigungsteile,Halterungen/ Halter
f71f8cec9fb74b7dbf6f3e660a16b372,61253e0b4eb644bfbfeae5eaec6a2d25
425060 DICHTUNG
7383656
425060 DICHTUNG Dichtungen
8a591e395d7a4bf7bd2c3fca81ae2d8c
434466 STÜTZWINKEL GRAU
7389663
434466 STÜTZWINKEL GRAU Rad/Rollen
450633de653e4f9da61d6353aa2de5a4
49303 TRICHTER GESCHIRRSPÜLER SALZBEHÄLTER
D414945
49303 TRICHTER GESCHIRRSPÜLER SALZBEHÄLTER Zubehörteile
97c8d5eb084144cabe0dfd60724c0aa2
4055499448 KUNSTSTOFF DAMPFSCHUTZ L=750
R694735
4055499448 KUNSTSTOFF DAMPFSCHUTZ L=750 Gehäuseteile
3ff1bad0d4ca47bbb8b0066a036a84d2
681411179 GESCHIRRKORB, BODEN
U137326
681411179 GESCHIRRKORB, BODEN Gehäuseteile,Korb,Geschirrkorb
3ff1bad0d4ca47bbb8b0066a036a84d2,bf2f260ba7b945469083e5e4a6d63380,dc70c27085934cb5acc4cd088fc0a361
681411181 BESTECKKORB
U137328
681411181 BESTECKKORB Gehäuseteile,Korb,Besteckkörbe
3ff1bad0d4ca47bbb8b0066a036a84d2,bf2f260ba7b945469083e5e4a6d63380,95f1235cef6842fd8204f1fb4ca40fa1
764250070 TRICHTER SALZ
U140180
764250070 TRICHTER SALZ Zubehörteile
97c8d5eb084144cabe0dfd60724c0aa2
768976023 ANSCHLAG KORBSCHIENE VORN
U140506
768976023 ANSCHLAG KORBSCHIENE VORN
1052451 DICHTUNGEN
U693378
1052451 DICHTUNGEN Dichtungen
8a591e395d7a4bf7bd2c3fca81ae2d8c
1052476 DICHTUNGSRINGE
U693392
1052476 DICHTUNGSRINGE Dichtungen
8a591e395d7a4bf7bd2c3fca81ae2d8c
1052479 HALTERUNGEN/HALTER
U693394
1052479 HALTERUNGEN/HALTER Befestigungsteile,Halterungen/ Halter
f71f8cec9fb74b7dbf6f3e660a16b372,61253e0b4eb644bfbfeae5eaec6a2d25
50201915001 DICHTUNG WASSERSAMMLER
283728
50201915001 DICHTUNG WASSERSAMMLER Dichtungen
8a591e395d7a4bf7bd2c3fca81ae2d8c
1520295013 ROHR, GEBOGEN
3570418
1520295013 ROHR, GEBOGEN
88010786 356200 BESTECKKORB
6573850
88010786 356200 BESTECKKORB Gehäuseteile,Korb,Besteckkörbe
3ff1bad0d4ca47bbb8b0066a036a84d2,bf2f260ba7b945469083e5e4a6d63380,95f1235cef6842fd8204f1fb4ca40fa1
425654 HALTER 425792
7384177
425654 HALTER 425792 Führung/ Schiene
f71f8cec9fb74b7dbf6f3e660a16b372
425713 FEDER GRIFF SPERRKLINKE
7384230
425713 FEDER GRIFF SPERRKLINKE Federn
583b7157222f4fd4a1a8d58d676ddcec
426721 VERSTÄRKUNG ROLLENHALTER
7385138
426721 VERSTÄRKUNG ROLLENHALTER Befestigungsteile,Halterungen/ Halter
f71f8cec9fb74b7dbf6f3e660a16b372,61253e0b4eb644bfbfeae5eaec6a2d25
435554 FUGENABDECKUNG SEITLICH
8408606
435554 FUGENABDECKUNG SEITLICH Gehäuseteile
3ff1bad0d4ca47bbb8b0066a036a84d2
435320 BESTECKKORB GRAU
8828174
435320 BESTECKKORB GRAU Gehäuseteile,Korb,Besteckkörbe
3ff1bad0d4ca47bbb8b0066a036a84d2,bf2f260ba7b945469083e5e4a6d63380,95f1235cef6842fd8204f1fb4ca40fa1
694132853 RUNDDICHTUNG,WANNE
U138570
694132853 RUNDDICHTUNG,WANNE Dichtungen
8a591e395d7a4bf7bd2c3fca81ae2d8c
ersatzteilshop.de
4.9
Trustpilot Rating
basierend auf 8475 zertifizierten Bewertungen von zufriedenen Kunden
powered by Google and Trustpilot
Heinz-Werner Engels
Heinz-Werner Engels vor 3 Wochen
Super schnelle Lieferung des so viel preisgünstigeren Alternativ-Ersatzteils. Austausch gut geklappt. Das Ventil passt einwandfrei, eine gute und günstige Reparatur unserer alten Waschmaschine. Meine Frau ist wieder happy.
Bernd Ungethüm
Bernd Ungethüm vor 2 Wochen
Sehr schnelle und gute Lieferung. Kohlefilter mit Rahmen 00460478 passt perfekt zu Unterbauhaube von Bosch DHS 630S entgegen der Aussage im Onlineshop. Bin sehr zufrieden. Paket kam leider vor der Versandinformationen. Aber besser so als Umgekehrt. Werde mir noch 2 reine Kohlefilter bestellen. Firma ist sehr empfehlenswert.
Alexander W.
Alexander W. vor 3 Monaten
Es muss nicht immer alles aus dem Amazonas kommen. Auf der Suche nach einer neuen Laugenpumpe für meine Waschmaschine bin ich auf den Ersatzteilshop aufmerksam geworden. Produktnummern, Modelle, etc. wurden gut sortiert und übersichtlich aufgeführt, sodass ich selbst als Laie mit hoher Zuverlässigkeit ein passendes Ersatzteil auswählen konnte. Der Versand lief reibungslos und schnell mit DHL. Bereits nächsten Tag kam das Paket und die Waschmaschine läuft wieder. Ich bin sehr zufrieden und freue mich, dass so ein tolles Angebot sogar aus meiner Heimat kommt. Hätte ich das vorher gesehen, wäre ich einfach persönlich vorbei gekommen. 🤣 Danke für euer tolles Angebot.
Ganevs
Ganevs vor 3 Monaten
Hätte nicht erwartet, für einen ü20 Jahre alten Backofen von Bauknecht noch passende Ersatzteile zu bekommen. Bin hier fündig geworden, das Ersatzteil (Bedieneinheit) passt, der Backofen hat keine Macken mehr. Top! Versand und Kommunikation auch sehr gut! Danke!
Lars Kreimendahl
Lars Kreimendahl vor einer Woche
Die Ersatzteile lassen sich auf der Webseite mit Hilfe des Typenschildes kinderleicht finden. Im Warenkorb lässt sich ebenso nochmals ein Abgleich vornehmen. Die Lieferung erfolgte innerhalb weniger Tage. Der Einbau war etwas fummelig aber mit Geduld gut machbar. Die Installationsvideos helfen a den benötigten Stellen.
Mehr ansehen >
Trustpilot
Trustpilot Rating
Hervorragend
4.9/5.00